0
TLV320AIC1106
  • TLV320AIC1106
  • TLV320AIC1106

TLV320AIC1106

ACTIVE

PCM Codec With Microphone Amps & Speaker Driver

Texas Instruments TLV320AIC1106 Product Info

1 April 2026 0

Parameters

Number of ADC channels

1

Number of DAC channels

1

Digital audio interface

PCM

Analog inputs

1

Analog outputs

1

Sampling rate (max) (kHz)

8

Rating

Catalog

ADC SNR (typ) (dB)

0

DAC SNR (typ) (dB)

0

Operating temperature range (°C)

-40 to 85

Package

TSSOP (PW)-20-41.6 mm² 6.5 x 6.4

Features

  • Designed for Analog and Digital Wireless Handsets, Voice-Enabled Terminals, and Telecommunications Applications
  • 2.7-V to 3.3-V Operation
  • Selectable 13-Bit Linear or 8-Bit u-Law Companded Conversion
  • Differential Microphone Input With External Gain Setting
  • Differential Earphone Output Capable of Driving a 32- Load
  • Programmable Volume Control in Linear Mode
  • Microphone (MIC) and Earphone (EAR) Mute Functions
  • Typical Power Dissipation of 0.03 mW in Power-Down Mode
  • 2.048-MHz Master Clock Rate
  • 300-Hz to 3.4-kHz Passband
  • Low Profile 20-Terminal TSSOP Packaging
  • APPLICATIONS
    • Digital Handset
    • Digital Headset
    • Cordless Phones
    • Digital PABX
    • Digital Voice Recording

  • Designed for Analog and Digital Wireless Handsets, Voice-Enabled Terminals, and Telecommunications Applications
  • 2.7-V to 3.3-V Operation
  • Selectable 13-Bit Linear or 8-Bit u-Law Companded Conversion
  • Differential Microphone Input With External Gain Setting
  • Differential Earphone Output Capable of Driving a 32- Load
  • Programmable Volume Control in Linear Mode
  • Microphone (MIC) and Earphone (EAR) Mute Functions
  • Typical Power Dissipation of 0.03 mW in Power-Down Mode
  • 2.048-MHz Master Clock Rate
  • 300-Hz to 3.4-kHz Passband
  • Low Profile 20-Terminal TSSOP Packaging
  • APPLICATIONS
    • Digital Handset
    • Digital Headset
    • Cordless Phones
    • Digital PABX
    • Digital Voice Recording

Description

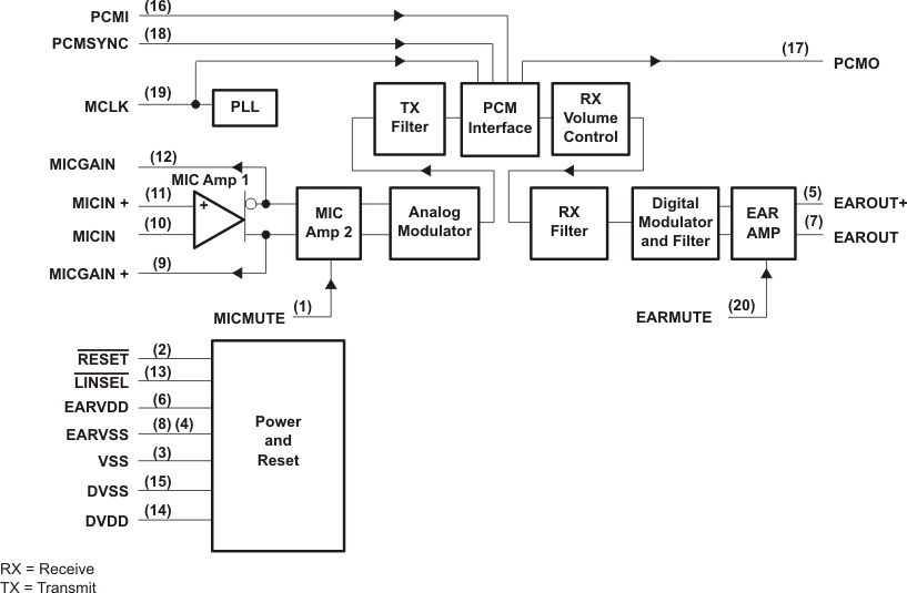
The TLV320AIC1106 PCM codec is designed to perform transmit encoding analog-to-digital (A/D) conversion, receive decoding digital-to-analog (D/A) conversion, and transmit and receive filtering for voice-band communications systems. The TLV320AIC1106 device operates in either the 13-bit linear or 8-bit companded (u-law) mode. The PCM codec generates its own internal clocks from a 2.048-MHz master clock input.

The TLV320AIC1106 PCM codec is designed to perform transmit encoding analog-to-digital (A/D) conversion, receive decoding digital-to-analog (D/A) conversion, and transmit and receive filtering for voice-band communications systems. The TLV320AIC1106 device operates in either the 13-bit linear or 8-bit companded (u-law) mode. The PCM codec generates its own internal clocks from a 2.048-MHz master clock input.