0
SN74AVC2T45-Q1
  • SN74AVC2T45-Q1
  • SN74AVC2T45-Q1

SN74AVC2T45-Q1

ACTIVE

Automotive Dual-Bit Dual-Supply Bus Transceiver with Config Voltage Translation and 3-State

Texas Instruments SN74AVC2T45-Q1 Product Info

1 April 2026 0

Parameters

Bits (#)

2

Data rate (max) (Mbps)

500

Topology

Push-Pull

Direction control (typ)

Direction-controlled

Vin (min) (V)

1.2

Vin (max) (V)

3.6

Vout (min) (V)

1.2

Vout (max) (V)

3.6

Applications

GPIO

Features

Overvoltage tolerant inputs, Partial power down (Ioff)

Technology family

AVC

Supply current (max) (mA)

0.02

Rating

Automotive

Operating temperature range (°C)

-40 to 105

Package

VSSOP (DCU)-8-6.2 mm² 2 x 3.1

Features

  • Qualified for automotive applications
  • Control inputs VIH/VIL levels are referenced to VCCA voltage
  • Fully configurable dual-rail design allows each port to operate over the full 1.2V to 3.6V power-supply range
  • Operating temperature from -40°C to 105°C

  • I/Os are 4.6V tolerant
  • Ioff supports partial-power-down mode operation
  • Maximum data rates
    • 500Mbps (1.8V to 3.3V translation)
    • 320Mbps (< 1.8V to 3.3V translation)
    • 320Mbps (translate to 2.5V or 1.8V)
    • 280Mbps (translate to 1.5V)
    • 240Mbps (translate to 1.2V)
  • Latch-up performance exceeds 100mA per JESD 78, Class II
  • ESD protection exceeds JESD 22
    • 8000V human-body model (A114-A)
    • 200V machine model (A115-A)
    • 1000V charged-device model (C101)
  • Qualified for automotive applications
  • Control inputs VIH/VIL levels are referenced to VCCA voltage
  • Fully configurable dual-rail design allows each port to operate over the full 1.2V to 3.6V power-supply range
  • Operating temperature from -40°C to 105°C

  • I/Os are 4.6V tolerant
  • Ioff supports partial-power-down mode operation
  • Maximum data rates
    • 500Mbps (1.8V to 3.3V translation)
    • 320Mbps (< 1.8V to 3.3V translation)
    • 320Mbps (translate to 2.5V or 1.8V)
    • 280Mbps (translate to 1.5V)
    • 240Mbps (translate to 1.2V)
  • Latch-up performance exceeds 100mA per JESD 78, Class II
  • ESD protection exceeds JESD 22
    • 8000V human-body model (A114-A)
    • 200V machine model (A115-A)
    • 1000V charged-device model (C101)

Description

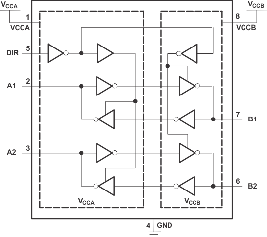
This dual-bit noninverting bus transceiver uses two separate configurable power-supply rails. The A port is designed to track VCCA. VCCA accepts any supply voltage from 1.2V to 3.6V. The B port is designed to track VCCB. VCCB accepts any supply voltage from 1.2V to 3.6V. This allows for universal low-voltage bidirectional translation between any of the 1.2V, 1.5V, 1.8V, 2.5V, and 3.3V voltage nodes.

The SN74AVC2T45 is designed for asynchronous communication between two data buses. The logic levels of the direction-control (DIR) input activate either the B-port outputs or the A-port outputs. The device transmits data from the A bus to the B bus when the B-port outputs are activated and from the B bus to the A bus when the A-port outputs are activated. The input circuitry on both A and B ports always is active and must have a logic HIGH or LOW level applied to prevent excess ICC and ICCZ.

The SN74AVC2T45 is designed so that the DIR input is powered by VCCA.

This device is fully specified for partial-power-down applications using Ioff. The Ioff circuitry disables the outputs, preventing damaging current backflow through the device when powered down.

The VCC isolation feature makes sure that if either VCC input is at GND, both ports are in the high-impedance state.

This dual-bit noninverting bus transceiver uses two separate configurable power-supply rails. The A port is designed to track VCCA. VCCA accepts any supply voltage from 1.2V to 3.6V. The B port is designed to track VCCB. VCCB accepts any supply voltage from 1.2V to 3.6V. This allows for universal low-voltage bidirectional translation between any of the 1.2V, 1.5V, 1.8V, 2.5V, and 3.3V voltage nodes.

The SN74AVC2T45 is designed for asynchronous communication between two data buses. The logic levels of the direction-control (DIR) input activate either the B-port outputs or the A-port outputs. The device transmits data from the A bus to the B bus when the B-port outputs are activated and from the B bus to the A bus when the A-port outputs are activated. The input circuitry on both A and B ports always is active and must have a logic HIGH or LOW level applied to prevent excess ICC and ICCZ.

The SN74AVC2T45 is designed so that the DIR input is powered by VCCA.

This device is fully specified for partial-power-down applications using Ioff. The Ioff circuitry disables the outputs, preventing damaging current backflow through the device when powered down.

The VCC isolation feature makes sure that if either VCC input is at GND, both ports are in the high-impedance state.

Subscribe to Welllinkchips !
Your Name
* Email
Submit a request