0
SN65LVDS93B
  • SN65LVDS93B
  • SN65LVDS93B

SN65LVDS93B

ACTIVE

10 MHz - 85 MHz LVDS Serdes Transmitter

Texas Instruments SN65LVDS93B Product Info

1 April 2026 0

Parameters

Protocols

Catalog

Rating

Catalog

Operating temperature range (°C)

-40 to 85

Package

TSSOP (DGG)-56-113.4 mm² 14 x 8.1

Features

  • Industrial Temperature Range –40°C to 85°C
  • LVDS Display Serdes Interfaces Directly to LCD Display Panels With Integrated LVDS
  • Package Options: 8.1-mm × 14-mm TSSOP
  • 1.8 V up to 3.3-V Tolerant Data Inputs to Connect Directly to Low-Power, Low-Voltage Application and Graphic Processors
  • Transfer Rate up to 85 Mpps (Mega Pixels Per Second); Pixel Clock Frequency Range 10 MHz to 85 MHz; Max 2.38 Gbps data rate supported
  • Suited for Display Resolutions Ranging From HVGA up to HD With Low EMI
  • Operates From a Single 3.3-V Supply and 170 mW (Typical) at 75 MHz
  • 28 Data Channels Plus Clock In Low-Voltage TTL to 4 Data Channels Plus Clock Out Low-Voltage Differential
  • Consumes Less Than 1 mW When Disabled
  • Selectable Rising or Falling Clock Edge Triggered Inputs
  • ESD: 5-kV HBM
  • Supports Spread Spectrum Clocking (SSC)
  • Supports RGB 888 to LVDS I Conversion
  • Industrial Temperature Range –40°C to 85°C
  • LVDS Display Serdes Interfaces Directly to LCD Display Panels With Integrated LVDS
  • Package Options: 8.1-mm × 14-mm TSSOP
  • 1.8 V up to 3.3-V Tolerant Data Inputs to Connect Directly to Low-Power, Low-Voltage Application and Graphic Processors
  • Transfer Rate up to 85 Mpps (Mega Pixels Per Second); Pixel Clock Frequency Range 10 MHz to 85 MHz; Max 2.38 Gbps data rate supported
  • Suited for Display Resolutions Ranging From HVGA up to HD With Low EMI
  • Operates From a Single 3.3-V Supply and 170 mW (Typical) at 75 MHz
  • 28 Data Channels Plus Clock In Low-Voltage TTL to 4 Data Channels Plus Clock Out Low-Voltage Differential
  • Consumes Less Than 1 mW When Disabled
  • Selectable Rising or Falling Clock Edge Triggered Inputs
  • ESD: 5-kV HBM
  • Supports Spread Spectrum Clocking (SSC)
  • Supports RGB 888 to LVDS I Conversion

Description

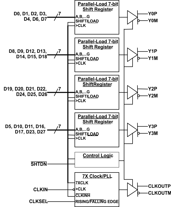
The SN65LVDS93B LVDS SerDes (serializer/deserializer) transmitter contains four 7-bit parallel load serial-out shift registers, a 7 × clock synthesizer, and five low-voltage differential signaling (LVDS) drivers in a single integrated circuit. These functions allow synchronous transmission of 28 bits of single-ended LVTTL data over five balanced-pair conductors for receipt by a compatible receiver, such as the DS90CR286A and SN65LVDS94.

When transmitting, data bits D0 through D27 are each loaded into registers upon the edge of the input clock signal (CLKIN). The rising or falling edge of the clock can be selected through the clock select (CLKSEL) pin. The frequency of CLKIN is multiplied seven times and then used to serially unload the data registers in 7-bit slices. The four serial streams and a phase-locked clock (CLKOUT) are then output to LVDS output drivers. The frequency of CLKOUT is the same as the input clock, CLKIN.

The SN65LVDS93B device requires no external components and little or no control. The data bus appears the same at the input to the transmitter and output of the receiver with the data transmission transparent to the users. The only user intervention is selecting a clock rising edge by inputting a high level to CLKSEL or a falling edge with a low-level input and the possible use of the shutdown/clear (SHTDN) signal. SHTDN is an active-low input to inhibit the clock and shut off the LVDS output drivers for lower power consumption. A low level on this signal clears all internal registers at a low level.

The SN65LVDS93B is characterized for operation over ambient air temperatures of –40°C to 85°C.

The SN65LVDS93B LVDS SerDes (serializer/deserializer) transmitter contains four 7-bit parallel load serial-out shift registers, a 7 × clock synthesizer, and five low-voltage differential signaling (LVDS) drivers in a single integrated circuit. These functions allow synchronous transmission of 28 bits of single-ended LVTTL data over five balanced-pair conductors for receipt by a compatible receiver, such as the DS90CR286A and SN65LVDS94.

When transmitting, data bits D0 through D27 are each loaded into registers upon the edge of the input clock signal (CLKIN). The rising or falling edge of the clock can be selected through the clock select (CLKSEL) pin. The frequency of CLKIN is multiplied seven times and then used to serially unload the data registers in 7-bit slices. The four serial streams and a phase-locked clock (CLKOUT) are then output to LVDS output drivers. The frequency of CLKOUT is the same as the input clock, CLKIN.

The SN65LVDS93B device requires no external components and little or no control. The data bus appears the same at the input to the transmitter and output of the receiver with the data transmission transparent to the users. The only user intervention is selecting a clock rising edge by inputting a high level to CLKSEL or a falling edge with a low-level input and the possible use of the shutdown/clear (SHTDN) signal. SHTDN is an active-low input to inhibit the clock and shut off the LVDS output drivers for lower power consumption. A low level on this signal clears all internal registers at a low level.

The SN65LVDS93B is characterized for operation over ambient air temperatures of –40°C to 85°C.

Subscribe to Welllinkchips !
Your Name
* Email
Submit a request