0
PGA5807A
  • PGA5807A
  • PGA5807A

PGA5807A

ACTIVE

High Performance, Integrated 8-channel AFE with LNA, PGA, and LPF

Texas Instruments PGA5807A Product Info

1 April 2026 1

Parameters

Device type

Receiver

Number of input channels

8

Active supply current (typ) (mA)

145

Supply voltage (max) (V)

3.6

Operating temperature range (°C)

-40 to 85

Interface type

Serial

Rating

Catalog

Package

VQFN (RGC)-64-81 mm² 9 x 9

Features

  • 8-Channel Complete AFE:
    • LNA, PGA, and LPF
    • Full-Channel Gain: 12 dB to 30 dB
    • Input-Referred Noise: 2.1 nV/√Hz
  • LNA:
    • Gain: 12 dB
    • Fully Differential
    • Wide Input Common-Mode Support:
      2.1 ± 200 mV
    • Maximum Linear Input Range: 500 mVPP
  • PGA Gain: 0 dB to 18 dB
    • With 3-dB Gain Steps
    • Programmable via Either Serial Interface or External Pins
  • Maximum Total Channel Gain: 30 dB
  • Programmable LPF:
    • Corner Frequency: 75 MHz, 60 MHz
  • Power (Full-Chain):
    • 60 mW per Channel
  • Fast and Consistent Overload Recovery
  • Small Package: 9-mm × 9-mm QFN-64
  • 8-Channel Complete AFE:
    • LNA, PGA, and LPF
    • Full-Channel Gain: 12 dB to 30 dB
    • Input-Referred Noise: 2.1 nV/√Hz
  • LNA:
    • Gain: 12 dB
    • Fully Differential
    • Wide Input Common-Mode Support:
      2.1 ± 200 mV
    • Maximum Linear Input Range: 500 mVPP
  • PGA Gain: 0 dB to 18 dB
    • With 3-dB Gain Steps
    • Programmable via Either Serial Interface or External Pins
  • Maximum Total Channel Gain: 30 dB
  • Programmable LPF:
    • Corner Frequency: 75 MHz, 60 MHz
  • Power (Full-Chain):
    • 60 mW per Channel
  • Fast and Consistent Overload Recovery
  • Small Package: 9-mm × 9-mm QFN-64

Description

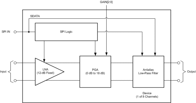
The PGA5807A is an 8-channel, high-bandwidth, analog front-end (AFE). The device functions on a single 3.3-V analog supply. The device supports high-bandwidth input frequencies with a total power of 60 mW per channel. The PGA5807A consists of a low-noise amplifier (LNA), a programmable gain amplifier (PGA), and a programmable low-pass filter (LPF). The LNA has a fixed 12-dB gain (the differential amplifier supports both direct and capacitive input coupling) and supports a maximum linear input range of 500 mVPP.

The device provides gain options from 0 dB to 18 dB, in 3-dB gain steps. This 18-dB PGA gain can be programmed using either the serial interface or external pins. The PGA5807A integrates an antialiasing filter in the form of an LPF to reduce noise. The device is available in a very small, 9-mm × 9-mm QFN-64 package and is specified for operation over the –40°C to +85°C temperature range.

The PGA5807A is an 8-channel, high-bandwidth, analog front-end (AFE). The device functions on a single 3.3-V analog supply. The device supports high-bandwidth input frequencies with a total power of 60 mW per channel. The PGA5807A consists of a low-noise amplifier (LNA), a programmable gain amplifier (PGA), and a programmable low-pass filter (LPF). The LNA has a fixed 12-dB gain (the differential amplifier supports both direct and capacitive input coupling) and supports a maximum linear input range of 500 mVPP.

The device provides gain options from 0 dB to 18 dB, in 3-dB gain steps. This 18-dB PGA gain can be programmed using either the serial interface or external pins. The PGA5807A integrates an antialiasing filter in the form of an LPF to reduce noise. The device is available in a very small, 9-mm × 9-mm QFN-64 package and is specified for operation over the –40°C to +85°C temperature range.

Subscribe to Welllinkchips !
Your Name
* Email
Submit a request