0
PCM1794A
  • PCM1794A
  • PCM1794A

PCM1794A

ACTIVE

132dB SNR Highest Performance Stereo DAC (H/W Control)

Texas Instruments PCM1794A Product Info

1 April 2026 0

Parameters

Number of DAC channels

2

Sampling rate (min) (kHz)

10

Sampling rate (max) (kHz)

192

THD+N (dB)

-108

Control interface

H/W

Resolution (Bits)

24

DAC SNR (typ) (dB)

127

Analog outputs

2

Architecture

Advanced Segment

Operating temperature range (°C)

-25 to 85

Rating

Catalog

Package

SSOP (DB)-28-79.56 mm² 10.2 x 7.8

Features

  • 24-Bit Resolution
  • Analog Performance:
    • Dynamic Range:
      • 132 dB (9 V RMS, Mono)
      • 129 dB (4.5 V RMS, Stereo)
      • 127 dB (2 V RMS, Stereo)
    • THD+N: 0.0004%
  • Differential Current Output: 7.8 mA p-p
  • 8× Oversampling Digital Filter:
    • Stop-Band Attenuation: –130 dB
    • Pass-Band Ripple: ±0.00001 dB
  • Sampling Frequency: 10 kHz to 200 kHz
  • System Clock: 128, 192, 256, 384, 512, or 768 fS
    With Autodetect
  • Accepts 16-Bit and 24-Bit Audio Data
  • PCM Data Formats: Standard, I2S, and
    Left-Justified
  • Optional Interface Available to External Digital
    Filter or DSP
  • Digital De-Emphasis
  • Digital Filter Rolloff: Sharp or Slow
  • Soft Mute
  • Zero Flag
  • Dual-Supply Operation: 5-V Analog, 3.3-V Digital
  • 5-V Tolerant Digital Inputs
  • Small 28-Pin SSOP Package

All trademarks are the property of their respective owners.

  • 24-Bit Resolution
  • Analog Performance:
    • Dynamic Range:
      • 132 dB (9 V RMS, Mono)
      • 129 dB (4.5 V RMS, Stereo)
      • 127 dB (2 V RMS, Stereo)
    • THD+N: 0.0004%
  • Differential Current Output: 7.8 mA p-p
  • 8× Oversampling Digital Filter:
    • Stop-Band Attenuation: –130 dB
    • Pass-Band Ripple: ±0.00001 dB
  • Sampling Frequency: 10 kHz to 200 kHz
  • System Clock: 128, 192, 256, 384, 512, or 768 fS
    With Autodetect
  • Accepts 16-Bit and 24-Bit Audio Data
  • PCM Data Formats: Standard, I2S, and
    Left-Justified
  • Optional Interface Available to External Digital
    Filter or DSP
  • Digital De-Emphasis
  • Digital Filter Rolloff: Sharp or Slow
  • Soft Mute
  • Zero Flag
  • Dual-Supply Operation: 5-V Analog, 3.3-V Digital
  • 5-V Tolerant Digital Inputs
  • Small 28-Pin SSOP Package

All trademarks are the property of their respective owners.

Description

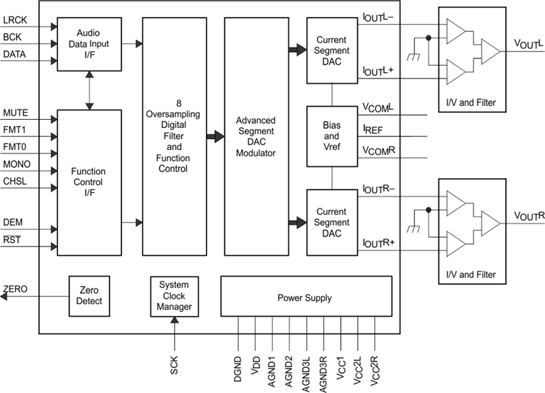
The PCM1794A device is a monolithic, CMOS-integrated circuit that includes stereo digital-to-analog converters (DACs) and support circuitry in a small 28-pin SSOP package. The data converters use TI’s advanced segment DAC architecture to achieve excellent dynamic performance and improved tolerance to clock jitter. The PCM1794A device provides balanced current outputs, allowing the user to optimize analog performance externally. Sampling rates up to 200 kHz are supported.

The PCM1794A device is a monolithic, CMOS-integrated circuit that includes stereo digital-to-analog converters (DACs) and support circuitry in a small 28-pin SSOP package. The data converters use TI’s advanced segment DAC architecture to achieve excellent dynamic performance and improved tolerance to clock jitter. The PCM1794A device provides balanced current outputs, allowing the user to optimize analog performance externally. Sampling rates up to 200 kHz are supported.

Subscribe to Welllinkchips !
Your Name
* Email
Submit a request