0
MSP430L092
  • MSP430L092
  • MSP430L092

MSP430L092

ACTIVE

4 MHz MCU with 2KB ROM, 2KB SRAM, 8-bit ADC, 8-bit DAC, comparator, timer

Texas Instruments MSP430L092 Product Info

1 April 2026 1

Parameters

CPU

MSP430

Frequency (MHz)

4

Flash memory (kByte)

0

RAM (kByte)

2

ADC type

8-bit SAR

Features

Advanced sensing

UART

0

Number of ADC channels

4

SPI

0

USB

No

Hardware accelerators

0

Operating temperature range (°C)

0 to 50

Rating

Catalog

Operating system

BareMetal (No OS), TI RTOS

Nonvolatile memory (kByte)

0

Number of GPIOs

11

Number of I2Cs

0

Security

Secure debug

Package

TSSOP (PW)-14-32 mm² 5 x 6.4

Features

  • Ultra-Low Supply Voltage (ULV) Range
    • 0.9 V to 1.5 V (1 MHz)
    • 1.5 V to 1.65 V (4 MHz)
  • Low Power Consumption
    • Active Mode (AM): 45 µA/MHz (1.3 V)
    • Standby Mode (LPM3, WDT_A Mode): 6 µA
    • Off Mode (LPM4): 3 µA
  • Wake-Up From LPMx in Less Than 5 µs
  • 16-Bit RISC Architecture
    • Extended Instructions
    • Up to 4-MHz System Clock
  • Compact Clock System
    • 1-MHz Internal Trimmable High-Frequency Clock
    • 20-kHz Internal Low-Frequency Clock Source
    • External Clock Input
  • 16-Bit Timer0_A3 With Three Capture/Compare Registers
  • 16-Bit Timer1_A3 With Three Capture/Compare Registers
  • ULV Analog Pool Modes
    • 8-Bit Analog-to-Digital Converter (ADC)
    • 8-Bit Digital-to-Analog Converter (DAC)
    • Programmable Comparator (COMP)
    • Supply Voltage Monitor (SVM)
    • Temperature Sensor
    • Internal Reference Voltage Source
  • ULV Port Logic
    • VOL Better Than 0.15 V at 2.5 mA
    • VOH Better Than VCC – 0.15 V at 1 mA
    • Timer0 PWM Signal Available on All Ports
    • Timer1 PWM Signal Available on All Ports
  • ULV Brownout Circuit (BOR)
  • ULV RAM Retention Voltage Below BOR Level
  • 32-Bit Watchdog Timer (WDT-A)
  • Bootstrap Loader in MSP430L092 Development/Prototyping Device
  • Full Four-Wire JTAG Debug Interface
  • Family Members Include
    • MSP430C091
      • 1KB ROM Memory
      • 128 Bytes RAM + 96 Bytes CRAM (Lockable)
    • MSP430C092
      • 2KB ROM Memory
      • 128 Bytes RAM + 96 Bytes CRAM (Lockable)
    • MSP430L092
      • 2KB Loader ROM With Service Functions
      • 2KB RAM
        (1792 + 128 + 96 Bytes Lockable)
  • For Complete Module Descriptions, See the MSP430x09x Family User’s Guide (SLAU321)

  • Ultra-Low Supply Voltage (ULV) Range
    • 0.9 V to 1.5 V (1 MHz)
    • 1.5 V to 1.65 V (4 MHz)
  • Low Power Consumption
    • Active Mode (AM): 45 µA/MHz (1.3 V)
    • Standby Mode (LPM3, WDT_A Mode): 6 µA
    • Off Mode (LPM4): 3 µA
  • Wake-Up From LPMx in Less Than 5 µs
  • 16-Bit RISC Architecture
    • Extended Instructions
    • Up to 4-MHz System Clock
  • Compact Clock System
    • 1-MHz Internal Trimmable High-Frequency Clock
    • 20-kHz Internal Low-Frequency Clock Source
    • External Clock Input
  • 16-Bit Timer0_A3 With Three Capture/Compare Registers
  • 16-Bit Timer1_A3 With Three Capture/Compare Registers
  • ULV Analog Pool Modes
    • 8-Bit Analog-to-Digital Converter (ADC)
    • 8-Bit Digital-to-Analog Converter (DAC)
    • Programmable Comparator (COMP)
    • Supply Voltage Monitor (SVM)
    • Temperature Sensor
    • Internal Reference Voltage Source
  • ULV Port Logic
    • VOL Better Than 0.15 V at 2.5 mA
    • VOH Better Than VCC – 0.15 V at 1 mA
    • Timer0 PWM Signal Available on All Ports
    • Timer1 PWM Signal Available on All Ports
  • ULV Brownout Circuit (BOR)
  • ULV RAM Retention Voltage Below BOR Level
  • 32-Bit Watchdog Timer (WDT-A)
  • Bootstrap Loader in MSP430L092 Development/Prototyping Device
  • Full Four-Wire JTAG Debug Interface
  • Family Members Include
    • MSP430C091
      • 1KB ROM Memory
      • 128 Bytes RAM + 96 Bytes CRAM (Lockable)
    • MSP430C092
      • 2KB ROM Memory
      • 128 Bytes RAM + 96 Bytes CRAM (Lockable)
    • MSP430L092
      • 2KB Loader ROM With Service Functions
      • 2KB RAM
        (1792 + 128 + 96 Bytes Lockable)
  • For Complete Module Descriptions, See the MSP430x09x Family User’s Guide (SLAU321)

Description

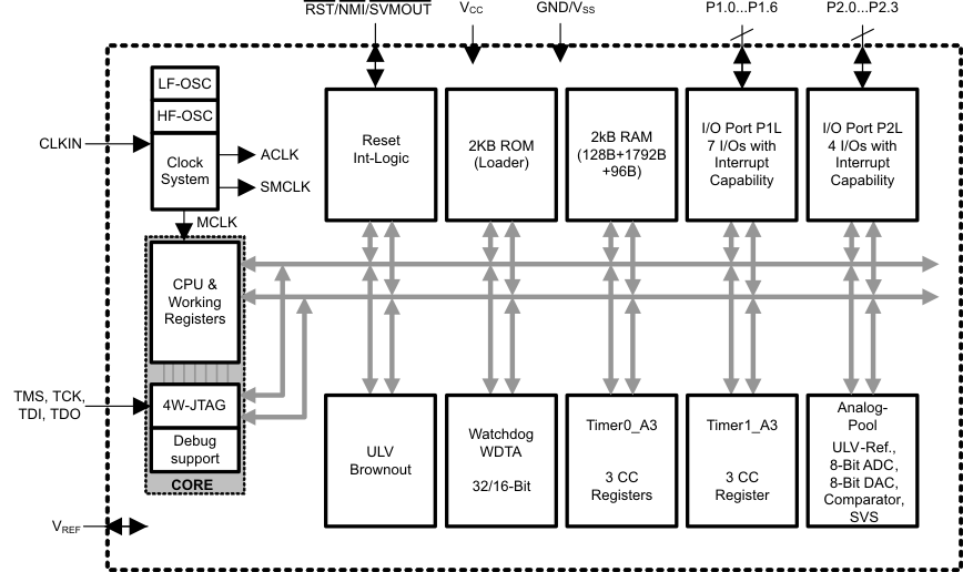
The Texas Instruments MSP430 family of ultra-low-power microcontrollers consists of several devices featuring different sets of peripherals targeted for various applications. The architecture, combined with five low-power modes, is optimized to achieve extended battery life in portable measurement applications. The device features a powerful 16-bit RISC CPU, 16-bit registers, and constant generators that contribute to maximum code efficiency. The digitally controlled internal oscillators allow wake-up from low-power modes to active mode in less than 5 µs.

The MSP430C09x and MSP430L092 series are microcontroller configurations with two 16-bit timers, an ultra-low-voltage 8-bit analog-to-digital (A/D) converter, an 8-bit digital-to-analog (D/A) converter, and up to 11 I/O pins.

Typical applications for this device include single-cell systems requiring a full analog signal chain.

The Texas Instruments MSP430 family of ultra-low-power microcontrollers consists of several devices featuring different sets of peripherals targeted for various applications. The architecture, combined with five low-power modes, is optimized to achieve extended battery life in portable measurement applications. The device features a powerful 16-bit RISC CPU, 16-bit registers, and constant generators that contribute to maximum code efficiency. The digitally controlled internal oscillators allow wake-up from low-power modes to active mode in less than 5 µs.

The MSP430C09x and MSP430L092 series are microcontroller configurations with two 16-bit timers, an ultra-low-voltage 8-bit analog-to-digital (A/D) converter, an 8-bit digital-to-analog (D/A) converter, and up to 11 I/O pins.

Typical applications for this device include single-cell systems requiring a full analog signal chain.