0
MSP430G2744
  • MSP430G2744
  • MSP430G2744
  • MSP430G2744
  • MSP430G2744
  • MSP430G2744

MSP430G2744

ACTIVE

16 MHz MCU with 32KB Flash, 1KB SRAM, 10-bit ADC, UART/SPI/I2C, timer

Texas Instruments MSP430G2744 Product Info

1 April 2026 1

Parameters

CPU

MSP430

Frequency (MHz)

16

Flash memory (kByte)

32

RAM (kByte)

1

ADC type

10-bit SAR

Features

Real-time clock, Spy-bi-wire, Watchdog timer

UART

1

Number of ADC channels

12

SPI

1

USB

No

Hardware accelerators

0

Operating temperature range (°C)

-40 to 85

Rating

Catalog

Communication interface

I2C, SPI, UART

Operating system

BareMetal (No OS), TI RTOS

Nonvolatile memory (kByte)

32

Number of GPIOs

32

Number of I2Cs

1

Security

Secure debug

Package

DSBGA (YFF)-49-9 mm² 3 x 3

Features

  • Low Supply-Voltage Range: 1.8 V to 3.6 V
  • Ultra-Low Power Consumption
    • Active Mode: 270 µA at 1 MHz, 2.2 V
    • Standby Mode: 1 µA
    • Off Mode (RAM Retention): 0.1 µA
  • Ultra-Fast Wakeup From Standby Mode in Less Than 1 µs
  • 16-Bit RISC Architecture, 62.5-ns Instruction Cycle Time
  • Basic Clock Module Configurations
    • Internal Frequencies up to 16 MHz With Four Calibrated Frequencies
    • Internal Very-Low-Power Low-Frequency (LF) Oscillator
    • 32-kHz Crystal
    • High-Frequency (HF) Crystal up to 16 MHz
    • Resonator
    • External Digital Clock Source
    • External Resistor
  • 16-Bit Timer_A With Three Capture/Compare Registers
  • 16-Bit Timer_B With Three Capture/Compare Registers
  • Universal Serial Communication Interface (USCI)
    • Enhanced UART Supports Automatic Baud-Rate Detection (LIN)
    • IrDA Encoder and Decoder
    • Synchronous SPI
    • I2C
  • 10-Bit 200-ksps Analog-to-Digital Converter (ADC) With Internal Reference, Sample-and-Hold, Autoscan, and Data Transfer Controller
  • Brownout Detector
  • Serial Onboard Programming, No External Programming Voltage Needed, Programmable Code Protection by Security Fuse
  • Bootstrap Loader (BSL)
  • On-Chip Emulation Module
  • Family Members
    • MSP430G2444
      • 8KB + 256B Flash Memory
      • 512B RAM
    • MSP430G2544
      • 16KB + 256B Flash Memory
      • 512B RAM
    • MSP430G2744
      • 32KB + 256B Flash Memory
      • 1KB RAM
  • Package Options
    • TSSOP: 38 Pin (DA)
    • QFN: 40 Pin (RHA)
    • DSBGA: 49 Pin (YFF)
    • PDIP: 40 Pin (N) Available in Sampling Quantities as PMS430G2744IN40
  • Low Supply-Voltage Range: 1.8 V to 3.6 V
  • Ultra-Low Power Consumption
    • Active Mode: 270 µA at 1 MHz, 2.2 V
    • Standby Mode: 1 µA
    • Off Mode (RAM Retention): 0.1 µA
  • Ultra-Fast Wakeup From Standby Mode in Less Than 1 µs
  • 16-Bit RISC Architecture, 62.5-ns Instruction Cycle Time
  • Basic Clock Module Configurations
    • Internal Frequencies up to 16 MHz With Four Calibrated Frequencies
    • Internal Very-Low-Power Low-Frequency (LF) Oscillator
    • 32-kHz Crystal
    • High-Frequency (HF) Crystal up to 16 MHz
    • Resonator
    • External Digital Clock Source
    • External Resistor
  • 16-Bit Timer_A With Three Capture/Compare Registers
  • 16-Bit Timer_B With Three Capture/Compare Registers
  • Universal Serial Communication Interface (USCI)
    • Enhanced UART Supports Automatic Baud-Rate Detection (LIN)
    • IrDA Encoder and Decoder
    • Synchronous SPI
    • I2C
  • 10-Bit 200-ksps Analog-to-Digital Converter (ADC) With Internal Reference, Sample-and-Hold, Autoscan, and Data Transfer Controller
  • Brownout Detector
  • Serial Onboard Programming, No External Programming Voltage Needed, Programmable Code Protection by Security Fuse
  • Bootstrap Loader (BSL)
  • On-Chip Emulation Module
  • Family Members
    • MSP430G2444
      • 8KB + 256B Flash Memory
      • 512B RAM
    • MSP430G2544
      • 16KB + 256B Flash Memory
      • 512B RAM
    • MSP430G2744
      • 32KB + 256B Flash Memory
      • 1KB RAM
  • Package Options
    • TSSOP: 38 Pin (DA)
    • QFN: 40 Pin (RHA)
    • DSBGA: 49 Pin (YFF)
    • PDIP: 40 Pin (N) Available in Sampling Quantities as PMS430G2744IN40

Description

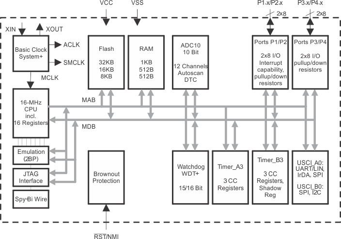
The Texas Instruments MSP430 family of ultra-low-power microcontrollers consists of several devices featuring different sets of peripherals targeted for various applications. The architecture, combined with five low-power modes, is optimized to achieve extended battery life in portable measurement applications. The device features a powerful 16-bit RISC CPU, 16-bit registers, and constant generators that contribute to maximum code efficiency. The digitally controlled oscillator (DCO) allows the device to wake up from low-power modes to active mode in less than 1 µs.

The MSP430G2x44 series is an ultra-low-power mixed-signal microcontroller with two built-in 16-bit timers, a universal serial communication interface (USCI), 10-bit analog-to-digital converter (ADC) with integrated reference and data transfer controller (DTC), and 32 I/O pins.

Typical applications include sensor systems that capture analog signals, convert them to digital values, and then process the data for display or for transmission to a host system. Stand-alone radio-frequency (RF) sensor front ends are another area of application.

The Texas Instruments MSP430 family of ultra-low-power microcontrollers consists of several devices featuring different sets of peripherals targeted for various applications. The architecture, combined with five low-power modes, is optimized to achieve extended battery life in portable measurement applications. The device features a powerful 16-bit RISC CPU, 16-bit registers, and constant generators that contribute to maximum code efficiency. The digitally controlled oscillator (DCO) allows the device to wake up from low-power modes to active mode in less than 1 µs.

The MSP430G2x44 series is an ultra-low-power mixed-signal microcontroller with two built-in 16-bit timers, a universal serial communication interface (USCI), 10-bit analog-to-digital converter (ADC) with integrated reference and data transfer controller (DTC), and 32 I/O pins.

Typical applications include sensor systems that capture analog signals, convert them to digital values, and then process the data for display or for transmission to a host system. Stand-alone radio-frequency (RF) sensor front ends are another area of application.

Subscribe to Welllinkchips !
Your Name
* Email
Submit a request