0
MSP430FE4272
  • MSP430FE4272
  • MSP430FE4272

MSP430FE4272

ACTIVE

8-MHz metering MCU with 2 16-bit sigma-delta ADCs, 128-segment LCD, 32KB Flash, 1KB RAM

Texas Instruments MSP430FE4272 Product Info

1 April 2026 0

Parameters

CPU

MSP430

Frequency (MHz)

8

Flash memory (kByte)

32

RAM (kByte)

1

ADC type

16-bit Sigma Delta

Features

Advanced sensing, LCD

UART

1

Number of ADC channels

2

SPI

1

USB

No

Operating temperature range (°C)

-40 to 85

Rating

Catalog

Communication interface

SPI, UART

Operating system

BareMetal (No OS), TI RTOS

Hardware accelerators

0

Nonvolatile memory (kByte)

32

Number of GPIOs

14

Number of I2Cs

0

Security

Secure debug

Package

LQFP (PM)-64-144 mm² 12 x 12

Features

  • Low Supply-Voltage Range, 2.7 V to 3.6 V
  • Ultra-Low-Power Consumption:
    • Active Mode: 400 µA at 1 MHz, 3.0 V
    • Standby Mode: 1.6 µA
    • Off Mode (RAM Retention): 0.1 µA
  • Five Power-Saving Modes
  • Wake-Up From Standby Mode in Less Than 6 µs
  • Frequency-Locked Loop, FLL+
  • 16-Bit RISC Architecture, 125-ns Instruction Cycle Time
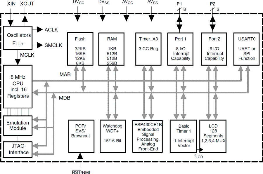
  • Embedded Signal Processing for Single-Phase Energy Metering With Integrated Analog Front-End and Temperature Sensor (ESP430CE1B)
  • 16-Bit Timer_A With Three Capture/Compare Registers
  • Integrated LCD Driver for 128 Segments
  • Serial Communication Interface (USART), Asynchronous UART, or Synchronous SPI Selectable by Software
  • Brownout Detector
  • Supply Voltage Supervisor/Monitor With Programmable Level Detection
  • Serial Onboard Programming, No External Programming Voltage Needed, Programmable Code Protection by Security Fuse
  • Bootstrap Loader in Flash Devices
  • Family Members Include:
    • MSP430FE4232
      8KB + 256B Flash Memory,
      256B RAM
    • MSP430FE4242
      12KB + 256B Flash Memory,
      512B RAM
    • MSP430FE4252
      16KB + 256B Flash Memory,
      512B RAM
    • MSP430FE4272
      32KB + 256B Flash Memory,
      1KB RAM
  • Available in 64-Pin Quad Flat Pack (QFP)
  • For Complete Module Descriptions, See the MSP430x4xx Family User’s Guide, Literature Number SLAU056

  • Low Supply-Voltage Range, 2.7 V to 3.6 V
  • Ultra-Low-Power Consumption:
    • Active Mode: 400 µA at 1 MHz, 3.0 V
    • Standby Mode: 1.6 µA
    • Off Mode (RAM Retention): 0.1 µA
  • Five Power-Saving Modes
  • Wake-Up From Standby Mode in Less Than 6 µs
  • Frequency-Locked Loop, FLL+
  • 16-Bit RISC Architecture, 125-ns Instruction Cycle Time
  • Embedded Signal Processing for Single-Phase Energy Metering With Integrated Analog Front-End and Temperature Sensor (ESP430CE1B)
  • 16-Bit Timer_A With Three Capture/Compare Registers
  • Integrated LCD Driver for 128 Segments
  • Serial Communication Interface (USART), Asynchronous UART, or Synchronous SPI Selectable by Software
  • Brownout Detector
  • Supply Voltage Supervisor/Monitor With Programmable Level Detection
  • Serial Onboard Programming, No External Programming Voltage Needed, Programmable Code Protection by Security Fuse
  • Bootstrap Loader in Flash Devices
  • Family Members Include:
    • MSP430FE4232
      8KB + 256B Flash Memory,
      256B RAM
    • MSP430FE4242
      12KB + 256B Flash Memory,
      512B RAM
    • MSP430FE4252
      16KB + 256B Flash Memory,
      512B RAM
    • MSP430FE4272
      32KB + 256B Flash Memory,
      1KB RAM
  • Available in 64-Pin Quad Flat Pack (QFP)
  • For Complete Module Descriptions, See the MSP430x4xx Family User’s Guide, Literature Number SLAU056

Description

The Texas Instruments MSP430 family of ultra-low-power microcontrollers consists of several devices featuring different sets of peripherals targeted for various applications. The architecture, combined with five low-power modes is optimized to achieve extended battery life in portable measurement applications. The device features a powerful 16-bit RISC CPU, 16-bit registers, and constant generators that contribute to maximum code efficiency. The digitally controlled oscillator (DCO) allows wake-up from low-power modes to active mode in less than 6 µs.

The MSP430FE42x2 devices are microcontroller configurations with two independent 16-bit sigma-delta analog-to-digital (A/D) converters and embedded signal processor core used to measure and calculate single-phase energy in both 2-wire and 3-wire configurations. Also included is a built-in 16-bit timer, 128 LCD segment drive capability, and 14 I/O pins.

Typical applications include 2-wire and 3-wire single-phase metering.

The Texas Instruments MSP430 family of ultra-low-power microcontrollers consists of several devices featuring different sets of peripherals targeted for various applications. The architecture, combined with five low-power modes is optimized to achieve extended battery life in portable measurement applications. The device features a powerful 16-bit RISC CPU, 16-bit registers, and constant generators that contribute to maximum code efficiency. The digitally controlled oscillator (DCO) allows wake-up from low-power modes to active mode in less than 6 µs.

The MSP430FE42x2 devices are microcontroller configurations with two independent 16-bit sigma-delta analog-to-digital (A/D) converters and embedded signal processor core used to measure and calculate single-phase energy in both 2-wire and 3-wire configurations. Also included is a built-in 16-bit timer, 128 LCD segment drive capability, and 14 I/O pins.

Typical applications include 2-wire and 3-wire single-phase metering.