0
LP87702-Q1
  • LP87702-Q1
  • LP87702-Q1
  • LP87702-Q1

LP87702-Q1

ACTIVE

Dual buck converter and 5-V boost with diagnostic functions

Texas Instruments LP87702-Q1 Product Info

1 April 2026 0

Parameters

Processor supplier

Texas Instruments

Processor name

mmWave AWR, mmWave IWR

Product type

Radar sensor

Regulated outputs (#)

3

Step-down DC/DC converter

2

Step-up DC/DC converter

1

LDO

0

Vin (min) (V)

2.8

Vin (max) (V)

5.5

Vout (min) (V)

0.7

Vout (max) (V)

5.2

Iout (max) (A)

3.5

Configurability

Factory programmable, Software configurable

TI functional safety category

Functional Safety Quality-Managed

Features

Dynamic voltage scaling, Enable, Enable pin, I2C control, Overcurrent protection, Power good, Power sequencing, Power supply and system monitoring, Spread-Spectrum Clock (SSC) Generation, Thermal shutdown, UVLO fixed

Rating

Automotive

Operating temperature range (°C)

-40 to 125

Step-down DC/DC controller

0

Step-up DC/DC controller

0

Iq (typ) (mA)

27

Switching frequency (max) (kHz)

4000

Shutdown current (ISD) (typ) (µA)

1

Switching frequency (typ) (kHz)

2000

Package

VQFN (RHB)-32-25 mm² 5 x 5

Features

  • AEC-Q100 Qualified for Automotive Applications:
    • Device Temperature Grade 1: –40°C to +125°C, TA
  • Functional Safety Quality-Managed
    • Documentation Available to Aid Functional Safety System Design
    • Two Inputs for External Voltage Monitoring
    • Two Programmable Power-Good Signals
    • Dedicated Reference Voltage for Diagnostics
    • Window Watchdog with Reset Output
    • Output Short-Circuit and Overload Protection
    • Overtemperature Warning and Protection
    • Overvoltage Protection (OVP) and Undervoltage Lockout (UVLO)
  • Two High-Efficiency Step-Down DC/DC converters:
    • Maximum Output Current 3.5 A
    • 2-MHz, 3-MHz, or 4-MHz Switching Frequency
    • Auto PWM/PFM and Forced-PWM Operations
    • Output Voltage = 0.7 V to 3.36 V
  • 5-V Boost Converter
    • Maximum Output Current 600 mA
  • External Clock Input to Synchronize Switching
  • Spread-Spectrum Modulation
  • Programmable Start-up and Shutdown Delays and Sequencing with Enable Signal
  • Configurable General Purpose Outputs (GPOs)
  • I2C-Compatible Interface Supporting Standard (100 kHz), Fast (400 kHz), Fast+ (1 MHz), and High-Speed (3.4 MHz) Modes
  • Interrupt Function with Programmable Masking
  • AEC-Q100 Qualified for Automotive Applications:
    • Device Temperature Grade 1: –40°C to +125°C, TA
  • Functional Safety Quality-Managed
    • Documentation Available to Aid Functional Safety System Design
    • Two Inputs for External Voltage Monitoring
    • Two Programmable Power-Good Signals
    • Dedicated Reference Voltage for Diagnostics
    • Window Watchdog with Reset Output
    • Output Short-Circuit and Overload Protection
    • Overtemperature Warning and Protection
    • Overvoltage Protection (OVP) and Undervoltage Lockout (UVLO)
  • Two High-Efficiency Step-Down DC/DC converters:
    • Maximum Output Current 3.5 A
    • 2-MHz, 3-MHz, or 4-MHz Switching Frequency
    • Auto PWM/PFM and Forced-PWM Operations
    • Output Voltage = 0.7 V to 3.36 V
  • 5-V Boost Converter
    • Maximum Output Current 600 mA
  • External Clock Input to Synchronize Switching
  • Spread-Spectrum Modulation
  • Programmable Start-up and Shutdown Delays and Sequencing with Enable Signal
  • Configurable General Purpose Outputs (GPOs)
  • I2C-Compatible Interface Supporting Standard (100 kHz), Fast (400 kHz), Fast+ (1 MHz), and High-Speed (3.4 MHz) Modes
  • Interrupt Function with Programmable Masking

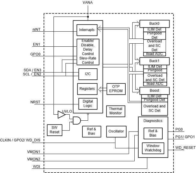
Description

The LP87702-Q1helps meet the power management requirements of the latest platforms, particularly in automotive radar and camera and industrial radar applications. The device contains two step-down DC/DC converters, and a 5-V boost converter to support safety critical applications. The device integrates two voltage monitoring inputs for external power supplies and a window watchdog.

The automatic PWM/PFM (AUTO mode) operation gives high efficiency over a wide output current range for buck converters. The LP87702-Q1 uses remote voltage sensing to compensate IR drop between the converter output and the point-of-load, thus improving the accuracy of the output voltage.

Programmable start-up and shutdown sequences synchronized to the enable signal are supported, including general purpose digital outputs.

During start-up and voltage change, the device controls the output slew rate for minimum output voltage overshoot and inrush current. This device contains one-time-programmable (OTP) memory. Each orderable part number has specific OTP settings for a given application. Details of the default OTP configuration for each orderable part number can be found in the technical reference manual.

The LP87702-Q1helps meet the power management requirements of the latest platforms, particularly in automotive radar and camera and industrial radar applications. The device contains two step-down DC/DC converters, and a 5-V boost converter to support safety critical applications. The device integrates two voltage monitoring inputs for external power supplies and a window watchdog.

The automatic PWM/PFM (AUTO mode) operation gives high efficiency over a wide output current range for buck converters. The LP87702-Q1 uses remote voltage sensing to compensate IR drop between the converter output and the point-of-load, thus improving the accuracy of the output voltage.

Programmable start-up and shutdown sequences synchronized to the enable signal are supported, including general purpose digital outputs.

During start-up and voltage change, the device controls the output slew rate for minimum output voltage overshoot and inrush current. This device contains one-time-programmable (OTP) memory. Each orderable part number has specific OTP settings for a given application. Details of the default OTP configuration for each orderable part number can be found in the technical reference manual.

Subscribe to Welllinkchips !
Your Name
* Email
Submit a request