0
LP87524J-Q1
  • LP87524J-Q1
  • LP87524J-Q1

LP87524J-Q1

ACTIVE

Multiphase 4MHz, 4A/1.0V + 2.5A/1.8V + 1.5A/3.3V + 1.5A/1.2V buck converters for AWR and IWR MMICs

Texas Instruments LP87524J-Q1 Product Info

1 April 2026 0

Parameters

Processor supplier

Texas Instruments

Processor name

mmWave AWR

Product type

Radar sensor

Regulated outputs (#)

4

Step-down DC/DC converter

4

Step-up DC/DC converter

0

LDO

0

Vin (min) (V)

2.8

Vin (max) (V)

5.5

Vout (min) (V)

0.6

Vout (max) (V)

3.36

Iout (max) (A)

4

Configurability

Factory programmable, Software configurable

Features

Diagnostics, Dynamic voltage scaling, Enable, Enable pin, I2C control, Overcurrent protection, Power good, Power sequencing, Spread-Spectrum Clock (SSC) Generation, Thermal shutdown, UVLO fixed

Rating

Automotive

Operating temperature range (°C)

-40 to 125

Step-down DC/DC controller

0

Step-up DC/DC controller

0

Iq (typ) (mA)

0.0067

Switching frequency (max) (kHz)

4400

Shutdown current (ISD) (typ) (µA)

1.4

Switching frequency (typ) (kHz)

4000

Step-down DC/DC Iout (typ) (A)

2.5, 2.5, 3.5, 5

Package

VQFN-HR (RNF)-26-18 mm² 4.5 x 4

Features

  • Qualified for Automotive Applications
  • AEC-Q100 Qualified With the Following Results:
    • Device Temperature Grade 1: –40°C to +125°C Ambient Operating Temperature
  • Input Voltage: 2.8 V to 5.5 V
  • Output Voltage: 0.6 V to 3.36 V
  • Four High-Efficiency Step-Down DC-DC Converter Cores:
    • Total Output Current Up To 10 A
    • Output Voltage Slew-Rate 3.8 mV/µs
  • 4-MHz Switching Frequency
  • Spread-Spectrum Mode and Phase Interleaving
  • Configurable General Purpose I/O (GPIOs)
  • I2C-Compatible Interface which Supports Standard (100 kHz), Fast (400 kHz), Fast+ (1 MHz), and High-Speed (3.4 MHz) Modes
  • Interrupt Function with Programmable Masking
  • Programmable Power Good Signal (PGOOD)
  • Output Short-Circuit and Overload Protection
  • Overtemperature Warning and Protection
  • Overvoltage Protection (OVP) and Undervoltage Lockout (UVLO)
  • Qualified for Automotive Applications
  • AEC-Q100 Qualified With the Following Results:
    • Device Temperature Grade 1: –40°C to +125°C Ambient Operating Temperature
  • Input Voltage: 2.8 V to 5.5 V
  • Output Voltage: 0.6 V to 3.36 V
  • Four High-Efficiency Step-Down DC-DC Converter Cores:
    • Total Output Current Up To 10 A
    • Output Voltage Slew-Rate 3.8 mV/µs
  • 4-MHz Switching Frequency
  • Spread-Spectrum Mode and Phase Interleaving
  • Configurable General Purpose I/O (GPIOs)
  • I2C-Compatible Interface which Supports Standard (100 kHz), Fast (400 kHz), Fast+ (1 MHz), and High-Speed (3.4 MHz) Modes
  • Interrupt Function with Programmable Masking
  • Programmable Power Good Signal (PGOOD)
  • Output Short-Circuit and Overload Protection
  • Overtemperature Warning and Protection
  • Overvoltage Protection (OVP) and Undervoltage Lockout (UVLO)

Description

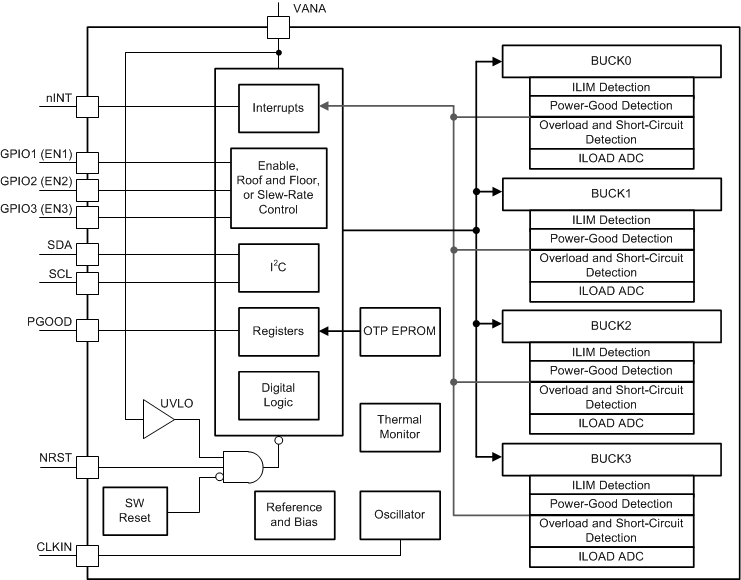
The LP87524B/J/P-Q1 is designed to meet the power management requirements of the latest processors and platforms in various automotive power applications. The device contains four step-down DC-DC converter cores, which are configured as 4 single phase outputs. The device is controlled by an I2C-compatible serial interface and by enable signals.

The automatic PFM/PWM (AUTO mode) operation maximizes efficiency over a wide output-current range. The LP87524B/J/P-Q1 supports remote voltage sensing to compensate IR drop between the regulator output and the point-of-load (POL) thus improving the accuracy of the output voltage. In addition the switching clock can be forced to PWM mode and also synchronized to an external clock to minimize the disturbances.

The LP87524B/J/P-Q1 device supports load-current measurement without the addition of external current-sense resistors. In addition, the LP87524B/J/P-Q1 supports programmable start-up and shutdown delays and sequences synchronized to enable signals. The sequences can also include GPIO signals to control external regulators, load switches and processor reset. During start-up and voltage change, the device controls the output slew rate to minimize output voltage overshoot and the in-rush current.

The LP87524B/J/P-Q1 is designed to meet the power management requirements of the latest processors and platforms in various automotive power applications. The device contains four step-down DC-DC converter cores, which are configured as 4 single phase outputs. The device is controlled by an I2C-compatible serial interface and by enable signals.

The automatic PFM/PWM (AUTO mode) operation maximizes efficiency over a wide output-current range. The LP87524B/J/P-Q1 supports remote voltage sensing to compensate IR drop between the regulator output and the point-of-load (POL) thus improving the accuracy of the output voltage. In addition the switching clock can be forced to PWM mode and also synchronized to an external clock to minimize the disturbances.

The LP87524B/J/P-Q1 device supports load-current measurement without the addition of external current-sense resistors. In addition, the LP87524B/J/P-Q1 supports programmable start-up and shutdown delays and sequences synchronized to enable signals. The sequences can also include GPIO signals to control external regulators, load switches and processor reset. During start-up and voltage change, the device controls the output slew rate to minimize output voltage overshoot and the in-rush current.

Subscribe to Welllinkchips !
Your Name
* Email
Submit a request