0
DS90UB949A-Q1
  • DS90UB949A-Q1
  • DS90UB949A-Q1

DS90UB949A-Q1

ACTIVE

2K DSI to FPD-Link III Serializer

Texas Instruments DS90UB949A-Q1 Product Info

1 April 2026 1

Parameters

Applications

In-vehicle Infotainment (IVI)

Input compatibility

HDMI

Function

Serializer

Output compatibility

FPD-Link III LVDS

Color depth (bpp)

24

Features

Low-EMI Point-to-Point Communication

Signal conditioning

Adaptive Equalizer

EMI reduction

SSC Compatible

Diagnostics

BIST

Rating

Automotive

Operating temperature range (°C)

-40 to 105

Package

VQFN (RGC)-64-81 mm² 9 x 9

Features

  • AEC-Q100 qualified for automotive applications:
    • Device temperature grade 2: –40°C to 105°C, TA
  • Supports TMDS clock frequencies up to 210 MHz for 3K (2880x1620) at 30Hz, QXGA (2048x1536), 2K (2880x1080), WUXGA (1920x1200), or 1080p60 with 24-bit color depth
  • Single and dual FPD-Link III outputs, supports STP or STQ or coax cables
  • High-definition multimedia (HDMI) v1.4b compatible inputs
  • HDMI-Mode DisplayPort (DP++) inputs
  • HDMI audio extraction for up to 8 channels
  • High-speed back channel supporting GPIO up to 2 Mbps
  • Tracks spread spectrum input clock to reduce EMI
  • I2C (master/slave) with 1-Mbps fast-mode plus
  • SPI pass-through interface
  • Backward compatible with DS90UB926Q-Q1, DS90UB928Q-Q1, and DS90UB924-Q1 FPD-Link III deserializers
  • AEC-Q100 qualified for automotive applications:
    • Device temperature grade 2: –40°C to 105°C, TA
  • Supports TMDS clock frequencies up to 210 MHz for 3K (2880x1620) at 30Hz, QXGA (2048x1536), 2K (2880x1080), WUXGA (1920x1200), or 1080p60 with 24-bit color depth
  • Single and dual FPD-Link III outputs, supports STP or STQ or coax cables
  • High-definition multimedia (HDMI) v1.4b compatible inputs
  • HDMI-Mode DisplayPort (DP++) inputs
  • HDMI audio extraction for up to 8 channels
  • High-speed back channel supporting GPIO up to 2 Mbps
  • Tracks spread spectrum input clock to reduce EMI
  • I2C (master/slave) with 1-Mbps fast-mode plus
  • SPI pass-through interface
  • Backward compatible with DS90UB926Q-Q1, DS90UB928Q-Q1, and DS90UB924-Q1 FPD-Link III deserializers

Description

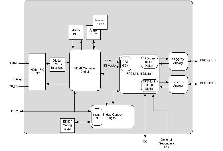
The DS90UB949A-Q1 is an HDMI-to-FPD-Link III bridge device which, when paired with the FPD-Link III DS90UB940-Q1/DS90UB948-Q1 deserializers, supplies 1-lane or 2-lane high-speed serial streams over cost-effective, 50-Ω single-ended coaxial, or 100-Ω differential shielded twisted-pair (STP) and shielded twisted quad (STQ) cables. The device can serialize an HDMI v1.4b input to support video resolutions up to 2880x1080 at 60 Hz with 24-bit color depth.

The FPD-Link III interface supports both video and audio data transmissions, and full duplex control—including I2C and SPI communication—over the same differential link. Video data consolidation and control over two differential pairs can help decrease the interconnect size, decrease the weight of the application, and simplify system design. EMI is minimized by the use of low-voltage differential signaling, data scrambling, and randomization. In backward-compatible mode, the DS90UB949A-Q1 supports up to 1920x720 resolution with 24-bit color depth over a single differential link when the device is paired with the DS90Ux92x-Q1 deserializers.

The DS90UB949A-Q1 supports multi-channel audio received through an external I2S interface. The device also has an optional auxiliary audio interface.

The DS90UB949A-Q1 is an HDMI-to-FPD-Link III bridge device which, when paired with the FPD-Link III DS90UB940-Q1/DS90UB948-Q1 deserializers, supplies 1-lane or 2-lane high-speed serial streams over cost-effective, 50-Ω single-ended coaxial, or 100-Ω differential shielded twisted-pair (STP) and shielded twisted quad (STQ) cables. The device can serialize an HDMI v1.4b input to support video resolutions up to 2880x1080 at 60 Hz with 24-bit color depth.

The FPD-Link III interface supports both video and audio data transmissions, and full duplex control—including I2C and SPI communication—over the same differential link. Video data consolidation and control over two differential pairs can help decrease the interconnect size, decrease the weight of the application, and simplify system design. EMI is minimized by the use of low-voltage differential signaling, data scrambling, and randomization. In backward-compatible mode, the DS90UB949A-Q1 supports up to 1920x720 resolution with 24-bit color depth over a single differential link when the device is paired with the DS90Ux92x-Q1 deserializers.

The DS90UB949A-Q1 supports multi-channel audio received through an external I2S interface. The device also has an optional auxiliary audio interface.

Subscribe to Welllinkchips !
Your Name
* Email
Submit a request