0
MSP430FR4132
  • MSP430FR4132
  • MSP430FR4132
  • MSP430FR4132
  • MSP430FR4132

MSP430FR4132

ACTIVE

16 MHz MCU with 8KB FRAM, 1KB SRAM, 10-bit ADC, LCD, UART/SPI/I2C, IR logic, timer

Texas Instruments MSP430FR4132 Product Info

1 April 2026 0

Parameters

CPU

MSP430

Frequency (MHz)

16

Flash memory (kByte)

8

RAM (kByte)

1

ADC type

10-bit SAR

Features

IR Modulation Logic, LCD, Real-time clock

UART

1

Number of ADC channels

10

SPI

2

USB

No

Hardware accelerators

0

Operating temperature range (°C)

-40 to 85

Rating

Catalog

Communication interface

I2C, SPI, UART

Operating system

BareMetal (No OS), TI RTOS

Nonvolatile memory (kByte)

8

Number of GPIOs

60

Number of I2Cs

1

Security

Secure debug

Package

LQFP (PM)-64-144 mm² 12 x 12

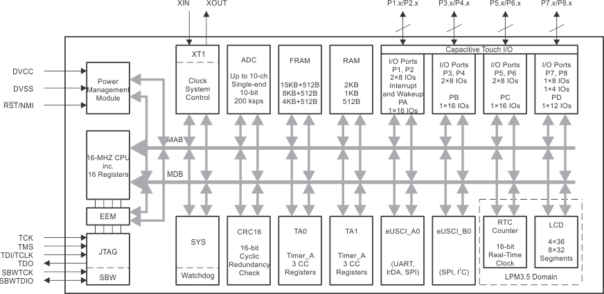
Features

  • Embedded microcontroller
    • 16-bit RISC architecture up to 16 MHz
    • Wide supply voltage range from 3.6 V down to 1.8 V (minimum supply voltage is restricted by SVS levels, see the Section 8.12.1.1)
  • Optimized low-power modes (at 3 V)
    • Active mode: 126 µA/MHz
    • Standby mode: <1 µA with real-time clock (RTC) counter and liquid crystal display (LCD)
    • Shutdown (LPM4.5): 15 nA
  • High-performance analog
    • 10-channel 10-bit analog-to-digital converter (ADC)
      • Internal 1.5-V reference
      • Sample-and-hold 200 ksps
    • Low-power LCD driver
      • Supports up to 4×36- or 8×32-segment LCD configuration
      • On-chip charge pump to keep LCD active in standby mode (LPM3.5)
      • Each LCD pin software configurable as SEG or COM
      • Contrast control from 2.6 V to 3.5 V by 0.06‑V steps
  • Low-power ferroelectric RAM (FRAM)
    • Up to 15.5KB of nonvolatile memory
    • Built-in error correction code (ECC)
    • Configurable write protection
    • Unified memory of program, constants, and storage
    • 1015 write cycle endurance
    • Radiation resistant and nonmagnetic
  • Intelligent digital peripherals
    • IR modulation logic
    • Two 16-bit timers with three capture/compare registers each (Timer_A3)
    • One 16-bit counter-only RTC counter
    • 16-bit cyclic redundancy checker (CRC)
  • Enhanced serial communications
    • Enhanced USCI A (eUSCI_A) supports UART, IrDA, and SPI
    • Enhanced USCI B (eUSCI_B) supports SPI and I2C
  • Clock system (CS)
    • On-chip 32-kHz RC oscillator (REFO)
    • On-chip 16-MHz digitally controlled oscillator (DCO) with frequency-locked loop (FLL)
      • ±1% accuracy with on-chip reference at room temperature
    • On-chip very low-frequency 10-kHz oscillator (VLO)
    • On-chip high-frequency modulation oscillator clock (MODCLK)
    • External 32-kHz crystal oscillator (XT1)
    • Programmable MCLK prescalar of 1 to 128
    • SMCLK derived from MCLK with programmable prescalar of 1, 2, 4, or 8
  • General input/output and pin functionality
    • 60 I/Os on 64-pin package
    • 16 interrupt pins (P1 and P2) can wake MCU from LPMs
    • All I/Os are capacitive touch I/O
  • Development tools and software
  • Family members (also see Section 6)
    • MSP430FR4133: 15KB of program FRAM + 512B of information FRAM + 2KB of RAM
    • MSP430FR4132: 8KB of program FRAM + 512B of information FRAM + 1KB of RAM
    • MSP430FR4131: 4KB of program FRAM + 512B of information FRAM + 512B of RAM
  • Package options
    • 64 pin: LQFP (PM)
    • 56 pin: TSSOP (G56)
    • 48 pin: TSSOP (G48)
  • Embedded microcontroller
    • 16-bit RISC architecture up to 16 MHz
    • Wide supply voltage range from 3.6 V down to 1.8 V (minimum supply voltage is restricted by SVS levels, see the Section 8.12.1.1)
  • Optimized low-power modes (at 3 V)
    • Active mode: 126 µA/MHz
    • Standby mode: <1 µA with real-time clock (RTC) counter and liquid crystal display (LCD)
    • Shutdown (LPM4.5): 15 nA
  • High-performance analog
    • 10-channel 10-bit analog-to-digital converter (ADC)
      • Internal 1.5-V reference
      • Sample-and-hold 200 ksps
    • Low-power LCD driver
      • Supports up to 4×36- or 8×32-segment LCD configuration
      • On-chip charge pump to keep LCD active in standby mode (LPM3.5)
      • Each LCD pin software configurable as SEG or COM
      • Contrast control from 2.6 V to 3.5 V by 0.06‑V steps
  • Low-power ferroelectric RAM (FRAM)
    • Up to 15.5KB of nonvolatile memory
    • Built-in error correction code (ECC)
    • Configurable write protection
    • Unified memory of program, constants, and storage
    • 1015 write cycle endurance
    • Radiation resistant and nonmagnetic
  • Intelligent digital peripherals
    • IR modulation logic
    • Two 16-bit timers with three capture/compare registers each (Timer_A3)
    • One 16-bit counter-only RTC counter
    • 16-bit cyclic redundancy checker (CRC)
  • Enhanced serial communications
    • Enhanced USCI A (eUSCI_A) supports UART, IrDA, and SPI
    • Enhanced USCI B (eUSCI_B) supports SPI and I2C
  • Clock system (CS)
    • On-chip 32-kHz RC oscillator (REFO)
    • On-chip 16-MHz digitally controlled oscillator (DCO) with frequency-locked loop (FLL)
      • ±1% accuracy with on-chip reference at room temperature
    • On-chip very low-frequency 10-kHz oscillator (VLO)
    • On-chip high-frequency modulation oscillator clock (MODCLK)
    • External 32-kHz crystal oscillator (XT1)
    • Programmable MCLK prescalar of 1 to 128
    • SMCLK derived from MCLK with programmable prescalar of 1, 2, 4, or 8
  • General input/output and pin functionality
    • 60 I/Os on 64-pin package
    • 16 interrupt pins (P1 and P2) can wake MCU from LPMs
    • All I/Os are capacitive touch I/O
  • Development tools and software
  • Family members (also see Section 6)
    • MSP430FR4133: 15KB of program FRAM + 512B of information FRAM + 2KB of RAM
    • MSP430FR4132: 8KB of program FRAM + 512B of information FRAM + 1KB of RAM
    • MSP430FR4131: 4KB of program FRAM + 512B of information FRAM + 512B of RAM
  • Package options
    • 64 pin: LQFP (PM)
    • 56 pin: TSSOP (G56)
    • 48 pin: TSSOP (G48)

Description

MSP430FR41xx ultra-low-power (ULP) microcontroller family supports low-cost LCD applications that benefit from an integrated 10-bit ADC such as remote controls, thermostats, smart meters, blood glucose monitors, and blood pressure monitors. The MCUs feature a powerful 16-bit RISC CPU, 16-bit registers, and constant generators that contribute to maximum code efficiency. The digitally controlled oscillator (DCO) allows the device to wake up from low-power modes to active mode in less than 10 µs. The architecture, combined with extensive low-power modes, is optimized to achieve extended battery life in portable measurement applications.

The MSP430™ FRAM microcontroller platform combines uniquely embedded ferroelectric random access memory (FRAM) and a holistic ultra-low-power system architecture, allowing system designers to increase performance while lowering energy consumption. FRAM technology combines the low-energy fast writes, flexibility, and endurance of RAM with the nonvolatile behavior of flash.

MSP430FR41x MCUs are supported by an extensive hardware and software ecosystem with reference designs and code examples to get your design started quickly. Development kits for the MSP430FR41xx include the MSP-EXP430FR4133 LaunchPad™ development kit and the MSP-TS430PM64D 64-pin target development board. TI also provides free MSP430Ware™ software, which is available as a component of Code Composer Studio™ IDE desktop and cloud versions within TI Resource Explorer. MSP430 MCUs are also supported by extensive online collateral, such as our housekeeping example series, MSP Academy training, and online support through the TI E2E™ support forums.

For complete module descriptions, see the MSP430FR4xx and MSP430FR2xx Family User’s Guide .

MSP430FR41xx ultra-low-power (ULP) microcontroller family supports low-cost LCD applications that benefit from an integrated 10-bit ADC such as remote controls, thermostats, smart meters, blood glucose monitors, and blood pressure monitors. The MCUs feature a powerful 16-bit RISC CPU, 16-bit registers, and constant generators that contribute to maximum code efficiency. The digitally controlled oscillator (DCO) allows the device to wake up from low-power modes to active mode in less than 10 µs. The architecture, combined with extensive low-power modes, is optimized to achieve extended battery life in portable measurement applications.

The MSP430™ FRAM microcontroller platform combines uniquely embedded ferroelectric random access memory (FRAM) and a holistic ultra-low-power system architecture, allowing system designers to increase performance while lowering energy consumption. FRAM technology combines the low-energy fast writes, flexibility, and endurance of RAM with the nonvolatile behavior of flash.

MSP430FR41x MCUs are supported by an extensive hardware and software ecosystem with reference designs and code examples to get your design started quickly. Development kits for the MSP430FR41xx include the MSP-EXP430FR4133 LaunchPad™ development kit and the MSP-TS430PM64D 64-pin target development board. TI also provides free MSP430Ware™ software, which is available as a component of Code Composer Studio™ IDE desktop and cloud versions within TI Resource Explorer. MSP430 MCUs are also supported by extensive online collateral, such as our housekeeping example series, MSP Academy training, and online support through the TI E2E™ support forums.

For complete module descriptions, see the MSP430FR4xx and MSP430FR2xx Family User’s Guide .

Subscribe to Welllinkchips !
Your Name
* Email
Submit a request