0
DS90UB635-Q1
  • DS90UB635-Q1
  • DS90UB635-Q1

DS90UB635-Q1

ACTIVE

Automotive 4.16-Gbps FPD-Link III CSI-2 serializer

Texas Instruments DS90UB635-Q1 Product Info

1 April 2026 0

Parameters

Applications

Advanced Driver Assistance Systems (ADAS)

Input compatibility

MIPI CSI-2

Function

Serializer

Output compatibility

FPD-Link III LVDS

Color depth (bpp)

12

Features

Dedicated GPIO

Signal conditioning

Adaptive Equalizer

EMI reduction

LVDS

Diagnostics

BIST

Rating

Automotive

Operating temperature range (°C)

-40 to 105

TI functional safety category

Functional Safety-Capable

Package

VQFN (RHB)-32-25 mm² 5 x 5

Features

  • AEC-Q100 qualified for automotive applications:
    • Device temperature grade 2: –40°C to +105°C ambient operating temperature range
  • ISO 10605 and IEC 61000-4-2 ESD compliant
  • Power-over-Coax (PoC) compatible transceiver
  • 4.16-Gbps grade serializer supports high-speed sensors including full HD 1080p 2.3MP 60-fps and 4MP 30-fps imagers
  • D-PHY v1.2 and CSI-2 v1.3 compliant system interface
    • Up to 4 data lanes at 600 Mbps - 832 Mbps/lane
    • Supports up to four virtual channels
  • Precision multi-camera clocking and synchronization
  • Flexible programmable output clock generator
  • Advanced data protection and diagnostics including CRC data protection, sensor data integrity check, I2C write protection, voltage and temperature measurement, programmable alarm, BIST, pattern generation, and line fault detection
  • Supports single-ended coaxial or Shielded Twist-Pair (STP) cable
  • Ultra-low latency bidirectional I2C and GPIO control channel enables ISP control from ECU
  • Single 1.8 V power supply
  • Low (0.28 W typical) power consumption
  • Ultra-low latency bidirectional I2C and GPIO control channel enables ISP control from ECU
  • Unique DIE-ID for counterfeit protection
  • Compatible with the DS90UB638-Q1 deserializer and the DS90UB662-Q1 Hub
  • Small 5-mm × 5-mm VQFN package and PoC solution size for compact camera module designs
  • AEC-Q100 qualified for automotive applications:
    • Device temperature grade 2: –40°C to +105°C ambient operating temperature range
  • ISO 10605 and IEC 61000-4-2 ESD compliant
  • Power-over-Coax (PoC) compatible transceiver
  • 4.16-Gbps grade serializer supports high-speed sensors including full HD 1080p 2.3MP 60-fps and 4MP 30-fps imagers
  • D-PHY v1.2 and CSI-2 v1.3 compliant system interface
    • Up to 4 data lanes at 600 Mbps - 832 Mbps/lane
    • Supports up to four virtual channels
  • Precision multi-camera clocking and synchronization
  • Flexible programmable output clock generator
  • Advanced data protection and diagnostics including CRC data protection, sensor data integrity check, I2C write protection, voltage and temperature measurement, programmable alarm, BIST, pattern generation, and line fault detection
  • Supports single-ended coaxial or Shielded Twist-Pair (STP) cable
  • Ultra-low latency bidirectional I2C and GPIO control channel enables ISP control from ECU
  • Single 1.8 V power supply
  • Low (0.28 W typical) power consumption
  • Ultra-low latency bidirectional I2C and GPIO control channel enables ISP control from ECU
  • Unique DIE-ID for counterfeit protection
  • Compatible with the DS90UB638-Q1 deserializer and the DS90UB662-Q1 Hub
  • Small 5-mm × 5-mm VQFN package and PoC solution size for compact camera module designs

Description

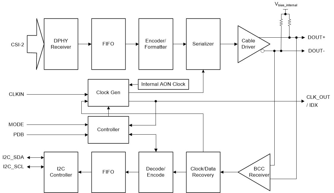
The DS90UB635-Q1 serializer is part of TI’s FPD-Link III device family designed to support high-speed raw data sensors including 2.3MP imagers at 60-fps and as well as 4MP, 30-fps cameras, satellite RADAR, LIDAR, and Time-of-Flight (ToF) sensors. The chip delivers a 4.16-Gbps forward channel and an ultra-low latency, 50-Mbps bidirectional control channel and supports power over a single coax (PoC) or STP cable. The DS90UB635-Q1 features advanced data protection and diagnostic features to support ADAS and autonomous driving. Together with a companion deserializer, the DS90UB635-Q1 delivers precise multi-camera sensor clock and sensor synchronization.

The DS90UB635-Q1 is fully AEC-Q100 qualified with a -40°C to 105°C wide temperature range. The serializer comes in a small 5-mm × 5-mm VQFN package for space-constrained sensor applications.

The DS90UB635-Q1 serializer is part of TI’s FPD-Link III device family designed to support high-speed raw data sensors including 2.3MP imagers at 60-fps and as well as 4MP, 30-fps cameras, satellite RADAR, LIDAR, and Time-of-Flight (ToF) sensors. The chip delivers a 4.16-Gbps forward channel and an ultra-low latency, 50-Mbps bidirectional control channel and supports power over a single coax (PoC) or STP cable. The DS90UB635-Q1 features advanced data protection and diagnostic features to support ADAS and autonomous driving. Together with a companion deserializer, the DS90UB635-Q1 delivers precise multi-camera sensor clock and sensor synchronization.

The DS90UB635-Q1 is fully AEC-Q100 qualified with a -40°C to 105°C wide temperature range. The serializer comes in a small 5-mm × 5-mm VQFN package for space-constrained sensor applications.

Subscribe to Welllinkchips !
Your Name
* Email
Submit a request