0
DS90C124-Q1
  • DS90C124-Q1
  • DS90C124-Q1

DS90C124-Q1

ACTIVE

5-MHz to 35-MHz DC-balanced 24-bit automotive FPD-Link II deserializer

Texas Instruments DS90C124-Q1 Product Info

1 April 2026 1

Parameters

Applications

In-vehicle Infotainment (IVI)

Input compatibility

FPD-Link LVDS

Function

Deserializer

Output compatibility

LVCMOS

Color depth (bpp)

18

Features

Capable to Drive up to 5 meters STP Cable

Diagnostics

BIST

Rating

Automotive

Operating temperature range (°C)

-40 to 105

Package

TQFP (PFB)-48-81 mm² 9 x 9

Features

  • 5-MHz to 35-MHz Clock Embedded and DC-Balancing 24:1 and 1:24 Data Transmissions
  • User Defined Pre-Emphasis Driving Ability Through External Resistor on LVDS Outputs and Capable to Drive Up to 10-Meter Shielded Twisted-Pair Cable
  • User-Selectable Clock Edge for Parallel Data on Both Transmitter and Receiver
  • Internal DC Balancing Encode and Decode (Supports AC-Coupling Interface With No External Coding Required)
  • Individual Power-Down Controls for Both Transmitter and Receiver
  • Embedded Clock CDR (Clock and Data Recovery) on Receiver and No External Source of Reference Clock Required
  • All Codes RDL (Random Data Lock) to Support Live-Pluggable Applications
  • LOCK Output Flag to Ensure Data Integrity at Receiver Side
  • Balanced TSETUP and THOLD Between RCLK and RDATA on Receiver Side
  • PTO (Progressive Turnon) LVCMOS Outputs to Reduce EMI and Minimize SSO Effects
  • All LVCMOS Inputs and Control Pins Have Internal Pulldown
  • On-Chip Filters for PLLs on Transmitter and Receiver
  • Temperature Range: –40°C to 105°C
  • Greater Than 8-kV HBM ESD Tolerant
  • Meets AEC-Q100 Compliance
  • Power Supply Range: 3.3 V ± 10%
  • 48-Pin TQFP Package
  • 5-MHz to 35-MHz Clock Embedded and DC-Balancing 24:1 and 1:24 Data Transmissions
  • User Defined Pre-Emphasis Driving Ability Through External Resistor on LVDS Outputs and Capable to Drive Up to 10-Meter Shielded Twisted-Pair Cable
  • User-Selectable Clock Edge for Parallel Data on Both Transmitter and Receiver
  • Internal DC Balancing Encode and Decode (Supports AC-Coupling Interface With No External Coding Required)
  • Individual Power-Down Controls for Both Transmitter and Receiver
  • Embedded Clock CDR (Clock and Data Recovery) on Receiver and No External Source of Reference Clock Required
  • All Codes RDL (Random Data Lock) to Support Live-Pluggable Applications
  • LOCK Output Flag to Ensure Data Integrity at Receiver Side
  • Balanced TSETUP and THOLD Between RCLK and RDATA on Receiver Side
  • PTO (Progressive Turnon) LVCMOS Outputs to Reduce EMI and Minimize SSO Effects
  • All LVCMOS Inputs and Control Pins Have Internal Pulldown
  • On-Chip Filters for PLLs on Transmitter and Receiver
  • Temperature Range: –40°C to 105°C
  • Greater Than 8-kV HBM ESD Tolerant
  • Meets AEC-Q100 Compliance
  • Power Supply Range: 3.3 V ± 10%
  • 48-Pin TQFP Package

Description

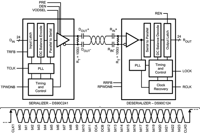
The DS90C241 and DS90C124 chipset translates a 24-bit parallel bus into a fully transparent data and control LVDS serial stream with embedded clock information. This single serial stream simplifies transferring a 24-bit bus over PCB traces or over cable by eliminating the skew problems between parallel data and clock paths. It saves system cost by narrowing data paths, which in turn reduces PCB layers, cable width, and connector size and pins.

The DS90C241 and DS90C124 incorporate LVDS signaling on the high-speed I/O. LVDS provides a low-power and low-noise environment for reliably transferring data over a serial transmission path. By optimizing the serializer output edge rate for the operating frequency range, EMI is further reduced.

In addition, the device features pre-emphasis to boost signals over longer distances using lossy cables. Internal DC balanced encoding and decoding supports AC-coupled interconnects.

The DS90C241 and DS90C124 chipset translates a 24-bit parallel bus into a fully transparent data and control LVDS serial stream with embedded clock information. This single serial stream simplifies transferring a 24-bit bus over PCB traces or over cable by eliminating the skew problems between parallel data and clock paths. It saves system cost by narrowing data paths, which in turn reduces PCB layers, cable width, and connector size and pins.

The DS90C241 and DS90C124 incorporate LVDS signaling on the high-speed I/O. LVDS provides a low-power and low-noise environment for reliably transferring data over a serial transmission path. By optimizing the serializer output edge rate for the operating frequency range, EMI is further reduced.

In addition, the device features pre-emphasis to boost signals over longer distances using lossy cables. Internal DC balanced encoding and decoding supports AC-coupled interconnects.

Subscribe to Welllinkchips !
Your Name
* Email
Submit a request