0
DRV8910-Q1
  • DRV8910-Q1
  • DRV8910-Q1
  • DRV8910-Q1

DRV8910-Q1

ACTIVE

Automotive, 40V, 6A 10 channel half-bridge motor driver with advanced diagnostics

Texas Instruments DRV8910-Q1 Product Info

1 April 2026 1

Parameters

Number of full bridges

5

Vs (min) (V)

4.5

Vs ABS (max) (V)

40

Peak output current (A)

6

RDS(ON) (HS + LS) (mΩ)

1500

Sleep current (µA)

0.35

Control mode

Independent 1/2-Bridge, PWM

Control interface

SPI

Features

Open-Load Detection

Topology

Integrated FET, Multichannel

Rating

Automotive

TI functional safety category

Functional Safety-Capable

Operating temperature range (°C)

-40 to 125

Package

HTSSOP (PWP)-24-49.92 mm² 7.8 x 6.4

Features

  • AEC-Q100 qualified for automotive applications
  • 4, 6, 8, 10 and 12 half-bridge outputs
  • 4.5-V to 32-V operating voltage
    • 40-V absolute maximum voltage
  • 1-A RMS current for each output
    • 6-A maximum current for paralleled outputs
  • Low-power sleep mode (1.5-µA)
  • Supports 3.3-V and 5-V logic inputs
  • SPI for configuration and diagnostics
    • 5-MHz, 16-Bit SPI communication
    • Daisy chain functionality
  • PWM generators programmable over SPI
    • Individual half-bridge PWM operation
    • Configurable for high-side, low-side, and H-bridge load driving
    • Supports 8-bit duty cycle resolution
  • Integrated protection features with per channel detailed diagnostics over SPI
    • nFAULT pin output
    • VM undervoltage lockout (UVLO)
    • VM overvoltage protection (OVP)
    • Logic supply power on reset (POR)
    • Overcurrent protection (OCP)
    • Enhanced open load detection (OLD)
    • Thermal warning and shutdown (OTW/OTSD)
  • AEC-Q100 qualified for automotive applications
  • 4, 6, 8, 10 and 12 half-bridge outputs
  • 4.5-V to 32-V operating voltage
    • 40-V absolute maximum voltage
  • 1-A RMS current for each output
    • 6-A maximum current for paralleled outputs
  • Low-power sleep mode (1.5-µA)
  • Supports 3.3-V and 5-V logic inputs
  • SPI for configuration and diagnostics
    • 5-MHz, 16-Bit SPI communication
    • Daisy chain functionality
  • PWM generators programmable over SPI
    • Individual half-bridge PWM operation
    • Configurable for high-side, low-side, and H-bridge load driving
    • Supports 8-bit duty cycle resolution
  • Integrated protection features with per channel detailed diagnostics over SPI
    • nFAULT pin output
    • VM undervoltage lockout (UVLO)
    • VM overvoltage protection (OVP)
    • Logic supply power on reset (POR)
    • Overcurrent protection (OCP)
    • Enhanced open load detection (OLD)
    • Thermal warning and shutdown (OTW/OTSD)

Description

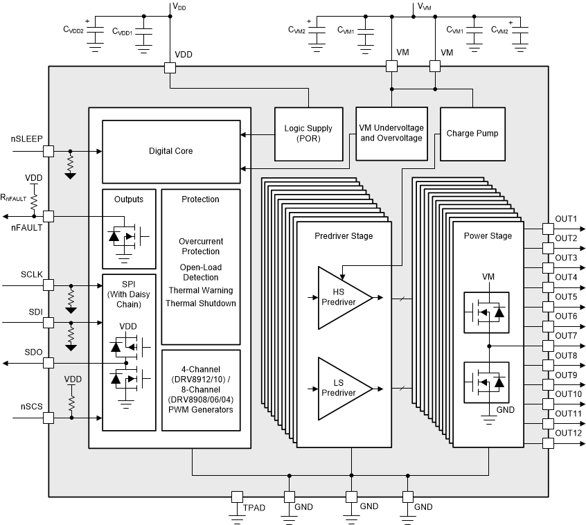
The DRV89xx-Q1 is a pin-to-pin compatible family of integrated multi-channel half-bridge drivers with 4 to 12 half-bridges. The device family features low on-state resistance (RDS(ON)) for improved thermal performance during high-current operation.

These devices can drive brushed-DC (BDC) motors or stepper motors in independent, sequential, or parallel mode. The half-bridges are fully controllable to achieve a forward, reverse, coasting and braking operation of motor.

These devices feature standard 16-bit, 5-MHz serial peripheral interface (SPI) with daisy chain capability for complete configuration and detailed diagnostics. Depending on the device, four or eight programmable PWM generators are integrated to allow for current limiting during motor operation or LED dimming control.

The device includes numerous protection and diagnostic features including an nFAULT pin to alert the system when a fault occurs. The device features a low-current open load detection (OLD) mode to detect open-load conditions when the nominal load current is small and a passive OLD mode for offline OLD. The device is also fully-protected from short-circuit, undervoltage, and over-temperature conditions.

View our full portfolio of brushed motor drivers on ti.com.

The DRV89xx-Q1 is a pin-to-pin compatible family of integrated multi-channel half-bridge drivers with 4 to 12 half-bridges. The device family features low on-state resistance (RDS(ON)) for improved thermal performance during high-current operation.

These devices can drive brushed-DC (BDC) motors or stepper motors in independent, sequential, or parallel mode. The half-bridges are fully controllable to achieve a forward, reverse, coasting and braking operation of motor.

These devices feature standard 16-bit, 5-MHz serial peripheral interface (SPI) with daisy chain capability for complete configuration and detailed diagnostics. Depending on the device, four or eight programmable PWM generators are integrated to allow for current limiting during motor operation or LED dimming control.

The device includes numerous protection and diagnostic features including an nFAULT pin to alert the system when a fault occurs. The device features a low-current open load detection (OLD) mode to detect open-load conditions when the nominal load current is small and a passive OLD mode for offline OLD. The device is also fully-protected from short-circuit, undervoltage, and over-temperature conditions.

View our full portfolio of brushed motor drivers on ti.com.

Subscribe to Welllinkchips !
Your Name
* Email
Submit a request