0
AWR1443
  • AWR1443
  • AWR1443

AWR1443

ACTIVE

Single-chip 76-GHz to 81-GHz automotive radar sensor integrating MCU and hardware accelerator

Texas Instruments AWR1443 Product Info

1 April 2026 1

Parameters

Frequency range

76 - 81 GHz

Number of receivers

4

Number of transmitters

3

ADC sampling rate (max) (Msps)

12.5

Arm CPU

Arm Cortex-R4F at 200 MHz

Interface type

CAN, I2C, QSPI, SPI, UART

Hardware accelerators

Radar hardware accelerator

Edge AI enabled

Yes

RAM (kByte)

576

Rating

Automotive

Operating temperature range (°C)

-40 to 125

Power supply solution

LP87524B-Q1, LP87524J-Q1, LP87524P-Q1, LP87745-Q1

Package

FCCSP (ABL)-161-108.16 mm² 10.4 x 10.4

Features

  • FMCW transceiver
    • Integrated PLL, transmitter, receiver, Baseband, and ADC
    • 76- to 81-GHz coverage with 4 GHz available bandwidth
    • Four receive channels
    • Three transmit channels (two can be used simultaneously)
    • Ultra-accurate chirp engine based on fractional-N PLL
    • TX power: 12 dBm
    • RX noise figure:
      • 14 dB (76 to 77 GHz)
      • 15 dB (77 to 81 GHz)
    • Phase noise at 1 MHz:
      • –95 dBc/Hz (76 to 77 GHz)
      • –93 dBc/Hz (77 to 81 GHz)
  • Built-in calibration and self-test
    • Arm Cortex-R4F-based radio control system
    • Built-in firmware (ROM)
    • Self-calibrating system across process and temperature
  • On-chip programmable core for embedded user application
    • Integrated Cortex®-R4F microcontroller clocked at 200 MHz
    • On-chip bootloader supports autonomous mode (loading user application from QSPI flash memory)
    • Integrated peripherals
      • Internal memories With ECC
      • Radar hardware accelerator (FFT, log-magnitude computations, and others)
      • Integrated timers (watch dog and up to four 32-Bit or Two 64-bit timers)
      • I2C (Controller and target modes supported)
      • Two SPI ports
      • CAN port
      • Up to six general-purpose ADC ports
  • High-speed data interface to support distributed applications (namely, intermediate data)
  • Host interface
    • Control interface with external processor over SPI
    • Interrupts for fault reporting
  • AECQ-100 qualified
  • Device advanced features
    • Embedded self-monitoring with no host processor involvement
    • Complex baseband architecture
    • Embedded interference detection capability
  • Power management
    • Built-in LDO network for enhanced PSRR
    • I/Os support dual voltage 3.3 V/1.8 V
  • Clock source
    • Supports externally driven clock (square/sine) at 40 MHz
    • Supports 40 MHz crystal connection with load capacitors
  • Easy hardware design
    • 0.65-mm pitch, 161-pin 10.4 mm × 10.4 mm flip chip BGA package for easy assembly and low-cost PCB design
    • Small solution size
  • Operating Conditions
    • Junction temp range: –40°C to 125°C
  • FMCW transceiver
    • Integrated PLL, transmitter, receiver, Baseband, and ADC
    • 76- to 81-GHz coverage with 4 GHz available bandwidth
    • Four receive channels
    • Three transmit channels (two can be used simultaneously)
    • Ultra-accurate chirp engine based on fractional-N PLL
    • TX power: 12 dBm
    • RX noise figure:
      • 14 dB (76 to 77 GHz)
      • 15 dB (77 to 81 GHz)
    • Phase noise at 1 MHz:
      • –95 dBc/Hz (76 to 77 GHz)
      • –93 dBc/Hz (77 to 81 GHz)
  • Built-in calibration and self-test
    • Arm Cortex-R4F-based radio control system
    • Built-in firmware (ROM)
    • Self-calibrating system across process and temperature
  • On-chip programmable core for embedded user application
    • Integrated Cortex®-R4F microcontroller clocked at 200 MHz
    • On-chip bootloader supports autonomous mode (loading user application from QSPI flash memory)
    • Integrated peripherals
      • Internal memories With ECC
      • Radar hardware accelerator (FFT, log-magnitude computations, and others)
      • Integrated timers (watch dog and up to four 32-Bit or Two 64-bit timers)
      • I2C (Controller and target modes supported)
      • Two SPI ports
      • CAN port
      • Up to six general-purpose ADC ports
  • High-speed data interface to support distributed applications (namely, intermediate data)
  • Host interface
    • Control interface with external processor over SPI
    • Interrupts for fault reporting
  • AECQ-100 qualified
  • Device advanced features
    • Embedded self-monitoring with no host processor involvement
    • Complex baseband architecture
    • Embedded interference detection capability
  • Power management
    • Built-in LDO network for enhanced PSRR
    • I/Os support dual voltage 3.3 V/1.8 V
  • Clock source
    • Supports externally driven clock (square/sine) at 40 MHz
    • Supports 40 MHz crystal connection with load capacitors
  • Easy hardware design
    • 0.65-mm pitch, 161-pin 10.4 mm × 10.4 mm flip chip BGA package for easy assembly and low-cost PCB design
    • Small solution size
  • Operating Conditions
    • Junction temp range: –40°C to 125°C

Description

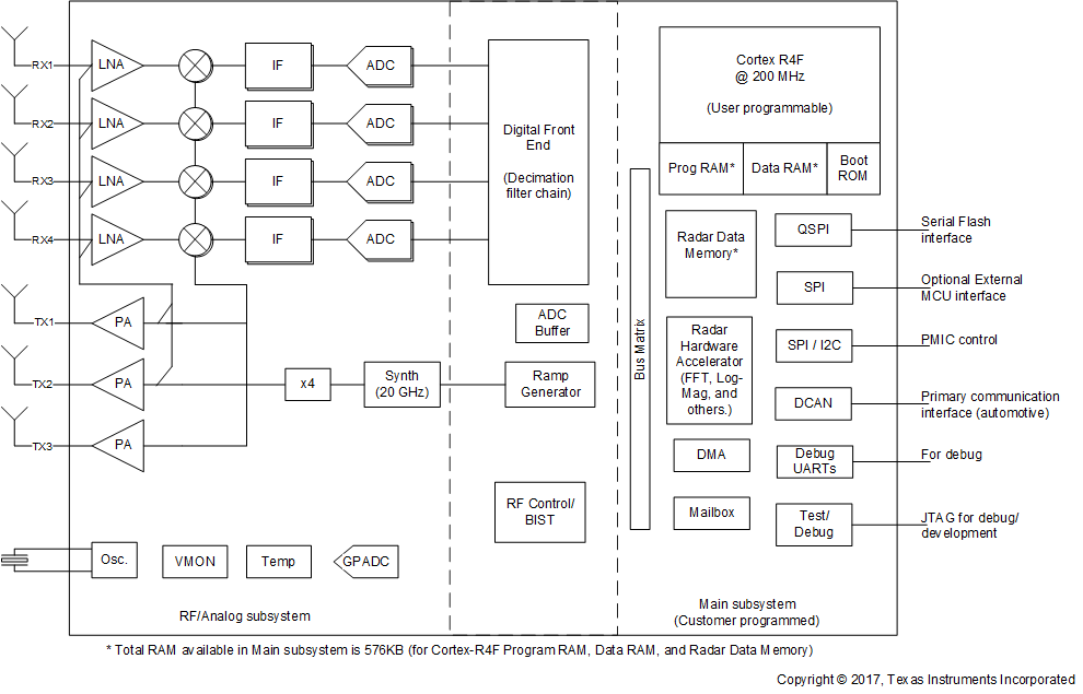
The AWR1443 device is an integrated single-chip FMCW radar sensor capable of operation in the 76- to 81-GHz band. The device is built with TI’s low-power 45-nm RFCMOS process with an integrated ARM R4F processor and a hardware accelerator for radar data processing, and this solution enables unprecedented levels of integration in an extremely small form factor. AWR1443 is an ideal solution for low-power, self-monitored, ultra-accurate radar systems in the automotive space.

The AWR1443 device is a self-contained FMCW radar sensor single-chip solution that simplifies the implementation of Automotive Radar sensors in the band of 76 to 81 GHz. It enables a monolithic implementation of a 3TX, 4RX system with built-in PLL and ADC converters. Simple programming model changes can enable a wide variety of sensor implementation (Short, Mid, Long) with the possibility of dynamic reconfiguration for implementing a multimode sensor. Additionally, the device is provided as a complete platform solution including TI reference designs, software drivers, sample configurations, API guides, and user documentation.

The requirements for a radar device, in terms of radar data cube memory, processing capacity, and functional safety monitoring, vary for different applications. In this context, the AWR1443 can be viewed as a 77-GHz radar-on-a-chip solution for entry-level radar applications

The AWR1443 device is an integrated single-chip FMCW radar sensor capable of operation in the 76- to 81-GHz band. The device is built with TI’s low-power 45-nm RFCMOS process with an integrated ARM R4F processor and a hardware accelerator for radar data processing, and this solution enables unprecedented levels of integration in an extremely small form factor. AWR1443 is an ideal solution for low-power, self-monitored, ultra-accurate radar systems in the automotive space.

The AWR1443 device is a self-contained FMCW radar sensor single-chip solution that simplifies the implementation of Automotive Radar sensors in the band of 76 to 81 GHz. It enables a monolithic implementation of a 3TX, 4RX system with built-in PLL and ADC converters. Simple programming model changes can enable a wide variety of sensor implementation (Short, Mid, Long) with the possibility of dynamic reconfiguration for implementing a multimode sensor. Additionally, the device is provided as a complete platform solution including TI reference designs, software drivers, sample configurations, API guides, and user documentation.

The requirements for a radar device, in terms of radar data cube memory, processing capacity, and functional safety monitoring, vary for different applications. In this context, the AWR1443 can be viewed as a 77-GHz radar-on-a-chip solution for entry-level radar applications

Subscribe to Welllinkchips !
Your Name
* Email
Submit a request