0
ADC3244E
  • ADC3244E
  • ADC3244E

ADC3244E

ACTIVE

Dual-channel 14-bit 125-MSPS analog-to-digital converter (ADC) with extended temperature range

Texas Instruments ADC3244E Product Info

1 April 2026 0

Parameters

Sample rate (max) (Msps)

125

Resolution (Bits)

14

Number of input channels

2

Interface type

Serial LVDS

Analog input BW (MHz)

540

Features

Low Power

Rating

Catalog

Peak-to-peak input voltage range (V)

2

Power consumption (typ) (mW)

232

Architecture

Pipeline

SNR (dB)

73.3

ENOB (Bits)

11.8

SFDR (dB)

94

Operating temperature range (°C)

-50 to 105

Input buffer

No

Package

VQFN (RGZ)-48-49 mm² 7 x 7

Features

  • Dual channel
  • 14-bit resolution
  • Single supply: 1.8 V
  • Serial LVDS interface (SLVDS)
  • Flexible input clock buffer with divide-by-1, -2, -4
  • SNR = 72.4 dBFS, SFDR = 87 dBc at
    fIN = 70 MHz
  • Ultra-low power consumption:
    • 116 mW/Ch at 125 MSPS
  • Channel isolation: 105 dB
  • Internal dither and chopper
  • Support for multichip synchronization
  • Pin-to-pin compatible with 12-bit version
  • Package: VQFN-48 (7 mm × 7 mm)
  • Extended temperature range: –50°C to +105°C
  • Dual channel
  • 14-bit resolution
  • Single supply: 1.8 V
  • Serial LVDS interface (SLVDS)
  • Flexible input clock buffer with divide-by-1, -2, -4
  • SNR = 72.4 dBFS, SFDR = 87 dBc at
    fIN = 70 MHz
  • Ultra-low power consumption:
    • 116 mW/Ch at 125 MSPS
  • Channel isolation: 105 dB
  • Internal dither and chopper
  • Support for multichip synchronization
  • Pin-to-pin compatible with 12-bit version
  • Package: VQFN-48 (7 mm × 7 mm)
  • Extended temperature range: –50°C to +105°C

Description

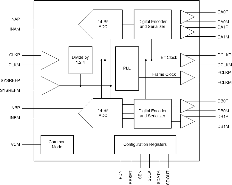
The ADC3244E is a high-linearity, ultra-low power, dual-channel, 14-bit, 25-MSPS to 125-MSPS analog-to-digital converter (ADC). The device is designed specifically to support demanding, high input frequency signals with large dynamic range requirements. An input clock divider allows more flexibility for system clock architecture design, and the SYSREF input enables complete system synchronization.

The ADC3244E supports serial, low-voltage, differential signaling (LVDS) in order to reduce the number of interface lines, thus allowing for high system integration density. The serial LVDS interface is two-wire, where the data from each ADC are serialized and output over two LVDS pairs. An internal phase-locked loop (PLL) multiplies the incoming ADC sampling clock to derive the bit clock that is used to serialize the 14-bit output data from each channel. In addition to the serial data streams, the frame and bit clocks are also transmitted as LVDS outputs.

 

The ADC3244E is a high-linearity, ultra-low power, dual-channel, 14-bit, 25-MSPS to 125-MSPS analog-to-digital converter (ADC). The device is designed specifically to support demanding, high input frequency signals with large dynamic range requirements. An input clock divider allows more flexibility for system clock architecture design, and the SYSREF input enables complete system synchronization.

The ADC3244E supports serial, low-voltage, differential signaling (LVDS) in order to reduce the number of interface lines, thus allowing for high system integration density. The serial LVDS interface is two-wire, where the data from each ADC are serialized and output over two LVDS pairs. An internal phase-locked loop (PLL) multiplies the incoming ADC sampling clock to derive the bit clock that is used to serialize the 14-bit output data from each channel. In addition to the serial data streams, the frame and bit clocks are also transmitted as LVDS outputs.

 

Subscribe to Welllinkchips !
Your Name
* Email
Submit a request