0
MAX5532
  • MAX5532

MAX5532

PRODUCTION

Dual, Ultra-Low-Power, 12-Bit, Voltage-Output DACs

Analog Devices MAX5532 Product Info

10 February 2026 8

Features

  • Ultra-Low 5µA Supply Current
  • Shutdown Mode Reduces Supply Current to 0.18µA (max)
  • Single +1.8V to +5.5V Supply
  • Small 4mm x 4mm x 0.8mm Thin QFN Package
  • Internal Reference Sources 8mA of Current (MAX5533/MAX5535)
  • Flexible Force-Sense-Configured Rail-to-Rail Output Buffers
  • Fast 16MHz, 3-Wire, SPI-/QSPI-/MICROWIRE-Compatible Serial Interface
  • TTL- and CMOS-Compatible Digital Inputs with Hysteresis
  • Glitch-Free Outputs During Power-Up

Part details & applications

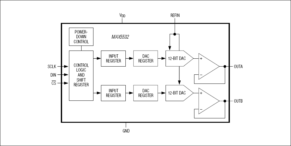
The MAX5532–MAX5535 are dual, 12-bit, ultra-low-power, voltage-output, digital-to-analog converters (DACs) offering rail-to-rail buffered voltage outputs. The DACs operate from a 1.8V to 5.5V supply and consume less than 5µA, making the devices suitable for low-power and low-voltage applications. A shutdown mode reduces overall current, including the reference input current, to just 0.18µA. The MAX5532–MAX5535 use a 3-wire serial interface that is compatible with SPI™, QSPI™, and MICROWIRE™.

Upon power-up, the MAX5532–MAX5535 outputs are driven to zero scale, providing additional safety for applications that drive valves or for other transducers that need to be off during power-up. The zero-scale outputs enable glitch-free power-up.

The MAX5532 accepts an external reference input and provides unity-gain outputs. The MAX5533 contains a precision internal reference and provides a buffered external reference output with unity-gain DAC outputs. The MAX5534 accepts an external reference input and provides force-sense outputs. The MAX5535 contains a precision internal reference and provides a buffered external reference output with force-sense DAC outputs.

The MAX5534/MAX5535 are available in a 4mm x 4mm x 0.8mm, 12-pin, thin QFN package. The MAX5532/MAX5533 are available in an 8-pin µMAX® package. All devices are guaranteed over the extended -40°C to +85°C temperature range.

For 10-bit compatible devices, refer to the MAX5522–MAX5525 data sheet. For 8-bit compatible devices, refer to the MAX5512–MAX5515 data sheet.

Applications

  • Automatic Trimming and Calibration in Factory or Field
  • Chemical Sensor Cell Bias for Gas Monitors
  • Industr

Subscribe to Welllinkchips !
Your Name
* Email
Submit a request