0
AD5778R
  • AD5778R
  • AD5778R

AD5778R

RECOMMENDED FOR NEW DESIGNS

2-Channel, 300 mA Current Source Output 16-Bit SoftSpan DAC

Analog Devices AD5778R Product Info

10 February 2026 8

Features

  • Per channel programmable output ranges: 300 mA, 200 mA, 100 mA, 50 mA, 25 mA, 12.5 mA, 6.25 mA, and 3.125 mA
  • Flexible 2.85 V to 33 V supply voltage
  • 1 V dropout guaranteed
  • Separate voltage supply per output channel
  • Internal switches to optional negative supply
  • Full 16-bit resolution at all ranges
  • Guaranteed operation –40°C to 125°C
  • Precision (10 ppm/°C maximum) internal reference or external reference input
  • Analog mux monitors, voltages, and currents
  • A/B toggle via SPI or dedicated pin
  • 1.8 V to 5 V SPI
  • 32-lead (5 mm × 5 mm) QFN package

Part details & applications

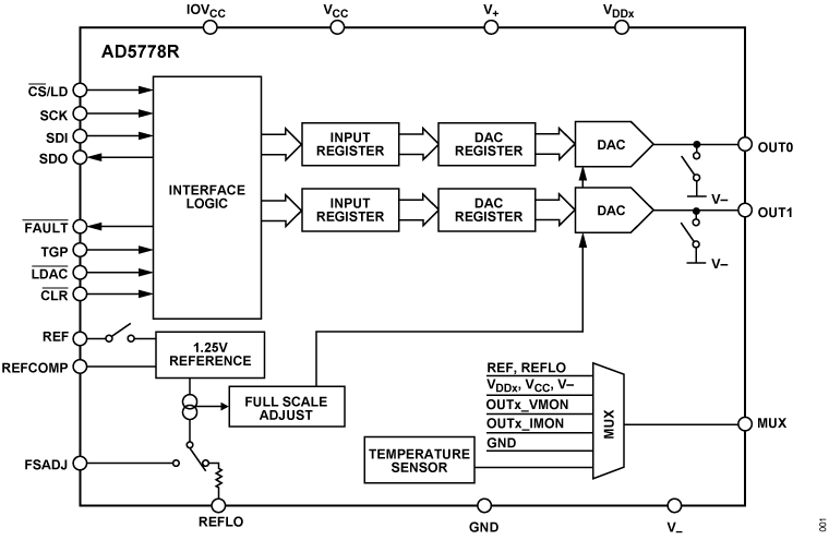
The AD5778R is a 2-channel, 16-bit current source digital-to-analog converter (DAC), providing two high-compliance current source outputs with a guaranteed 1 V dropout at 200 mA. The device supports load voltages of up to 32 V. There are eight current ranges, programmable per channel, with full-scale outputs of up to 300 mA. Additionally, the channels can be paralleled to allow for ultrafine adjustments of large currents or for combined outputs of up to 600 mA.

A dedicated supply pin is provided for every output channel. Each channel can be operated from 2.85 V to 33 V, and internal switches allow any output to be pulled to the optional negative supply.

The AD5778R includes a precision integrated 1.25 V reference (10 ppm/°C maximum), with the option to use an external reference.

The SPI-/Microwire-compatible 3-wire serial interface operates on logic levels as low as 1.71 V at clock rates up to 50 MHz.

APPLICATIONS

  • Tunable lasers
  • Semiconductor optical amplifiers
  • Resistive heaters
  • Current-mode biasing
  • Proportional solenoid drive

Subscribe to Welllinkchips !
Your Name
* Email
Submit a request