0
LTC1348
  • LTC1348
  • LTC1348
  • LTC1348

LTC1348

PRODUCTION

3.3V/5V Low Power RS232 3-Driver/5-Receiver Transceiver

Analog Devices LTC1348 Product Info

10 February 2026 9

Features

  • Low Supply Current: 600µA at 3.3V
  • Supply Current in Shutdown: 0.2µA
  • Supply Current in Receiver Alive Mode: 15µA
  • ESD Protection over ±10kV
  • Operates from a Single 3V to 5.5V Supply
  • Operates to 120kBaud with 0.1µF Flying Capacitors
  • Three-State Outputs Are High Impedance When Off
  • Output Overvoltage Does Not Force Current Back into Supplies
  • RS232 I/O Lines Can Be Forced to ±25V Without Damage
  • Flowthrough Architecture

Part details & applications

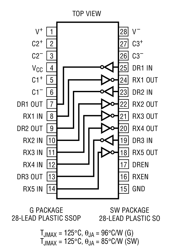
The LTC1348 is a 3-driver/5-receiver RS232 transceiver with very low supply current. The charge pump only requires five 0.1 µF capacitors. The LTC1348 provides full RS232 output levels when operated over a wide supply range of 3V to 5.5V

The transceiver operates in one of four modes: Normal, Receiver Disable, Receiver Alive and Shutdown. In Normal or Receiver Disable mode, ICC is only 600µA at 3.3V and 800µA at 5V in the no load condition. In Shutdown mode, the supply current is further reduced to 0.2µA. In Receiver Alive mode, all five receivers are kept alive and the supply current is 15µA. All RS232 outputs assume a high impedance state in Shutdown or Receiver Alive mode or with the power off. The receiver outputs assume a high impedance state in Receiver Disable or with the power off.

The LTC1348 is fully compliant with all data rate and overvoltage RS232 specifications. The transceiver operates up to 120kBaud with all drivers loaded with 1000pF, 3kΩ Both driver outputs and receiver inputs can be forced to ±25V without damage and can survive multiple ±10kV ESD strikes.

Applications

  • Notebook Computers
  • Palmtop Computers
  • Printers
  • Portable Instruments

Subscribe to Welllinkchips !
Your Name
* Email
Submit a request