0
AD9977
  • AD9977
  • AD9977

AD9977

NOT RECOMMENDED FOR NEW DESIGNS

Dual-Channel, 14-Bit CCD Signal Processor with Precision Timing™ Core

Analog Devices AD9977 Product Info

10 February 2026 6

Features

  • 1.8 V analog and digital core supply voltage
  • Serial data link with reduced range LVDS outputs
  • Correlated double sampler (CDS) with −3, 0, +3, +6 dB gain
  • 6 dB to 42 dB, 10-bit variable gain amplifier (VGA)
  • Black level clamp with variable level control
  • 14-bit, 65 MHz A/D converter
  • Complete on-chip timing generator
  • Precision Timing core with 240 ps resolution @ 65 MHz
  • On-chip 3 V horizontal and RG drivers
  • 6 mm × 6 mm, 84-ball CSP_BGA package

Part details & applications

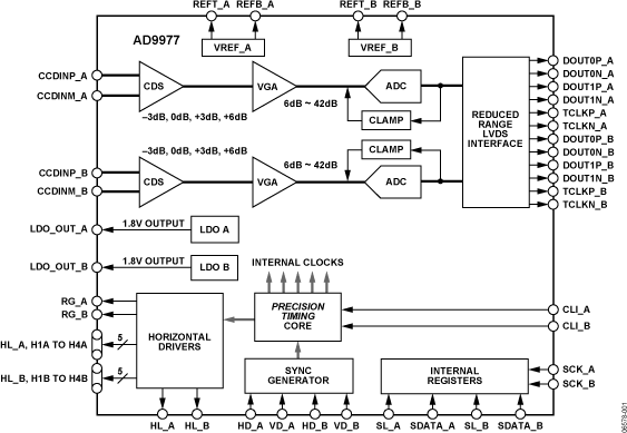
The AD9977 is a highly integrated dual channel CCD signal processor for high speed digital video camera applications. Each channel is specified at pixel rates of up to 65 MHz, and consists of a complete analog front end with A/D conversion combined with a programmable timing driver. The Precision Timing core allows adjustment of high speed clocks with 240 ps resolution at 65 MHz operation. The AD9977 also contains a reduced range LVDS interface for the dual-channel data outputs.

Each analog front end includes black level clamping, CDS, VGA, and a 65 MSPS, 14-bit A/D converter. The timing driver provides the high speed CCD clock drivers for RG, HL, and H1 to H4. Operation is programmed using a 3-wire serial interface.

Packaged in a space-saving 6 mm × 6 mm, 84-ball CSP_BGA package, the AD9977 is specified over an operating temperature range of −25°C to +85°C.

APPLICATIONS

  • Professional HDTV camcorders
  • Professional, high-end digital cameras
  • Broadcast cameras
  • Industrial high speed cameras

Subscribe to Welllinkchips !
Your Name
* Email
Submit a request