0
ADEMA127
  • ADEMA127
  • ADEMA127
  • ADEMA127
  • ADEMA127

ADEMA127

RECOMMENDED FOR NEW DESIGNS

Simultaneously Sampling 4- and 7-Channel ΣΔ ADC with SPI

Analog Devices ADEMA127 Product Info

10 February 2026 7

Features

  • 4- or 7-channel high performance, simultaneous sampling Σ-Δ ADCs
    • SNR up to 105dB
    • Programmable sample rate of up to 64kSPS
    • Wide input-voltage range: ±1.2VPK, 848mVRMS full-scale
    • High impedance, differential inputs
  • Internal voltage reference temperature coefficient: 5ppm/°C typical
  • Integrated digital integrator and high-pass filter for use with Rogowski coils
  • Fast start-up with first samples in 0.5ms after valid supply
  • Tamper detect mode, low power for battery back-up
  • 4-wire SPI with bidirectional CRC and daisy-chain functionality
  • Simple synchronization of multiple ADC devices
  • Gain, phase, and offset compensation for each channel
  • Unique SPI readable part ID registers
  • Only 18mW power consumption with 7-channel ADC
  • Wide temperature range: −40°C to +125°C
  • Compact 32-lead, 5mm x 5mm LFCSP

Part details & applications

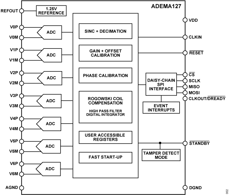
The ADEMA124/ADEMA127 are 4- and 7-channel simultaneously sampling 24-bit sigma delta analog-to-digital converters (ADC), ideal for use in polyphase or split-phase energy metering applications. The ADEMA124/ADEMA127 are compatible with voltage dividers, shunts, and isolated current sensors such as current transformers and Rogowski coils.

The ADEMA124/ADEMA127 include independent hardware and DSP filters enabling gain, phase and offset compensation on each ADC channel. The ADEMA124/ADEMA127 also have bespoke compensation and DSP features, which include an integrator and second-order high-pass filter to allow streamlined Rogowski sensor implementations. DSP filter coefficients for typical use cases are automatically loaded and are accessible for customization of filter characteristics.

The sinc compensation, LPF, and DSP decimate-by-2 feature extend the usable analog bandwidth by up to 70% for a given output sample rate. The high bandwidth makes ADEMA124/ADEMA127 suitable for IEC 61000-4-30 Power Quality Class A and Class S meters. The ADEMA124/ADEMA127 can be used in systems compliant to active energy standards IEC 62053-21, IEC 62053-22, OIML R46ANSI, and C12.20 and reactive energy standards IEC 62053-23, IEC 62053-24, and EN 50470-3. The ADEMA124/ADEMA127 can be used in circuit breakers and protection relays, particularly with a Rogowski sensor due to a 0.5ms fast start-up time.

The ADEMA124/ADEMA127 have a flexible SPI interface for configuration and data retrieval. The daisy-chain SPI interface allows multiple compatible ADCs to be serviced simultaneously by a single SPI port, which saves many pins on the host microcontroller. Additionally, the SPI port is daisy-chain compatible with the 2- and 3-channel isolated ADC, ADE9112/ADE9113. To maintain integrity of ADC waveform data, independent cyclic redundancy checks (C

Subscribe to Welllinkchips !
Your Name
* Email
Submit a request