0
DS3502
  • DS3502

DS3502

PRODUCTION

High-Voltage NV I²C Potentiometer Low-Cost Potentiometer

Analog Devices DS3502 Product Info

10 February 2026 7

Features

  • 128 Wiper Tap Points
  • Full-Scale Resistance: 10kΩ
  • I²C-Compatible Serial Interface
  • Address Pins Allow Up to Four DS3502s to Share the Same I²C Bus
  • Digital Operating Voltage: 2.5V to 5.5V
  • Analog Operating Voltage: 4.5V to 15.5V
  • Operating Temperature: -40°C to +100°C
  • 10-Pin µSOP Package

Part details & applications

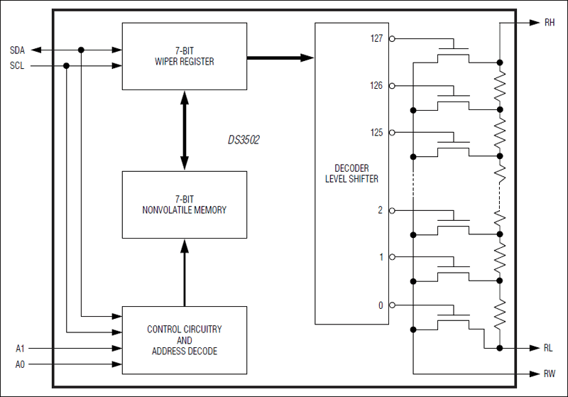
The DS3502 is a 7-bit, nonvolatile (NV) digital potentiometer featuring an output voltage range of up to 15.5V. Programming is accomplished by an I²C-compatible interface, which can operate at speeds of up to 400kHz. External voltages are applied at the RL and RH inputs to define the lowest and highest potentiometer outputs.

Applications

  • Instrumentation and Industrial Controls
  • Mechanical POT Replacement
  • TFT-LCD VCOM Calibration

Subscribe to Welllinkchips !
Your Name
* Email
Submit a request