0
ADF7022
  • ADF7022
  • ADF7022

ADF7022

NOT RECOMMENDED FOR NEW DESIGNS

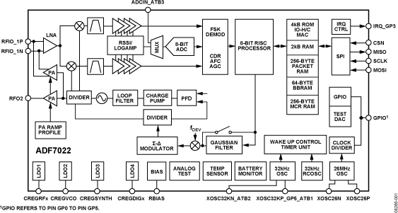
io-homecontrol® Compliant RF Transceiver

Analog Devices ADF7022 Product Info

10 February 2026 7

Features

  • Very low power, high performance, low IF transceiver
  • Fully integrated io-homecontrol®-compliant protocol
  • Autonomous packet handling without intervention of host microprocessor thus significantly increasing battery life
  • 1-way and 2-way communication supported
  • Automatic wake-up timer
  • 32-bit hardware timer, 16-bit firmware timer (48 bits total)
  • Patented fast settling automatic frequency control (AFC)
  • Digital RSSI
  • Uses either
    External 32 kHz crystal
    Internal 32 kHz RC oscillator
  • Fully integrated image rejection calibration (patent pending)
  • Operating frequencies
    Channel 1: 868.25 MHz
    Channel 2: 868.95 MHz
    Channel 3: 869.85 MHz
  • For more detailed Features, please see Data Sheet

Part details & applications

The ADF7022 is a very low power, high performance, highly integrated FSK/GFSK transceiver designed for operation at the three io-homecontrol® channels at 868.25 MHz, 868.95 MHz and 869.85 MHz in the license-free ISM band. The ADF7022 is fully compliant to ETSI-300-220, and is based on the popular ADF7020 transceiver with enhanced digital baseband features specifically designed for the io-homecontrol® standard.

APPLICATIONS

  • Home automation
  • Process and building control

Subscribe to Welllinkchips !
Your Name
* Email
Submit a request