0
ADF5355
  • ADF5355
  • ADF5355

ADF5355

RECOMMENDED FOR NEW DESIGNS

Microwave Wideband Synthesizer with Integrated VCO

Analog Devices ADF5355 Product Info

10 February 2026 6

Features

  • RF output frequency range: 54 MHz to 13,600 MHz
  • Fractional-N synthesizer and integer-N synthesizer
  • High resolution 38-bit modulus
  • Phase frequency detector (PFD) operation to 125 MHz
  • Reference frequency operation to 600 MHz
  • Maintains frequency lock over −40°C to +85°C
  • Low phase noise, voltage controlled oscillator (VCO)
  • Programmable divide by 1, 2, 4, 8, 16, 32, or 64 output
  • Analog and digital power supplies: 3.3 V
  • Charge pump and VCO power supplies: 5.0 V, typical
  • Logic compatibility: 1.8 V
  • Programmable dual modulus prescaler of 4/5 or 8/9
  • Programmable output power level
  • RF output mute function
  • Analog and digital lock detect
  • Supported in the ADIsimPLL design tool

Part details & applications

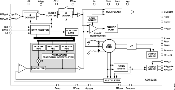
The ADF5355 allows implementation of fractional-N or integer-N phase-locked loop (PLL) frequency synthesizers when used with an external loop filter and an external reference frequency. The wideband microwave VCO design permits frequency operation from 6.8 GHz to 13.6 GHz at one radio frequency (RF) output. A series of frequency dividers at another frequency output permits operation from 54 MHz to 6800 MHz.

The ADF5355 has an integrated VCO with a fundamental output frequency ranging from 3400 MHz to 6800 MHz. In addition, the VCO frequency is connected to divide by 1, 2, 4, 8, 16, 32, or 64 circuits that allow the user to generate RF output frequencies as low as 54 MHz. For applications that require isolation, the RF output stage can be muted. The mute function is both pin and software controllable.

Control of all on-chip registers is through a simple 3-wire interface. The ADF5355 operates with analog and digital power supplies ranging from 3.15 V to 3.45 V, with charge pump and VCO supplies from 4.75 V to 5.25 V. The ADF5355 also contains hardware and software power-down modes.

Applications

  • Wireless infrastructure (W-CDMA, TD-SCDMA, WiMAX, GSM, PCS, DCS, DECT)
  • Point to point/point to multipoint microwave links
  • Satellites/VSATs
  • Test equipment/instrumentation
  • Clock generation

Subscribe to Welllinkchips !
Your Name
* Email
Submit a request