0
AD9861
  • AD9861
  • AD9861

AD9861

NOT RECOMMENDED FOR NEW DESIGNS

Mixed-Signal Front-End (MxFE™) Baseband Transceiver for Broadband Applications

Analog Devices AD9861 Product Info

10 February 2026 8

Features

  • Receive path includes dual 10-bit analog-to-digital converters with internal or external reference, 50 MSPS and 80 MSPS versions
  • Transmit path includes dual 10-bit, 200 MSPS digital-to-analog converters with 1×, 2×, or 4× interpolation and programmable gain control
  • Internal clock distribution block includes a programmable phase-locked loop and timing generation circuitry, allowing single-reference clock operation 
  • 20-pin flexible I/O data interface allows various interleaved or noninterleaved data transfers in half-duplex mode and interleaved data transfers in full-duplex mode 
  • Configurable through register programmability or optionally limited programmability through mode pins 
  • Independent Rx and Tx power-down control pins 
  • 64-lead LFCSP package (9 mm × 9 mm footprint) 
  • 3 configurable auxiliary converter pins

Part details & applications

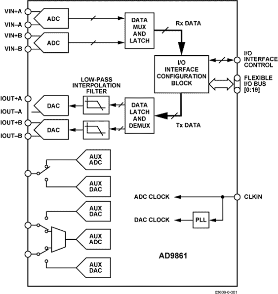
The AD9861 is a member of the MxFE family—a group of integrated converters for the communications market. The AD9861 integrates dual 10-bit analog-to-digital converters (ADC) and dual 10-bit digital-to-analog converters (TxDAC®). Two speed grades are available, -50 and -80. The -50 is optimized for ADC sampling of 50 MSPS and less, while the -80 is optimized for ADC sample rates between 50 MSPS and 80 MSPS. The dual TxDACs operate at speeds up to 200 MHz and include a bypassable 2× or 4× interpolation filter. Three auxiliary converters are also available to provide required system level control voltages or to monitor system signals. The AD9861 is optimized for high performance, low power, small form factor, and to provide a cost-effective solution for the broadband communication market.

The AD9861 uses a single input clock pin (CLKIN) to generate all system clocks. The ADC and TxDAC clocks are generated within a timing generation block that provides user programmable options such as divide circuits, PLL multipliers, and switches.

A flexible, bidirectional 20-bit I/O bus accommodates a variety of custom digital back ends or open market DSPs.

In half-duplex systems, the interface supports 20-bit parallel transfers or 10-bit interleaved transfers. In full-duplex systems, the interface supports an interleaved 10-bit ADC bus and an interleaved 10-bit TxDAC bus. The flexible I/O bus reduces pin count and, therefore, reduces the required package size on the AD9861 and the device to which it connects.

The AD9861 can use either mode pins or a serial programmable interface (SPI) to configure the interface bus, operate the ADC in a low power mode, configure the TxDAC interpolation rate, and control ADC and TxDAC power-down. The SPI provides more programmable options for both the TxDAC path (for example, coarse and fine gain control and offset control for channel matching) and the ADC path (f

Subscribe to Welllinkchips !
Your Name
* Email
Submit a request