0
AD9833
  • AD9833
  • AD9833

AD9833

PRODUCTION

Low Power, 12.65 mW, 2.3 V to 5.5 V, Programmable Waveform Generator

Analog Devices AD9833 Product Info

10 February 2026 7

Features

  • Digitally programmable frequency and phase
  • 12.65 mW power consumption at 3 V
  • 0 MHz to 12.5 MHz output frequency range
  • 28-bit resolution: 0.1 Hz at 25 MHz reference clock
  • Sinusoidal, triangular, and square wave outputs
  • 2.3 V to 5.5 V power supply
  • No external components required
  • 3-wire SPI interface
  • Extended temperature range: −40°C to +105°C
  • Power-down option
  • 10-lead MSOP package
  • AEC-Q100 qualified for automotive applications
AD9833-EP supports defense and aerospace applications (AQEC standard)
  • Download AD9833-EP data sheet (pdf)
  • Temperature range:
    −55°C to +125°C
  • Controlled manufacturing baseline
  • 1 assembly/test site
  • 1 fabrication site
  • Enhanced product change notification
  • Qualification data available upon request
  • V62/14619-01XE DSCC Drawing Number

Part details & applications

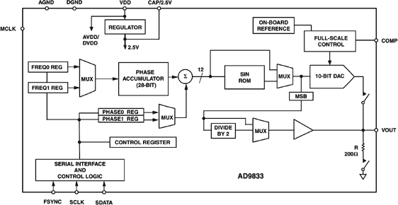
The AD9833 is a low power, programmable waveform generator capable of producing sine, triangular, and square wave outputs. Waveform generation is required in various types of sensing, actuation, and time domain reflectometry (TDR) applications. The output frequency and phase are software programmable, allowing easy tuning. No external components are needed. The frequency registers are 28 bits wide: with a 25 MHz clock rate, resolution of 0.1 Hz can be achieved; with a 1 MHz clock rate, the AD9833 can be tuned to 0.004 Hz resolution.

The AD9833 is written to via a 3-wire serial interface. This serial interface operates at clock rates up to 40 MHz and is compatible with DSP and microcontroller standards. The device operates with a power supply from 2.3 V to 5.5 V.

The AD9833 has a power-down function (SLEEP). This function allows sections of the device that are not being used to be powered down, thus minimizing the current consumption of the part. For example, the DAC can be powered down when a clock output is being generated.

The AD9833 is available in a 10-lead MSOP package.

Applications

  • Frequency stimulus/waveform generation
  • Liquid and gas flow measurement
  • Sensory applications: proximity, motion, and defect detection
  • Line loss/attenuation
  • Test and medical equipment
  • Sweep/clock generators
  • Time domain reflectometry (TDR) applications

Subscribe to Welllinkchips !
Your Name
* Email
Submit a request