0
AD5675
  • AD5675
  • AD5675

AD5675

PRODUCTION

Octal, 16-Bit nanoDAC+ with I2C Interface

Analog Devices AD5675 Product Info

10 February 2026 11

Features

  • High performance
    • High relative accuracy (INL): ±3 LSB maximum at 16 bits
    • Total unadjusted error (TUE): ±0.14% of FSR maximum
    • Offset error: ±1.5 mV maximum
    • Gain error: ±0.06% of FSR maximum
  • Wide operating ranges
    • −40°C to +125°C temperature range
    • 2.7 V to 5.5 V power supply
  • Easy implementation
    • User selectable gain of 1 or 2 (GAIN pin/bit)
    • 1.8 V logic compatibility
  • I2C-compatible serial interface
  • Robust 2 kV HBM and 1.5 kV FICDM ESD rating
  • 20-lead TSSOP and LFCSP RoHS-compliant packages

Part details & applications

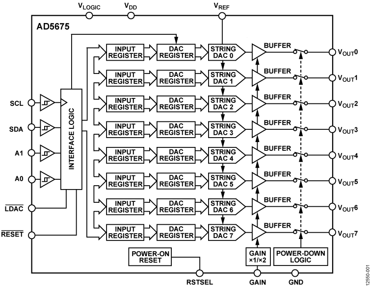
The AD5675 is a low power, octal, 16-bit buffered voltage output digital-to-analog converter (DAC). The device includes a gain select pin, giving a full-scale output of VREF (gain = 1) or 2 × VREF (gain = 2). The device operates from a single 2.7 V to 5.5 V supply and is guaranteed monotonic by design. The AD5675 is available in 20-lead TSSOP and LFCSP packages. The power-on reset circuit and a RSTSEL pin ensure that the output DACs power up to zero scale or midscale and remain there until a valid write takes place. The AD5675 contains a power-down mode, reducing the current consumption to 1 µA typical while in power-down mode. The AD5675 uses a versatile 2-wire serial interface that operates at clock rates up to 400 kHz, and includes a VLOGIC pin intended for 1.8 V to 5.5 V logic.

Applications

  • Optical transceivers
  • Base station power amplifiers
  • Process control (PLC input/output cards)
  • Industrial automation
  • Data acquisition systems

Subscribe to Welllinkchips !
Your Name
* Email
Submit a request