0
TXS0108E-Q1
  • TXS0108E-Q1
  • TXS0108E-Q1
  • TXS0108E-Q1
  • TXS0108E-Q1

TXS0108E-Q1

ACTIVE

Automotive eight-bit bidirectional voltage level shifter for open-drain and push-pull applications

Texas Instruments TXS0108E-Q1 Product Info

1 April 2026 0

Parameters

Bits (#)

8

Data rate (max) (Mbps)

110

Topology

Open drain, Push-Pull

Direction control (typ)

Auto-direction

Vin (min) (V)

1.4

Vin (max) (V)

3.6

Vout (min) (V)

1.65

Vout (max) (V)

5.5

Applications

GPIO, I2C, JTAG, MDIO, SDIO, SMBus, SPI, UART

Features

Edge rate accelerator, Output enable

Prop delay (ns)

4.8

Technology family

TXS

Supply current (max) (mA)

0.008

Rating

Automotive

Operating temperature range (°C)

-40 to 125

Package

TSSOP (PW)-20-41.6 mm² 6.5 x 6.4

Features

  • AEC-Q100 qualified for automotive applications:
    • Device temperature grade 1: –40°C to 125°C
    • Device HBM ESD classification level 2

    • Device CDM ESD classification level C6

  • No direction-control signal needed
  • Maximum data rates:
    • 110Mbps (push pull)
    • 1.2Mbps (open drain)
  • 1.4V to 3.6V on A port and 1.65V to 5.5V on B port (VCCA ≤ VCCB)
  • No power-supply sequencing required – either VCCA or VCCB can be ramped first
  • Latch-up performance exceeds 100mA per JESD 78, class II
  • ESD protection exceeds JESD 22 (A port):
    • 2000V Human Body Model (A114-B)
    • 150V Machine Model (A115-A)
    • 1000V Charged-Device Model (C101)
  • IEC 61000-4-2 ESD (B-port):
    • ± 8kV Contact Discharge
    • ± 6kV Air Discharge
  • AEC-Q100 qualified for automotive applications:
    • Device temperature grade 1: –40°C to 125°C
    • Device HBM ESD classification level 2

    • Device CDM ESD classification level C6

  • No direction-control signal needed
  • Maximum data rates:
    • 110Mbps (push pull)
    • 1.2Mbps (open drain)
  • 1.4V to 3.6V on A port and 1.65V to 5.5V on B port (VCCA ≤ VCCB)
  • No power-supply sequencing required – either VCCA or VCCB can be ramped first
  • Latch-up performance exceeds 100mA per JESD 78, class II
  • ESD protection exceeds JESD 22 (A port):
    • 2000V Human Body Model (A114-B)
    • 150V Machine Model (A115-A)
    • 1000V Charged-Device Model (C101)
  • IEC 61000-4-2 ESD (B-port):
    • ± 8kV Contact Discharge
    • ± 6kV Air Discharge

Description

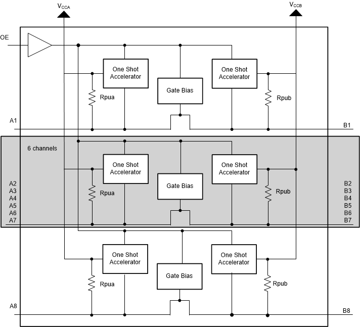
This device is an 8-bit non-inverting level translator which uses two separate configurable power-supply rails. The A port tracks the VCCA pin supply voltage. The VCCA pin accepts any supply voltage between 1.4V and 3.6V. The B port tracks the VCCB pin supply voltage. The VCCB pin accepts any supply voltage between 1.65V and 5.5V. Two input supply pins allows for low Voltage bidirectional translation between any of the 1.5V, 1.8V, 2.5V, 3.3V, and 5V voltage nodes.

When the output-enable (OE) input is low, all outputs are placed in the high-impedance (Hi-Z) state.

To put the device in the Hi-Z state during power-up or power-down periods, tie OE to GND through a pull-down resistor. The current-sourcing capability of the driver determines the minimum value of the resistor.

This device is an 8-bit non-inverting level translator which uses two separate configurable power-supply rails. The A port tracks the VCCA pin supply voltage. The VCCA pin accepts any supply voltage between 1.4V and 3.6V. The B port tracks the VCCB pin supply voltage. The VCCB pin accepts any supply voltage between 1.65V and 5.5V. Two input supply pins allows for low Voltage bidirectional translation between any of the 1.5V, 1.8V, 2.5V, 3.3V, and 5V voltage nodes.

When the output-enable (OE) input is low, all outputs are placed in the high-impedance (Hi-Z) state.

To put the device in the Hi-Z state during power-up or power-down periods, tie OE to GND through a pull-down resistor. The current-sourcing capability of the driver determines the minimum value of the resistor.

Subscribe to Welllinkchips !
Your Name
* Email
Submit a request