0
ACTIVE
Resolution (Bits) |
12 |
Sample rate (max) (ksps) |
66 |
Number of input channels |
11 |
Interface type |
SPI |
Architecture |
SAR |
Input type |
Single-ended |
Multichannel configuration |
Multiplexed |
Rating |
Military |
Reference mode |
External |
Input voltage range (max) (V) |
5.5 |
Input voltage range (min) (V) |
0 |
Operating temperature range (°C) |
-55 to 125 |
Power consumption (typ) (mW) |
5 |
Analog supply voltage (min) (V) |
4.5 |
Analog supply voltage (max) (V) |
5.5 |
Digital supply (min) (V) |
4.5 |
Digital supply (max) (V) |
5.5 |
CDIP (J)-20-167.464 mm² 24.2 x 6.92

Microcontroller Based Data Acquisition Using the TLC2543 12-bit Serial-Out ADC (SLAA012)
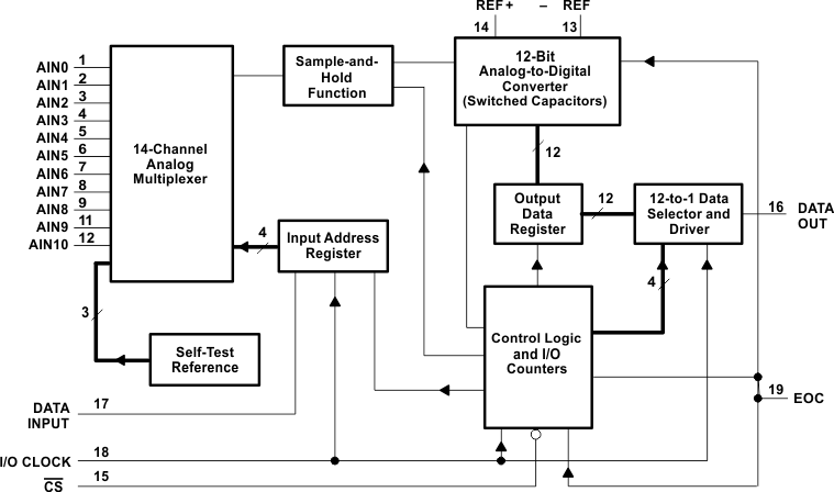
The TLC2543C and TLC2543I are 12-bit, switched-capacitor, successive-approximation, analog-to-digital converters. Each device, with three control inputs [chip select (CS), the input-output clock, and the address input (DATA INPUT)], is designed for communication with the serial port of a host processor or peripheral through a serial 3-state output. The device allows high-speed data transfers from the host.
In addition to the high-speed converter and versatile control capability, the device has an on-chip 14-channel multiplexer that can select any one of 11 inputs or any one of three internal self-test voltages. The sample-and-hold function is automatic. At the end of conversion, the end-of-conversion (EOC) output goes high to indicate that conversion is complete. The converter incorporated in the device features differential high-impedance reference inputs that facilitate ratiometric conversion, scaling, and isolation of analog circuitry from logic and supply noise. A switched-capacitor design allows low-error conversion over the full operating temperature range.
The TLC2543C is characterized for operation from TA = 0°C to 70°C. The TLC2543I is characterized for operation from TA = 40°C to 85°C. The TLC2543M is characterized for operation from TA = 55°C to 125°C.