0
TAS5780M
  • TAS5780M
  • TAS5780M

TAS5780M

ACTIVE

20-W stereo, 40-W mono, 4.5- to 26.4-V supply, digital input Class-D audio amplifier

Texas Instruments TAS5780M Product Info

1 April 2026 1

Parameters

Audio input type

Digital Input

Architecture

Class-D

Speaker channels (max)

Stereo

Control interface

Software

Output power (W)

40

Power stage supply (max) (V)

26.4

Power stage supply (min) (V)

4.5

RDS(on) (Ω)

0.09

THD + N at 1 kHz (%)

0.2

Load (min) (Ω)

3

Analog supply voltage (min) (V)

4.5

Analog supply voltage (max) (V)

26.4

Rating

Catalog

Operating temperature range (°C)

-25 to 85

Package

HTSSOP (DCA)-48-101.25 mm² 12.5 x 8.1

Features

  • Flexible Audio I/O Configuration
    • Supports I2S, TDM, LJ, RJ Digital Input
    • Sample Rate Support
    • Stereo Bridge Tied Load (BTL) or Mono Parallel Bridge Tied Load (PBTL) Operation
    • 1SPW Amplifier Modulation
    • Supports 3-Wire Digital Audio Interface (No MCLK required)
  • High-Performance Closed-Loop Architecture (PVDD = 12 V, RSPK = 8 Ω, SPK_GAIN = 20 dB)
    • Idle Channel Noise = 62 µVrms (A-Wtd)
    • THD+N = 0.2% (at 1 W, 1 kHz)
    • SNR = 103dB A-Wtd (Ref. to THD+N = 1%)
  • Fixed-Function Processing Features
    • 12 BiQuads
      • Internal Bank Switch for Fast Change of the 12 BiQuads
    • 2-Band Advanced DRC + AGL
    • DPEQ
    • SRC supports 32, 44.1, 48, 88.2, 96 kHz
    • 96-kHz Processor Sampling
  • Communication Features
    • Software Mode Control via I2C Port
    • Two Address Select Pins – Up to 4 Devices
  • Robustness and Reliability Features
    • Clock Error and Short-Circuit Protection
    • Overtemperature and Overcurrent Protection
  • Flexible Audio I/O Configuration
    • Supports I2S, TDM, LJ, RJ Digital Input
    • Sample Rate Support
    • Stereo Bridge Tied Load (BTL) or Mono Parallel Bridge Tied Load (PBTL) Operation
    • 1SPW Amplifier Modulation
    • Supports 3-Wire Digital Audio Interface (No MCLK required)
  • High-Performance Closed-Loop Architecture (PVDD = 12 V, RSPK = 8 Ω, SPK_GAIN = 20 dB)
    • Idle Channel Noise = 62 µVrms (A-Wtd)
    • THD+N = 0.2% (at 1 W, 1 kHz)
    • SNR = 103dB A-Wtd (Ref. to THD+N = 1%)
  • Fixed-Function Processing Features
    • 12 BiQuads
      • Internal Bank Switch for Fast Change of the 12 BiQuads
    • 2-Band Advanced DRC + AGL
    • DPEQ
    • SRC supports 32, 44.1, 48, 88.2, 96 kHz
    • 96-kHz Processor Sampling
  • Communication Features
    • Software Mode Control via I2C Port
    • Two Address Select Pins – Up to 4 Devices
  • Robustness and Reliability Features
    • Clock Error and Short-Circuit Protection
    • Overtemperature and Overcurrent Protection

Description

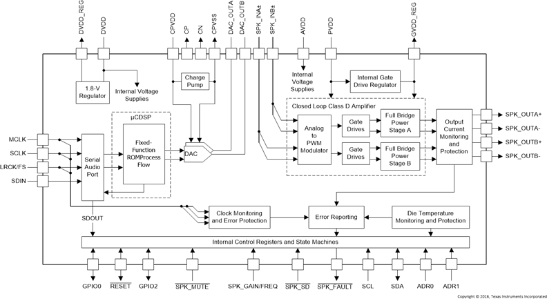
The TAS5780M device is a high-performance, stereo closed-loop Class-D amplifier with integrated audio processor with 96-kHz architecture. To convert from digital to analog, the device uses a high performance DAC with Burr Brown™ audio technology. It requires only two power supplies: one DVDD for low-voltage circuitry and one PVDD for high-voltage circuitry. It is controlled by a software control port using standard I2C communication.

An optimal mix of thermal performance and device cost is provided in the 90 mΩ rDS(on) of the output MOSFETs. Additionally, a thermally enhanced 48-Pin TSSOP provides excellent operation in the elevated ambient temperatures found in modern consumer electronic devices.

The TAS5780M device is a high-performance, stereo closed-loop Class-D amplifier with integrated audio processor with 96-kHz architecture. To convert from digital to analog, the device uses a high performance DAC with Burr Brown™ audio technology. It requires only two power supplies: one DVDD for low-voltage circuitry and one PVDD for high-voltage circuitry. It is controlled by a software control port using standard I2C communication.

An optimal mix of thermal performance and device cost is provided in the 90 mΩ rDS(on) of the output MOSFETs. Additionally, a thermally enhanced 48-Pin TSSOP provides excellent operation in the elevated ambient temperatures found in modern consumer electronic devices.

Subscribe to Welllinkchips !
Your Name
* Email
Submit a request