0
TAS5756M
  • TAS5756M
  • TAS5756M

TAS5756M

ACTIVE

30-W stereo, 40-W mono, 4.5- to 26.4-V supply, digital input Class-D audio amplifier

Texas Instruments TAS5756M Product Info

1 April 2026 1

Parameters

Audio input type

Digital Input

Architecture

Class-D

Speaker channels (max)

Stereo

Control interface

Software

Output power (W)

40

Power stage supply (max) (V)

26.4

Power stage supply (min) (V)

4.5

RDS(on) (Ω)

0.09

THD + N at 1 kHz (%)

0.006

Load (min) (Ω)

2

Analog supply voltage (min) (V)

4.5

Analog supply voltage (max) (V)

26.4

Rating

Catalog

Operating temperature range (°C)

-25 to 85

Package

HTSSOP (DCA)-48-101.25 mm² 12.5 x 8.1

Features

  • Flexible Audio I/O Configuration
    • Supports I2S, TDM, LJ, RJ Digital Input
    • 8 kHz to 192 kHz Sample Rate Support
    • Stereo Bridge Tied Load (BTL) or Mono Parallel Bridge Tied Load (PBTL) Operation
    • BD Amplifier Modulation
    • Supports 3-Wire Digital Audio Interface (No MCLK required)
  • High-Performance Closed-Loop Architecture (PVDD = 12V, RSPK = 8 Ω, SPK_GAIN = 20 dBV)
    • Idle Channel Noise = 56 µVrms (A-Wtd)
    • THD+N = 0.006 % (at 1 W, 1 kHz)
    • SNR = 104 A-Wtd (Ref. to THD+N = 1%)
  • PurePath HybridFlow Processing Architecture
    • Several Configurable MiniDSP Programs (called HybridFlows)
    • Download Time <100 ms (typ)
    • Advanced Audio Processing Algorithms
  • Communication Features
    • Software Mode Control via I2C Port
    • Two Address Select Pins – Up to 4 Devices
  • Robustness and Reliability Features
    • Clock Error, DC, and Short-Circuit Protection
    • Over Temperature and Overcurrent Protection
  • Flexible Audio I/O Configuration
    • Supports I2S, TDM, LJ, RJ Digital Input
    • 8 kHz to 192 kHz Sample Rate Support
    • Stereo Bridge Tied Load (BTL) or Mono Parallel Bridge Tied Load (PBTL) Operation
    • BD Amplifier Modulation
    • Supports 3-Wire Digital Audio Interface (No MCLK required)
  • High-Performance Closed-Loop Architecture (PVDD = 12V, RSPK = 8 Ω, SPK_GAIN = 20 dBV)
    • Idle Channel Noise = 56 µVrms (A-Wtd)
    • THD+N = 0.006 % (at 1 W, 1 kHz)
    • SNR = 104 A-Wtd (Ref. to THD+N = 1%)
  • PurePath HybridFlow Processing Architecture
    • Several Configurable MiniDSP Programs (called HybridFlows)
    • Download Time <100 ms (typ)
    • Advanced Audio Processing Algorithms
  • Communication Features
    • Software Mode Control via I2C Port
    • Two Address Select Pins – Up to 4 Devices
  • Robustness and Reliability Features
    • Clock Error, DC, and Short-Circuit Protection
    • Over Temperature and Overcurrent Protection

Description

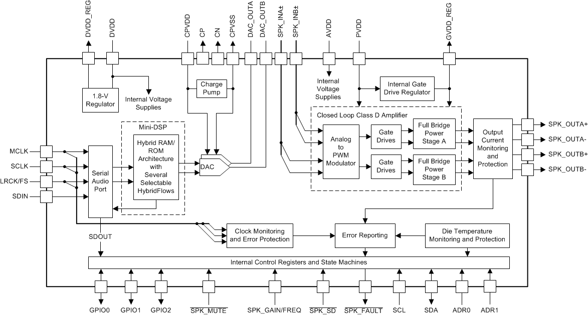
The TAS5756M device is a high-performance, stereo closed-loopamplifier with integrated audio processor with architecture. To convertfrom digital to analog, the device uses a high performance DAC withBurr-Brown mixed signal heritage.It requires only two power supplies; one DVDD for low-voltage circuitry and one PVDD forhigh-voltage circuitry. It is controlled by a software control port using standardI2C communication. In the family, theTAS5756M uses traditional BD modulation, ensuring low distortion characteristics. The TAS5754M uses1SPW modulation to reduce output ripple current, the expense of slightly higher distortion.

The unique HybridFlow architecture allows the system designer tochoose from several configurable DSP programs that are specifically designed for use in popularaudio end equipment such as bluetooth (BT) speakers, sound bars, docking stations, and subwoofers.This architecture combines the flexibility of a fully programmable device with the fast downloadtime and ease of use of a fixed-function ROM device.

An optimal mix of thermal performance and device cost is provided in the90 mΩ rDS(on) of the output MOSFETs. Additionally, athermally enhanced 48-Pin HTSSOP provides excellent operation in the elevated ambienttemperatures found in modern consumer electronic devices.

For all available packages, see the orderable addendum at the end of the datasheet. Please refer to SLAU577 for information regarding Audio Processing options available via the HybridFlow library.Tested on TAS5756MDCAEVM.

The TAS5756M device is a high-performance, stereo closed-loopamplifier with integrated audio processor with architecture. To convertfrom digital to analog, the device uses a high performance DAC withBurr-Brown mixed signal heritage.It requires only two power supplies; one DVDD for low-voltage circuitry and one PVDD forhigh-voltage circuitry. It is controlled by a software control port using standardI2C communication. In the family, theTAS5756M uses traditional BD modulation, ensuring low distortion characteristics. The TAS5754M uses1SPW modulation to reduce output ripple current, the expense of slightly higher distortion.

The unique HybridFlow architecture allows the system designer tochoose from several configurable DSP programs that are specifically designed for use in popularaudio end equipment such as bluetooth (BT) speakers, sound bars, docking stations, and subwoofers.This architecture combines the flexibility of a fully programmable device with the fast downloadtime and ease of use of a fixed-function ROM device.

An optimal mix of thermal performance and device cost is provided in the90 mΩ rDS(on) of the output MOSFETs. Additionally, athermally enhanced 48-Pin HTSSOP provides excellent operation in the elevated ambienttemperatures found in modern consumer electronic devices.

For all available packages, see the orderable addendum at the end of the datasheet. Please refer to SLAU577 for information regarding Audio Processing options available via the HybridFlow library.Tested on TAS5756MDCAEVM.

Subscribe to Welllinkchips !
Your Name
* Email
Submit a request