0
PCM1804-Q1
  • PCM1804-Q1
  • PCM1804-Q1

PCM1804-Q1

ACTIVE

Automotive 112dB SNR Stereo ADC With Differential Inputs

Texas Instruments PCM1804-Q1 Product Info

1 April 2026 0

Parameters

Number of ADC channels

2

Sampling rate (max) (kHz)

192

Analog inputs

2

Control interface

H/W

Digital audio interface

DSP, I2S, L, R

THD+N (dB)

-102

ADC SNR (typ) (dB)

112

Rating

Automotive

Operating temperature range (°C)

-40 to 85

Analog outputs

0

Package

SSOP (DB)-28-79.56 mm² 10.2 x 7.8

Features

  • Qualified for Automotive Applications
  • AEC-Q100 Test Guidance With the Following Results:
    • Device Temperature Grade 3: –40°C to 85°C
      Ambient Operating Temperature Range
    • Device HBM ESD Classification Level H2
    • Device CDM ESD Classification Level C3B
  • 24-Bit Delta-Sigma Stereo A/D Converter
  • High Performance:
    • Dynamic Range: 112 dB (Typical)
    • SNR: 111 dB (Typical)
    • THD+N: –102 dB (Typical)
  • High-Performance Linear Phase Antialias Digital Filter:
    • Pass-Band Ripple: ±0.005 dB
    • Stop-Band Attenuation: –100 dB
  • Fully Differential Analog Input: ±2.5 V
  • Audio Interface: Master- or Slave-Mode Selectable
  • Data Formats: Left-Justified, I2S, Standard 24-Bit, and DSD
  • Function:
    • Peak Detection
    • High-Pass Filter (HPF): –3 dB at 1 Hz,
      fS = 48 kHz
  • Sampling Rate up to 192 kHz
  • System Clock: 128 fS, 256 fS, 384 fS,
    512 fS, or 768 fS
  • Dual Power Supplies:
    • 5 V for Analog
    • 3.3 V for Digital
  • Power Dissipation: 225 mW
  • Small 28-Pin SSOP
  • DSD Output: 1 Bit, 64 fS
  • Qualified for Automotive Applications
  • AEC-Q100 Test Guidance With the Following Results:
    • Device Temperature Grade 3: –40°C to 85°C
      Ambient Operating Temperature Range
    • Device HBM ESD Classification Level H2
    • Device CDM ESD Classification Level C3B
  • 24-Bit Delta-Sigma Stereo A/D Converter
  • High Performance:
    • Dynamic Range: 112 dB (Typical)
    • SNR: 111 dB (Typical)
    • THD+N: –102 dB (Typical)
  • High-Performance Linear Phase Antialias Digital Filter:
    • Pass-Band Ripple: ±0.005 dB
    • Stop-Band Attenuation: –100 dB
  • Fully Differential Analog Input: ±2.5 V
  • Audio Interface: Master- or Slave-Mode Selectable
  • Data Formats: Left-Justified, I2S, Standard 24-Bit, and DSD
  • Function:
    • Peak Detection
    • High-Pass Filter (HPF): –3 dB at 1 Hz,
      fS = 48 kHz
  • Sampling Rate up to 192 kHz
  • System Clock: 128 fS, 256 fS, 384 fS,
    512 fS, or 768 fS
  • Dual Power Supplies:
    • 5 V for Analog
    • 3.3 V for Digital
  • Power Dissipation: 225 mW
  • Small 28-Pin SSOP
  • DSD Output: 1 Bit, 64 fS

Description

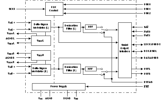
The PCM1804-Q1 device is a high-performance, single-chip stereo A/D converter with fully differential analog voltage input which uses a precision delta-sigma modulator and includes a linear-phase antialias digital filter and high-pass filter (HPF) that removes DC offset from the input signal. The PCM1804-Q1 device is suitable for a wide variety of mid- to high-grade consumer and professional applications, where excellent performance and 5-V analog supply and 3.3-V digital power-supply operation are required. The PCM1804-Q1 device can achieve both PCM audio and DSD format due to the precision delta-sigma modulator. The PCM1804-Q1 device is fabricated using an advanced CMOS process and is available in a small 28-pin SSOP package.

The PCM1804-Q1 device is a high-performance, single-chip stereo A/D converter with fully differential analog voltage input which uses a precision delta-sigma modulator and includes a linear-phase antialias digital filter and high-pass filter (HPF) that removes DC offset from the input signal. The PCM1804-Q1 device is suitable for a wide variety of mid- to high-grade consumer and professional applications, where excellent performance and 5-V analog supply and 3.3-V digital power-supply operation are required. The PCM1804-Q1 device can achieve both PCM audio and DSD format due to the precision delta-sigma modulator. The PCM1804-Q1 device is fabricated using an advanced CMOS process and is available in a small 28-pin SSOP package.

Subscribe to Welllinkchips !
Your Name
* Email
Submit a request