0
MSP430G2231-Q1
  • MSP430G2231-Q1
  • MSP430G2231-Q1
  • MSP430G2231-Q1

MSP430G2231-Q1

ACTIVE

Automotive 16-MHz MCU with 2-kb Flash, 128B SRAM, 10-bit ADC, SPI/I2C, timer

Texas Instruments MSP430G2231-Q1 Product Info

1 April 2026 0

Parameters

CPU

MSP430

Frequency (MHz)

16

Flash memory (kByte)

2

RAM (kByte)

0.128

ADC type

10-bit SAR

Features

Real-time clock, Spy-bi-wire, Watchdog timer

UART

0

Number of ADC channels

8

SPI

1

USB

No

Operating temperature range (°C)

-40 to 85

Rating

Automotive

Communication interface

I2C, SPI

Operating system

BareMetal (No OS), TI RTOS

Hardware accelerators

0

Nonvolatile memory (kByte)

128

Number of GPIOs

10

Number of I2Cs

1

Security

Secure debug

Package

TSSOP (PW)-14-32 mm² 5 x 6.4

Features

  • Qualified for Automotive Applications
  • Low Supply-Voltage Range: 1.8 V to 3.6 V
  • Ultra-Low-Power Consumption
    • Active Mode: 220 µA at 1 MHz, 2.2 V
    • Standby Mode: 0.5 µA
    • Off Mode (RAM Retention): 0.1 µA
  • Five Power-Saving Modes
  • Ultra-Fast Wakeup From Standby Mode in Less Than 1 µs
  • 16-Bit RISC Architecture, 62.5-ns Instruction Cycle Time
  • Basic Clock Module Configurations
    • Internal Frequencies up to 16 MHz With One Calibrated Frequency
    • Internal Very Low Power Low-Frequency (LF) Oscillator
    • 32-kHz Crystal
    • External Digital Clock Source
  • 16-Bit Timer_A With Two Capture/Compare Registers
  • Universal Serial Interface (USI) Supports SPI and I2C
  • Brownout Detector
  • 10-Bit 200-ksps Analog-to-Digital Converter (ADC) With Internal Reference, Sample-and-Hold, and Autoscan
  • Serial Onboard Programming, No External Programming Voltage Needed, Programmable Code Protection by Security Fuse
  • On-Chip Emulation Logic With Spy-Bi-Wire Interface
  • Available Packages
    • 14-Pin Plastic Small-Outline Thin Package (TSSOP) (PW)
    • 16-Pin QFN Package (RSA)
  • Qualified for Automotive Applications
  • Low Supply-Voltage Range: 1.8 V to 3.6 V
  • Ultra-Low-Power Consumption
    • Active Mode: 220 µA at 1 MHz, 2.2 V
    • Standby Mode: 0.5 µA
    • Off Mode (RAM Retention): 0.1 µA
  • Five Power-Saving Modes
  • Ultra-Fast Wakeup From Standby Mode in Less Than 1 µs
  • 16-Bit RISC Architecture, 62.5-ns Instruction Cycle Time
  • Basic Clock Module Configurations
    • Internal Frequencies up to 16 MHz With One Calibrated Frequency
    • Internal Very Low Power Low-Frequency (LF) Oscillator
    • 32-kHz Crystal
    • External Digital Clock Source
  • 16-Bit Timer_A With Two Capture/Compare Registers
  • Universal Serial Interface (USI) Supports SPI and I2C
  • Brownout Detector
  • 10-Bit 200-ksps Analog-to-Digital Converter (ADC) With Internal Reference, Sample-and-Hold, and Autoscan
  • Serial Onboard Programming, No External Programming Voltage Needed, Programmable Code Protection by Security Fuse
  • On-Chip Emulation Logic With Spy-Bi-Wire Interface
  • Available Packages
    • 14-Pin Plastic Small-Outline Thin Package (TSSOP) (PW)
    • 16-Pin QFN Package (RSA)

Description

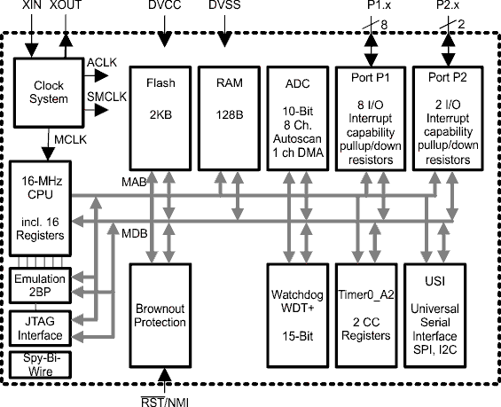
The Texas Instruments MSP430 family of ultra-low-power microcontrollers consists of several devices featuring different sets of peripherals targeted for various applications. The architecture, combined with five low-power modes, is optimized to achieve extended battery life in portable measurement applications. The device features a powerful 16-bit RISC CPU, 16-bit registers, and constant generators that contribute to maximum code efficiency. The digitally controlled oscillator (DCO) allows wake-up from low-power modes to active mode in less than 1 µs.

The MSP430G2231 devices are ultra-low-power mixed signal microcontrollers with a built-in 16-bit timer and ten I/O pins. The MSP430G2231 devices have a 10-bit A/D converter and built-in communication capability using synchronous protocols (SPI or I2C). For configuration details, see .

Typical applications include low-cost sensor systems that capture analog signals, convert them to digital values, and then process the data for display or for transmission to a host system.

The Texas Instruments MSP430 family of ultra-low-power microcontrollers consists of several devices featuring different sets of peripherals targeted for various applications. The architecture, combined with five low-power modes, is optimized to achieve extended battery life in portable measurement applications. The device features a powerful 16-bit RISC CPU, 16-bit registers, and constant generators that contribute to maximum code efficiency. The digitally controlled oscillator (DCO) allows wake-up from low-power modes to active mode in less than 1 µs.

The MSP430G2231 devices are ultra-low-power mixed signal microcontrollers with a built-in 16-bit timer and ten I/O pins. The MSP430G2231 devices have a 10-bit A/D converter and built-in communication capability using synchronous protocols (SPI or I2C). For configuration details, see .

Typical applications include low-cost sensor systems that capture analog signals, convert them to digital values, and then process the data for display or for transmission to a host system.

Subscribe to Welllinkchips !
Your Name
* Email
Submit a request