0
MSP430FR2433
  • MSP430FR2433
  • MSP430FR2433
  • MSP430FR2433

MSP430FR2433

ACTIVE

16 MHz MCU with 16KB FRAM, 4KB SRAM, 10-bit ADC, UART/SPI/I2C, timer

Texas Instruments MSP430FR2433 Product Info

1 April 2026 0

Parameters

CPU

MSP430

Frequency (MHz)

16

Flash memory (kByte)

16

RAM (kByte)

4

ADC type

10-bit SAR

Features

Real-time clock

UART

2

Number of ADC channels

8

SPI

2

USB

No

Hardware accelerators

0

Operating temperature range (°C)

-40 to 85

Rating

Catalog

Communication interface

I2C, SPI, UART

Operating system

BareMetal (No OS), TI RTOS

Nonvolatile memory (kByte)

16

Number of GPIOs

19

Number of I2Cs

1

Security

Secure debug

Package

DSBGA (YQW)-24-4.84 mm² 2.2 x 2.2

Features

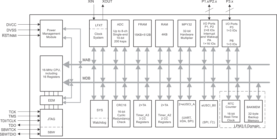
  • Embedded microcontroller
    • 16-bit RISC architecture
    • Clock supports frequencies up to 16 MHz
    • Wide supply voltage range from 3.6 V down to 1.8 V (minimum supply voltage is restricted by SVS levels, see the SVS specifications)
  • Optimized ultra-low-power modes
    • Active mode: 126 µA/MHz (typical)
    • Standby: <1 µA with VLO
    • LPM3.5 real-time clock (RTC) counter with 32768-Hz crystal: 730 nA (typical)
    • Shutdown (LPM4.5): 16 nA (typical)
  • High-performance analog
    • 8-channel 10-bit analog-to-digital converter (ADC)
      • Internal 1.5-V reference
      • Sample-and-hold 200 ksps
  • Enhanced serial communications
    • Two enhanced universal serial communication interfaces (eUSCI_A) support UART, IrDA, and SPI
    • One eUSCI (eUSCI_B) supports SPI and I2C
  • Intelligent digital peripherals
    • Four 16-bit timers
      • Two timers with three capture/compare registers each (Timer_A3)
      • Two timers with two capture/compare registers each (Timer_A2)
    • One 16-bit counter-only RTC
    • 16-bit cyclic redundancy check (CRC)
  • Low-power ferroelectric RAM (FRAM)
    • Up to 15.5KB of nonvolatile memory
    • Built-in error correction code (ECC)
    • Configurable write protection
    • Unified memory of program, constants, and storage
    • 1015 write cycle endurance
    • Radiation resistant and nonmagnetic
    • High FRAM-to-SRAM ratio, up to 4:1
  • Clock system (CS)
    • On-chip 32-kHz RC oscillator (REFO)
    • On-chip 16-MHz digitally controlled oscillator (DCO) with frequency-locked loop (FLL)
      • ±1% accuracy with on-chip reference at room temperature
    • On-chip very low-frequency 10-kHz oscillator (VLO)
    • On-chip high-frequency modulation oscillator (MODOSC)
    • External 32-kHz crystal oscillator (LFXT)
    • Programmable MCLK prescalar of 1 to 128
    • SMCLK derived from MCLK with programmable prescalar of 1, 2, 4, or 8
  • General input/output and pin functionality
    • Total of 19 I/Os on VQFN-24 package
    • 16 interrupt pins (P1 and P2) can wake MCU from low-power modes
  • Development tools and software
  • Family member (also see Device Comparison)
    • MSP430FR2433: 15KB of program FRAM, 512B of information FRAM, 4KB of RAM
  • Package options
    • 24 pin: VQFN (RGE)
    • 24-pin: DSBGA (YQW)
  • Embedded microcontroller
    • 16-bit RISC architecture
    • Clock supports frequencies up to 16 MHz
    • Wide supply voltage range from 3.6 V down to 1.8 V (minimum supply voltage is restricted by SVS levels, see the SVS specifications)
  • Optimized ultra-low-power modes
    • Active mode: 126 µA/MHz (typical)
    • Standby: <1 µA with VLO
    • LPM3.5 real-time clock (RTC) counter with 32768-Hz crystal: 730 nA (typical)
    • Shutdown (LPM4.5): 16 nA (typical)
  • High-performance analog
    • 8-channel 10-bit analog-to-digital converter (ADC)
      • Internal 1.5-V reference
      • Sample-and-hold 200 ksps
  • Enhanced serial communications
    • Two enhanced universal serial communication interfaces (eUSCI_A) support UART, IrDA, and SPI
    • One eUSCI (eUSCI_B) supports SPI and I2C
  • Intelligent digital peripherals
    • Four 16-bit timers
      • Two timers with three capture/compare registers each (Timer_A3)
      • Two timers with two capture/compare registers each (Timer_A2)
    • One 16-bit counter-only RTC
    • 16-bit cyclic redundancy check (CRC)
  • Low-power ferroelectric RAM (FRAM)
    • Up to 15.5KB of nonvolatile memory
    • Built-in error correction code (ECC)
    • Configurable write protection
    • Unified memory of program, constants, and storage
    • 1015 write cycle endurance
    • Radiation resistant and nonmagnetic
    • High FRAM-to-SRAM ratio, up to 4:1
  • Clock system (CS)
    • On-chip 32-kHz RC oscillator (REFO)
    • On-chip 16-MHz digitally controlled oscillator (DCO) with frequency-locked loop (FLL)
      • ±1% accuracy with on-chip reference at room temperature
    • On-chip very low-frequency 10-kHz oscillator (VLO)
    • On-chip high-frequency modulation oscillator (MODOSC)
    • External 32-kHz crystal oscillator (LFXT)
    • Programmable MCLK prescalar of 1 to 128
    • SMCLK derived from MCLK with programmable prescalar of 1, 2, 4, or 8
  • General input/output and pin functionality
    • Total of 19 I/Os on VQFN-24 package
    • 16 interrupt pins (P1 and P2) can wake MCU from low-power modes
  • Development tools and software
  • Family member (also see Device Comparison)
    • MSP430FR2433: 15KB of program FRAM, 512B of information FRAM, 4KB of RAM
  • Package options
    • 24 pin: VQFN (RGE)
    • 24-pin: DSBGA (YQW)

Description

The MSP430FR2433 microcontroller (MCU) is part of the MSP430™ Value Line sensing portfolio, TI’s lowest-cost family of MCUs for sensing and measurement applications. The architecture, FRAM, and integrated peripherals, combined with extensive low-power modes, are optimized to achieve extended battery life in portable and battery-powered sensing applications in a small VQFN package (4 mm × 4 mm).

TI’s MSP430 ultra-low-power FRAM microcontroller platform combines uniquely embedded FRAM and a holistic ultra-low-power system architecture, allowing system designers to increase performance while lowering energy consumption. FRAM technology combines the low-energy fast writes, flexibility, and endurance of RAM with the nonvolatility of flash.

The MSP430FR2433 MCU is supported by an extensive hardware and software ecosystem with reference designs and code examples to get your design started quickly. Development kits include the MSP‑EXP430FR2433 LaunchPad™ development kit and the MSP‑TS430RGE24A 24-pin target development board. TI also provides free MSP430Ware™ software, which is available as a component of Code Composer Studio™ IDE desktop and cloud versions within TI Resource Explorer. The MSP430 MCUs are also supported by extensive online collateral, training, and online support through the E2E™ support forums.

For complete module descriptions, see the MSP430FR4xx and MSP430FR2xx Family User’s Guide.

The MSP430FR2433 microcontroller (MCU) is part of the MSP430™ Value Line sensing portfolio, TI’s lowest-cost family of MCUs for sensing and measurement applications. The architecture, FRAM, and integrated peripherals, combined with extensive low-power modes, are optimized to achieve extended battery life in portable and battery-powered sensing applications in a small VQFN package (4 mm × 4 mm).

TI’s MSP430 ultra-low-power FRAM microcontroller platform combines uniquely embedded FRAM and a holistic ultra-low-power system architecture, allowing system designers to increase performance while lowering energy consumption. FRAM technology combines the low-energy fast writes, flexibility, and endurance of RAM with the nonvolatility of flash.

The MSP430FR2433 MCU is supported by an extensive hardware and software ecosystem with reference designs and code examples to get your design started quickly. Development kits include the MSP‑EXP430FR2433 LaunchPad™ development kit and the MSP‑TS430RGE24A 24-pin target development board. TI also provides free MSP430Ware™ software, which is available as a component of Code Composer Studio™ IDE desktop and cloud versions within TI Resource Explorer. The MSP430 MCUs are also supported by extensive online collateral, training, and online support through the E2E™ support forums.

For complete module descriptions, see the MSP430FR4xx and MSP430FR2xx Family User’s Guide.

Subscribe to Welllinkchips !
Your Name
* Email
Submit a request