0
MSP430FE425
  • MSP430FE425
  • MSP430FE425

MSP430FE425

ACTIVE

8-MHz metering MCU with 3 16-bit sigma-delta ADCs, 128-segment LCD, 16KB Flash, 512B RAM

Texas Instruments MSP430FE425 Product Info

1 April 2026 1

Parameters

CPU

MSP430

Frequency (MHz)

8

Flash memory (kByte)

16

RAM (kByte)

0.5

ADC type

16-bit Sigma Delta

Features

Advanced sensing, LCD

UART

1

Number of ADC channels

3

SPI

1

USB

No

Operating temperature range (°C)

-40 to 85

Rating

Catalog

Communication interface

SPI, UART

Operating system

BareMetal (No OS), TI RTOS

Hardware accelerators

0

Nonvolatile memory (kByte)

16

Number of GPIOs

14

Number of I2Cs

0

Security

Secure debug

Package

LQFP (PM)-64-144 mm² 12 x 12

Features

  • Low Supply Voltage Range: 2.7 V to 3.6 V
  • Ultra-Low Power Consumption:
    • Active Mode: 400 µA at 1 MHz, 3 V
    • Standby Mode: 1.6 µA
    • Off Mode (RAM Retention): 0.1 µA
  • Five Power-Saving Modes
  • Wake up From Standby Mode in Less Than 6 µs
  • Frequency-Locked Loop, FLL+
  • 16-Bit RISC Architecture, 125-ns Instruction Cycle Time
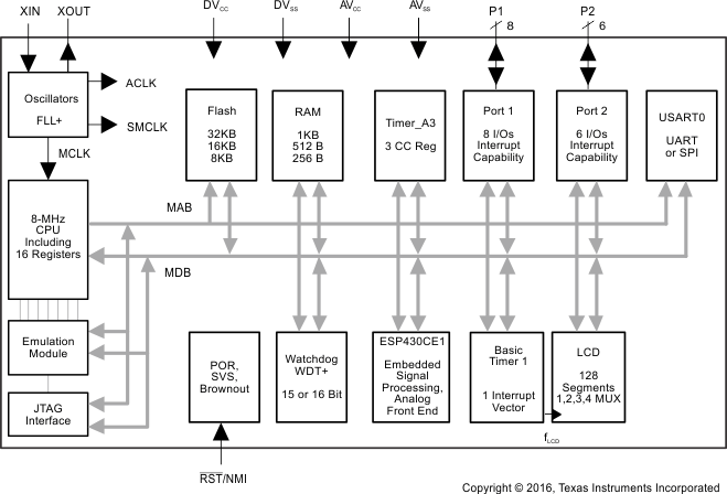
  • Embedded Signal Processing for Single-Phase Energy Metering With Integrated Analog Front End and Temperature Sensor (ESP430CE1)
  • 16-Bit Timer_A With Three Capture/Compare Registers
  • Integrated LCD Driver for 128 Segments
  • Serial Communication Interface (USART), Asynchronous UART or Synchronous SPI Selectable by Software
  • Brownout Detector
  • Supply Voltage Supervisor and Monitor With Programmable Level Detection
  • Serial Onboard Programming, No External Programming Voltage Needed, Programmable Code Protection by Security Fuse
  • Bootloader (BSL)
  • Family Members Include:
    • MSP430FE423
      8KB + 256 B of Flash Memory, 256 B of RAM
    • MSP430FE425
      16KB + 256 B of Flash Memory, 512 B of RAM
    • MSP430FE427
      32KB + 256 B of Flash Memory, 1KB of RAM
  • Available in 64-Pin Quad Flat Pack (LQFP)
  • Low Supply Voltage Range: 2.7 V to 3.6 V
  • Ultra-Low Power Consumption:
    • Active Mode: 400 µA at 1 MHz, 3 V
    • Standby Mode: 1.6 µA
    • Off Mode (RAM Retention): 0.1 µA
  • Five Power-Saving Modes
  • Wake up From Standby Mode in Less Than 6 µs
  • Frequency-Locked Loop, FLL+
  • 16-Bit RISC Architecture, 125-ns Instruction Cycle Time
  • Embedded Signal Processing for Single-Phase Energy Metering With Integrated Analog Front End and Temperature Sensor (ESP430CE1)
  • 16-Bit Timer_A With Three Capture/Compare Registers
  • Integrated LCD Driver for 128 Segments
  • Serial Communication Interface (USART), Asynchronous UART or Synchronous SPI Selectable by Software
  • Brownout Detector
  • Supply Voltage Supervisor and Monitor With Programmable Level Detection
  • Serial Onboard Programming, No External Programming Voltage Needed, Programmable Code Protection by Security Fuse
  • Bootloader (BSL)
  • Family Members Include:
    • MSP430FE423
      8KB + 256 B of Flash Memory, 256 B of RAM
    • MSP430FE425
      16KB + 256 B of Flash Memory, 512 B of RAM
    • MSP430FE427
      32KB + 256 B of Flash Memory, 1KB of RAM
  • Available in 64-Pin Quad Flat Pack (LQFP)

Description

The TI MSP430 family of ultra-low-power microcontrollers consists of several devices featuring different sets of peripherals targeted for various applications. The architecture, combined with five low-power modes, is optimized to achieve extended battery life in portable measurement applications. The device features a powerful 16-bit RISC CPU, 16-bit registers, and constant generators that contribute to maximum code efficiency. The digitally controlled oscillator (DCO) allows the device to wake up from low-power modes to active mode in less than 6 µs.

The MSP430FE42x series are microcontroller configurations with three independent 16-bit sigma-delta ADCs and an embedded signal processor core used to measure and calculate single-phase energy in both 2-wire and 3-wire configurations. Also included are a built-in 16-bit timer, 128-segment LCD drive capability, and 14 I/O pins.

Typical applications include 2-wire and 3-wire single-phase metering including tamper-resistant meter implementations.

The TI MSP430 family of ultra-low-power microcontrollers consists of several devices featuring different sets of peripherals targeted for various applications. The architecture, combined with five low-power modes, is optimized to achieve extended battery life in portable measurement applications. The device features a powerful 16-bit RISC CPU, 16-bit registers, and constant generators that contribute to maximum code efficiency. The digitally controlled oscillator (DCO) allows the device to wake up from low-power modes to active mode in less than 6 µs.

The MSP430FE42x series are microcontroller configurations with three independent 16-bit sigma-delta ADCs and an embedded signal processor core used to measure and calculate single-phase energy in both 2-wire and 3-wire configurations. Also included are a built-in 16-bit timer, 128-segment LCD drive capability, and 14 I/O pins.

Typical applications include 2-wire and 3-wire single-phase metering including tamper-resistant meter implementations.

Subscribe to Welllinkchips !
Your Name
* Email
Submit a request