0
MSP430F67681
  • MSP430F67681
  • MSP430F67681

MSP430F67681

ACTIVE

Polyphase metering SoC with 6 Sigma-Delta ADCs, LCD, real-time clock, 512KB Flash, 16KB RAM

Texas Instruments MSP430F67681 Product Info

1 April 2026 0

Parameters

CPU

MSP430

Frequency (MHz)

25

Flash memory (kByte)

512

RAM (kByte)

16

ADC type

24-bit Sigma Delta

Features

Advanced sensing, LCD, Real-time clock

UART

4

Number of ADC channels

6

SPI

6

USB

No

Operating temperature range (°C)

-40 to 85

Rating

Catalog

Communication interface

I2C, SPI, UART

Operating system

BareMetal (No OS), TI RTOS

Hardware accelerators

0

Nonvolatile memory (kByte)

512

Number of GPIOs

90

Number of I2Cs

2

Security

Secure debug

Package

LQFP (PEU)-128-352 mm² 22 x 16

Features

  • Accuracy < 0.1% Over 2000:1 Dynamic Range for Phase Current
  • Meets or Exceeds ANSI C12.20 and IEC 62053 Standards
  • Support for Multiple Sensors Such as Current Transformers, Rogowski Coils, or Shunts
  • Power Measurement for up to Three Phases Plus Neutral
  • Dedicated Pulse Output Pins for Active and Reactive Energy for Calibration
  • Four-Quadrant Measurement per Phase or Cumulative
  • Exact Phase Angle Measurements
  • Digital Phase Correction for Current Transformers
  • Temperature Compensated Energy Measurements
  • 40-Hz to 70-Hz Line Frequency Range Using Single Calibration
  • Flexible Power Supply Options With Automatic Switching
  • Display Operates at Very Low Power During AC Mains Failure: 3 µA in LPM3
  • LCD Driver With Contrast Control for up to 320 Segments
  • Password-Protected Real-Time Clock (RTC) With Crystal Offset Calibration and Temperature Compensation
  • Integrated Security Modules to Support Anti-Tamper
  • Multiple Communication Interfaces for Smart Meter Implementations
  • High-Performance 25-MHz CPU With 32-Bit Multiplier
  • Wide Input Supply Voltage Range:
    3.6 V Down to 1.8 V
  • Ultra-Low Power Consumption During Energy Measurement
    • 2.9 mW at 10-MHz Operation (3 V)
  • Multiple Low-Power Modes
    • Standby Mode (LPM3): 2.1 µA at 3 V,
      Wake up in Less Than 5 µs
    • RTC Mode (LPM3.5): 0.34 µA at 3 V
    • Shutdown Mode (LPM4.5): 0.18 µA at 3 V
  • Up to 512KB of Single-Cycle Flash
  • Up to 32KB of RAM With Single-Cycle Access
  • Up to Seven Independent 24-Bit Sigma-Delta ADCs With Differential Inputs and Variable Gain
  • System 10-Bit 200-ksps ADC
    • Six Channels Plus Supply and Temperature Sensor Measurement
  • Six Enhanced Communications Ports
    • Configurable Among Four UART, Six SPI, and Two I²C Interfaces
  • Four 16-Bit Timers With Nine Total Capture/Compare Registers
  • 128-Pin LQFP (PEU) Package With 90 I/O Pins
  • 100-Pin LQFP (PZ) Package With 62 I/O Pins
  • Industrial Temperature Range of –40°C to 85°C
  • 3-Phase Electronic Watt-Hour Meter Development Tool (Also See Tools and Software)
  • Accuracy < 0.1% Over 2000:1 Dynamic Range for Phase Current
  • Meets or Exceeds ANSI C12.20 and IEC 62053 Standards
  • Support for Multiple Sensors Such as Current Transformers, Rogowski Coils, or Shunts
  • Power Measurement for up to Three Phases Plus Neutral
  • Dedicated Pulse Output Pins for Active and Reactive Energy for Calibration
  • Four-Quadrant Measurement per Phase or Cumulative
  • Exact Phase Angle Measurements
  • Digital Phase Correction for Current Transformers
  • Temperature Compensated Energy Measurements
  • 40-Hz to 70-Hz Line Frequency Range Using Single Calibration
  • Flexible Power Supply Options With Automatic Switching
  • Display Operates at Very Low Power During AC Mains Failure: 3 µA in LPM3
  • LCD Driver With Contrast Control for up to 320 Segments
  • Password-Protected Real-Time Clock (RTC) With Crystal Offset Calibration and Temperature Compensation
  • Integrated Security Modules to Support Anti-Tamper
  • Multiple Communication Interfaces for Smart Meter Implementations
  • High-Performance 25-MHz CPU With 32-Bit Multiplier
  • Wide Input Supply Voltage Range:
    3.6 V Down to 1.8 V
  • Ultra-Low Power Consumption During Energy Measurement
    • 2.9 mW at 10-MHz Operation (3 V)
  • Multiple Low-Power Modes
    • Standby Mode (LPM3): 2.1 µA at 3 V,
      Wake up in Less Than 5 µs
    • RTC Mode (LPM3.5): 0.34 µA at 3 V
    • Shutdown Mode (LPM4.5): 0.18 µA at 3 V
  • Up to 512KB of Single-Cycle Flash
  • Up to 32KB of RAM With Single-Cycle Access
  • Up to Seven Independent 24-Bit Sigma-Delta ADCs With Differential Inputs and Variable Gain
  • System 10-Bit 200-ksps ADC
    • Six Channels Plus Supply and Temperature Sensor Measurement
  • Six Enhanced Communications Ports
    • Configurable Among Four UART, Six SPI, and Two I²C Interfaces
  • Four 16-Bit Timers With Nine Total Capture/Compare Registers
  • 128-Pin LQFP (PEU) Package With 90 I/O Pins
  • 100-Pin LQFP (PZ) Package With 62 I/O Pins
  • Industrial Temperature Range of –40°C to 85°C
  • 3-Phase Electronic Watt-Hour Meter Development Tool (Also See Tools and Software)

Description

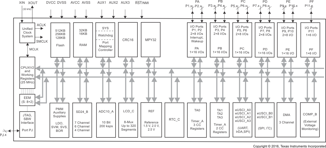
The TI MSP430F677x1 family of polyphase metering SoCs are powerful highly integrated solutions for revenue meters that offer accuracy and low system cost with few external components. The F677x1 family of devices uses the low-power MSP430 CPU with a 32-bit multiplier to perform all energy calculations, metering applications such as tariff rate management, and communications with AMR and AMI modules.

The F677x1 devices feature TI’s 24-bit sigma-delta converter technology, which provides better than 0.1% accuracy. Family members include up to 512KB of flash, 32KB of RAM, and an LCD controller with support for up to 320 segments.

The ultra-low-power nature of the F677x1 devices means that the system power supply can be minimized to reduce overall cost. Lowest standby power means that backup energy storage can be minimized and critical data retained longer in case of a mains power failure.

The F677x1 family of devices executes the TI energy measurement software library, which calculates all relevant energy and power results. The energy measurement software library is available with the F677x1 devices at no cost. Industry standard development tools and hardware platforms are available to speed development of meters that meet all of the ANSI and IEC standards globally.

For complete module descriptions, see the MSP430F5xx and MSP430F6xx Family User’s Guide.

The TI MSP430F677x1 family of polyphase metering SoCs are powerful highly integrated solutions for revenue meters that offer accuracy and low system cost with few external components. The F677x1 family of devices uses the low-power MSP430 CPU with a 32-bit multiplier to perform all energy calculations, metering applications such as tariff rate management, and communications with AMR and AMI modules.

The F677x1 devices feature TI’s 24-bit sigma-delta converter technology, which provides better than 0.1% accuracy. Family members include up to 512KB of flash, 32KB of RAM, and an LCD controller with support for up to 320 segments.

The ultra-low-power nature of the F677x1 devices means that the system power supply can be minimized to reduce overall cost. Lowest standby power means that backup energy storage can be minimized and critical data retained longer in case of a mains power failure.

The F677x1 family of devices executes the TI energy measurement software library, which calculates all relevant energy and power results. The energy measurement software library is available with the F677x1 devices at no cost. Industry standard development tools and hardware platforms are available to speed development of meters that meet all of the ANSI and IEC standards globally.

For complete module descriptions, see the MSP430F5xx and MSP430F6xx Family User’s Guide.

Subscribe to Welllinkchips !
Your Name
* Email
Submit a request