0
MSP430F6720A
  • MSP430F6720A
  • MSP430F6720A

MSP430F6720A

ACTIVE

Single-phase metering SoC with 2 Sigma-Delta ADCs, LCD, real-time clock, 16KB Flash, 1KB RAM

Texas Instruments MSP430F6720A Product Info

1 April 2026 1

Parameters

CPU

MSP430

Frequency (MHz)

25

Flash memory (kByte)

16

RAM (kByte)

1

ADC type

24-bit Sigma Delta

Features

Advanced sensing, LCD, Real-time clock

UART

3

Number of ADC channels

2

SPI

4

USB

No

Operating temperature range (°C)

-40 to 85

Rating

Catalog

Communication interface

I2C, SPI, UART

Operating system

BareMetal (No OS), TI RTOS

Hardware accelerators

0

Nonvolatile memory (kByte)

16

Number of GPIOs

72

Number of I2Cs

1

Security

Secure debug

Package

LQFP (PN)-80-196 mm² 14 x 14

Features

  • Low Supply-Voltage Range:
    3.6 V Down to 1.8 V
  • Ultra-Low Power Consumption
    • Active Mode (AM):
      All System Clocks Active
      265 µA/MHz at 8 MHz, 3.0 V, Flash Program Execution (Typical)
      140 µA/MHz at 8 MHz, 3.0 V, RAM Program Execution (Typical)
    • Standby Mode (LPM3):
      Real-Time Clock (RTC) With Crystal, Watchdog, and Supply Supervisor Operational, Full RAM Retention, Fast Wake up:
      1.7 µA at 2.2 V, 2.5 µA at 3.0 V (Typical)
    • Off Mode (LPM4):
      Full RAM Retention, Supply Supervisor Operational, Fast Wake up:
      1.6 µA at 3.0 V (Typical)
    • Shutdown RTC Mode (LPM3.5):
      Shutdown Mode, Active RTC With Crystal:
      1.24 µA at 3.0 V (Typical)
    • Shutdown Mode (LPM4.5):
      0.78 µA at 3.0 V (Typical)
  • Wake up From Standby Mode in 3 µs (Typical)
  • 16-Bit RISC Architecture, Extended Memory, up to 25-MHz System Clock
  • Flexible Power-Management System
    • Fully Integrated LDO With Programmable Regulated Core Supply Voltage
    • Supply Voltage Supervision, Monitoring, and Brownout
    • System Operation From up to Two Auxiliary Power Supplies
  • Unified Clock System
    • FLL Control Loop for Frequency Stabilization
    • Low-Power Low-Frequency Internal Clock Source (VLO)
    • Low-Frequency Trimmed Internal Reference Source (REFO)
    • 32-kHz Crystals (XT1)
  • One 16-Bit Timer With Three Capture/Compare Registers
  • Three 16-Bit Timers With Two Capture/Compare Registers Each
  • Enhanced Universal Serial Communication Interfaces (eUSCIs)
    • eUSCI_A0, eUSCI_A1, and eUSCI_A2
      • Enhanced UART Supports Automatic Baud-Rate Detection
      • IrDA Encoder and Decoder
      • Synchronous SPI
    • eUSCI_B0
      • I2C With Multiple Slave Addressing
      • Synchronous SPI
  • Password-Protected RTC With Crystal Offset Calibration and Temperature Compensation
  • Separate Voltage Supply for Backup Subsystem
    • 32-kHz Low-Frequency Oscillator (XT1)
    • Real-Time Clock
    • Backup Memory (4 × 16 Bits)
  • Three 24-Bit Sigma-Delta Analog-to-Digital Converters (ADCs) With Differential PGA Inputs
  • Integrated LCD Driver With Contrast Control for up to 320 Segments in 8-Mux Mode
  • Hardware Multiplier Supports 32-Bit Operations
  • 10-Bit 200-ksps ADC
    • Internal Reference
    • Sample-and-Hold, Autoscan Feature
    • Up to Six External Channels and Two Internal Channels, Including Temperature Sensor
  • Three-Channel Internal DMA
  • Serial Onboard Programming, No External Programming Voltage Needed
  • Device Comparison Summarizes the Available Family Members
  • Available in 100-Pin and 80-Pin LQFP Packages
  • Single-Phase Electronic Watt-Hour Meter Development Tool (Also See Tools and Software)
  • Low Supply-Voltage Range:
    3.6 V Down to 1.8 V
  • Ultra-Low Power Consumption
    • Active Mode (AM):
      All System Clocks Active
      265 µA/MHz at 8 MHz, 3.0 V, Flash Program Execution (Typical)
      140 µA/MHz at 8 MHz, 3.0 V, RAM Program Execution (Typical)
    • Standby Mode (LPM3):
      Real-Time Clock (RTC) With Crystal, Watchdog, and Supply Supervisor Operational, Full RAM Retention, Fast Wake up:
      1.7 µA at 2.2 V, 2.5 µA at 3.0 V (Typical)
    • Off Mode (LPM4):
      Full RAM Retention, Supply Supervisor Operational, Fast Wake up:
      1.6 µA at 3.0 V (Typical)
    • Shutdown RTC Mode (LPM3.5):
      Shutdown Mode, Active RTC With Crystal:
      1.24 µA at 3.0 V (Typical)
    • Shutdown Mode (LPM4.5):
      0.78 µA at 3.0 V (Typical)
  • Wake up From Standby Mode in 3 µs (Typical)
  • 16-Bit RISC Architecture, Extended Memory, up to 25-MHz System Clock
  • Flexible Power-Management System
    • Fully Integrated LDO With Programmable Regulated Core Supply Voltage
    • Supply Voltage Supervision, Monitoring, and Brownout
    • System Operation From up to Two Auxiliary Power Supplies
  • Unified Clock System
    • FLL Control Loop for Frequency Stabilization
    • Low-Power Low-Frequency Internal Clock Source (VLO)
    • Low-Frequency Trimmed Internal Reference Source (REFO)
    • 32-kHz Crystals (XT1)
  • One 16-Bit Timer With Three Capture/Compare Registers
  • Three 16-Bit Timers With Two Capture/Compare Registers Each
  • Enhanced Universal Serial Communication Interfaces (eUSCIs)
    • eUSCI_A0, eUSCI_A1, and eUSCI_A2
      • Enhanced UART Supports Automatic Baud-Rate Detection
      • IrDA Encoder and Decoder
      • Synchronous SPI
    • eUSCI_B0
      • I2C With Multiple Slave Addressing
      • Synchronous SPI
  • Password-Protected RTC With Crystal Offset Calibration and Temperature Compensation
  • Separate Voltage Supply for Backup Subsystem
    • 32-kHz Low-Frequency Oscillator (XT1)
    • Real-Time Clock
    • Backup Memory (4 × 16 Bits)
  • Three 24-Bit Sigma-Delta Analog-to-Digital Converters (ADCs) With Differential PGA Inputs
  • Integrated LCD Driver With Contrast Control for up to 320 Segments in 8-Mux Mode
  • Hardware Multiplier Supports 32-Bit Operations
  • 10-Bit 200-ksps ADC
    • Internal Reference
    • Sample-and-Hold, Autoscan Feature
    • Up to Six External Channels and Two Internal Channels, Including Temperature Sensor
  • Three-Channel Internal DMA
  • Serial Onboard Programming, No External Programming Voltage Needed
  • Device Comparison Summarizes the Available Family Members
  • Available in 100-Pin and 80-Pin LQFP Packages
  • Single-Phase Electronic Watt-Hour Meter Development Tool (Also See Tools and Software)

Description

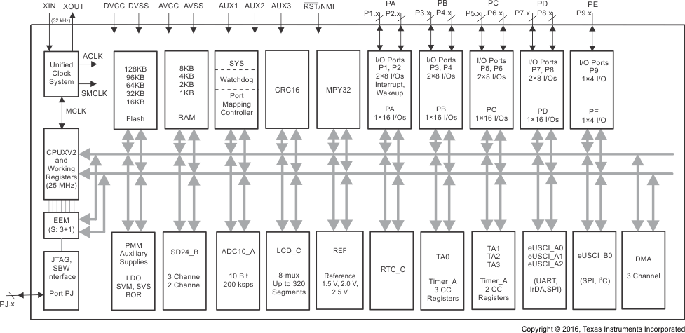
The TI MSP family of ultra-low-power microcontrollers consists of several devices featuring different sets of peripherals targeted for various applications. The architecture, combined with extensive low-power modes, is optimized to achieve extended battery life in portable measurement applications. The device features a powerful 16-bit RISC CPU, 16-bit registers, and constant generators that contribute to maximum code efficiency. The DCO allows the device to wake up from low-power modes to active mode in 3 µs (typical).

The MSP430F673xA and MSP430F672xA devices are microcontrollers with high-performance 24-bit sigma-delta ADCs (three ADCs in MSP430F673xA and two ADCs in MSP430F672xA), a 10-bit ADC, four eUSCIs (three eUSCI_A modules and one eUSCI_B module), four 16-bit timers, a hardware multiplier, a DMA module, an RTC module with alarm capabilities, an LCD driver with integrated contrast control, an auxiliary supply system, and up to 72 I/O pins in the 100‑pin devices and 52 I/O pins in the 80‑pin devices.

For complete module descriptions, see the MSP430F5xx and MSP430F6xx Family User’s Guide.

The TI MSP family of ultra-low-power microcontrollers consists of several devices featuring different sets of peripherals targeted for various applications. The architecture, combined with extensive low-power modes, is optimized to achieve extended battery life in portable measurement applications. The device features a powerful 16-bit RISC CPU, 16-bit registers, and constant generators that contribute to maximum code efficiency. The DCO allows the device to wake up from low-power modes to active mode in 3 µs (typical).

The MSP430F673xA and MSP430F672xA devices are microcontrollers with high-performance 24-bit sigma-delta ADCs (three ADCs in MSP430F673xA and two ADCs in MSP430F672xA), a 10-bit ADC, four eUSCIs (three eUSCI_A modules and one eUSCI_B module), four 16-bit timers, a hardware multiplier, a DMA module, an RTC module with alarm capabilities, an LCD driver with integrated contrast control, an auxiliary supply system, and up to 72 I/O pins in the 100‑pin devices and 52 I/O pins in the 80‑pin devices.

For complete module descriptions, see the MSP430F5xx and MSP430F6xx Family User’s Guide.

Subscribe to Welllinkchips !
Your Name
* Email
Submit a request