0
MSP430F2274-EP
  • MSP430F2274-EP
  • MSP430F2274-EP
  • MSP430F2274-EP

MSP430F2274-EP

ACTIVE

16-bit ultra-low-power microcontroller, 32kB Flash, 1K RAM

Texas Instruments MSP430F2274-EP Product Info

1 April 2026 1

Parameters

CPU

MSP430

Frequency (MHz)

16

Flash memory (kByte)

32

RAM (kByte)

1

ADC type

10-bit SAR

Features

OpAmp

UART

1

Number of ADC channels

12

SPI

1

USB

No

Hardware accelerators

0

Operating temperature range (°C)

-55 to 125

Rating

HiRel Enhanced Product

Communication interface

I2C, SPI, UART

Operating system

BareMetal (No OS), TI RTOS

Nonvolatile memory (kByte)

32

Number of GPIOs

32

Number of I2Cs

1

Security

Secure debug

Package

TSSOP (DA)-38-101.25 mm² 12.5 x 8.1

Features

  • Low Supply Voltage Range 1.8 V to 3.6 V
  • Ultralow-Power Consumption
    • Active Mode: 270 µA at 1 MHz, 2.2 V
    • Standby Mode: 0.7 µA
    • Off Mode (RAM Retention): 0.1 µA
  • Ultrafast Wake-Up From Standby Mode in Less than 1 µs
  • 16-Bit RISC Architecture, 62.5 ns Instruction Cycle Time
  • Basic Clock Module Configurations
    • Internal Frequencies up to 16 MHz With
      Four Calibrated Frequencies to ±1%
    • Internal Very Low Power LF Oscillator
    • 32-kHz Crystal
      (Available Only from –55°C to 105°C)
    • High-Frequency Crystal up to 16 MHz
      (Available Only from –55°C to 125°C)
    • Resonator
    • External Digital Clock Source
    • External Resistor
  • 16-Bit Timer_A With Three Capture/Compare Registers
  • 16-Bit Timer_B With Three Capture/Compare Registers
  • Universal Serial Communication Interface
    • Enhanced UART Supporting Auto-Baud-Rate Detection (LIN)
    • IrDA Encoder and Decoder
    • Synchronous SPI
    • I2C™
  • 10-Bit, 200-ksps A/D Converter With Internal Reference,
    Sample-and-Hold, and Autoscan and Data Transfer Controller
  • Two Configurable Operational Amplifiers
  • Brownout Detector
  • Serial Onboard Programming, No External Programming Voltage
    Needed Programmable Code Protection by Security Fuse
  • Bootstrap Loader
  • On-Chip Emulation Logic
  • Family Members Include the MSP430F2274
    With 32KB + 256B Flash Memory, 1KB RAM
  • Available in 40-Pin QFN Package and 38-Pin
    Thin Shrink Small-Outline DA Package
  • For Complete Module Descriptions, Refer to
    the MSP430x2xx Family User–sGuide
  • SUPPORTS DEFENSE, AEROSPACE, AND MEDICAL APPLICATIONS
    • Controlled Baseline
    • One Assembly/Test Site
    • One Fabrication Site
    • Available in Military (–55°C/125°C)
      Temperature Range(1)
    • Extended Product Life Cycle
    • Extended Product-Change Notification
    • Product Traceability

(1) Custom temperature ranges available
All trademarks are the property of their respective owners.

  • Low Supply Voltage Range 1.8 V to 3.6 V
  • Ultralow-Power Consumption
    • Active Mode: 270 µA at 1 MHz, 2.2 V
    • Standby Mode: 0.7 µA
    • Off Mode (RAM Retention): 0.1 µA
  • Ultrafast Wake-Up From Standby Mode in Less than 1 µs
  • 16-Bit RISC Architecture, 62.5 ns Instruction Cycle Time
  • Basic Clock Module Configurations
    • Internal Frequencies up to 16 MHz With
      Four Calibrated Frequencies to ±1%
    • Internal Very Low Power LF Oscillator
    • 32-kHz Crystal
      (Available Only from –55°C to 105°C)
    • High-Frequency Crystal up to 16 MHz
      (Available Only from –55°C to 125°C)
    • Resonator
    • External Digital Clock Source
    • External Resistor
  • 16-Bit Timer_A With Three Capture/Compare Registers
  • 16-Bit Timer_B With Three Capture/Compare Registers
  • Universal Serial Communication Interface
    • Enhanced UART Supporting Auto-Baud-Rate Detection (LIN)
    • IrDA Encoder and Decoder
    • Synchronous SPI
    • I2C™
  • 10-Bit, 200-ksps A/D Converter With Internal Reference,
    Sample-and-Hold, and Autoscan and Data Transfer Controller
  • Two Configurable Operational Amplifiers
  • Brownout Detector
  • Serial Onboard Programming, No External Programming Voltage
    Needed Programmable Code Protection by Security Fuse
  • Bootstrap Loader
  • On-Chip Emulation Logic
  • Family Members Include the MSP430F2274
    With 32KB + 256B Flash Memory, 1KB RAM
  • Available in 40-Pin QFN Package and 38-Pin
    Thin Shrink Small-Outline DA Package
  • For Complete Module Descriptions, Refer to
    the MSP430x2xx Family User–sGuide
  • SUPPORTS DEFENSE, AEROSPACE, AND MEDICAL APPLICATIONS
    • Controlled Baseline
    • One Assembly/Test Site
    • One Fabrication Site
    • Available in Military (–55°C/125°C)
      Temperature Range(1)
    • Extended Product Life Cycle
    • Extended Product-Change Notification
    • Product Traceability

(1) Custom temperature ranges available
All trademarks are the property of their respective owners.

Description

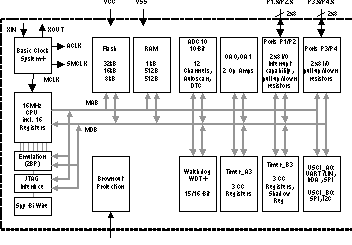
The Texas Instruments MSP430 family of ultralow power microcontrollers consists of several devices featuring different sets of peripherals targeted for various applications. The architecture, combined with five low power modes, is optimized to achieve extended battery life in portable measurement applications. The device features a powerful 16-bit RISC CPU, 16-bit registers, and constant generators that attribute to maximum code efficiency. The digitally controlled oscillator (DCO) allows wake-up from low-power modes to active mode in less than 1 µs.

The MSP430F2274M series is an ultralow-power mixed signal microcontroller with two built-in 16-bit timers, a universal serial communication interface, 10-bit A/D converter with integrated reference and data transfer controller (DTC), two general-purpose operational amplifiers in the MSP430F2274M devices, and 32 I/O pins.

Typical applications include sensor systems that capture analog signals, convert them to digital values, and then process the data for display or for transmission to a host system. Stand-alone RF sensor front end is another area of application.

The Texas Instruments MSP430 family of ultralow power microcontrollers consists of several devices featuring different sets of peripherals targeted for various applications. The architecture, combined with five low power modes, is optimized to achieve extended battery life in portable measurement applications. The device features a powerful 16-bit RISC CPU, 16-bit registers, and constant generators that attribute to maximum code efficiency. The digitally controlled oscillator (DCO) allows wake-up from low-power modes to active mode in less than 1 µs.

The MSP430F2274M series is an ultralow-power mixed signal microcontroller with two built-in 16-bit timers, a universal serial communication interface, 10-bit A/D converter with integrated reference and data transfer controller (DTC), two general-purpose operational amplifiers in the MSP430F2274M devices, and 32 I/O pins.

Typical applications include sensor systems that capture analog signals, convert them to digital values, and then process the data for display or for transmission to a host system. Stand-alone RF sensor front end is another area of application.

Subscribe to Welllinkchips !
Your Name
* Email
Submit a request