0
MSP430F2112
  • MSP430F2112
  • MSP430F2112
  • MSP430F2112
  • MSP430F2112

MSP430F2112

ACTIVE

16 MHz MCU with 2KB Flash, 256B SRAM, 10-bit ADC, comparator, I2C/SPI/UART

Texas Instruments MSP430F2112 Product Info

1 April 2026 0

Parameters

CPU

MSP430

Frequency (MHz)

16

Flash memory (kByte)

2

RAM (kByte)

0.25

ADC type

10-bit SAR

Features

Brown out detector, Real-time clock

UART

1

Number of ADC channels

8

SPI

2

USB

No

Hardware accelerators

0

Operating temperature range (°C)

-40 to 105

Rating

Catalog

Communication interface

I2C, SPI, UART

Operating system

BareMetal (No OS), TI RTOS

Nonvolatile memory (kByte)

2

Number of GPIOs

24

Number of I2Cs

1

Security

Secure debug

Package

TSSOP (PW)-28-62.08 mm² 9.7 x 6.4

Features

  • Low Supply Voltage Range: 1.8 V to 3.6 V
  • Ultra-Low Power Consumption
    • Active Mode: 250 µA at 1 MHz, 2.2 V
    • Standby Mode: 0.7 µA
    • Off Mode (RAM Retention): 0.1 µA
  • Ultra-Fast Wake-Up From Standby Mode in Less Than 1 µs
  • 16-Bit RISC Architecture, 62.5-ns Instruction Cycle Time
  • Basic Clock Module Configurations
    • Internal Frequencies up to 16 MHz With Four Calibrated Frequencies to ±1%
    • Internal Very-Low-Power Low-Frequency Oscillator
    • 32-kHz Crystal
    • High-Frequency (HF) Crystal up to 16 MHz
    • Resonator
    • External Digital Clock Source
    • External Resistor
  • 16-Bit Timer0_A3 With Three Capture/Compare Registers
  • 16-Bit Timer1_A2 With Two Capture/Compare Registers
  • On-Chip Comparator for Analog Signal Compare Function or Slope Analog-to-Digital (A/D) Conversion
  • 10-Bit 200-ksps A/D Converter With Internal Reference, Sample-and-Hold, Autoscan, and Data Transfer Controller
  • Universal Serial Communication Interface
    • Enhanced UART Supporting Auto-Baudrate Detection (LIN)
    • IrDA Encoder and Decoder
    • Synchronous SPI
    • I2C™
  • Brownout Detector
  • Serial Onboard Programming, No External Programming Voltage Needed, Programmable Code Protection by Security Fuse
  • Bootstrap Loader
  • On-Chip Emulation Module
  • Family Members Include:
    • MSP430F2132: 8KB + 256B Flash Memory, 512B RAM
    • MSP430F2122: 4KB + 256B Flash Memory, 512B RAM
    • MSP430F2112: 2KB + 256B Flash Memory, 256B RAM
  • Available in 28-Pin TSSOP (PW) and 32-Pin QFN (RHB or RTV) Packages
  • For Complete Module Descriptions, See the MSP430x2xx Family User's Guide, Literature Number SLAU144

  • Low Supply Voltage Range: 1.8 V to 3.6 V
  • Ultra-Low Power Consumption
    • Active Mode: 250 µA at 1 MHz, 2.2 V
    • Standby Mode: 0.7 µA
    • Off Mode (RAM Retention): 0.1 µA
  • Ultra-Fast Wake-Up From Standby Mode in Less Than 1 µs
  • 16-Bit RISC Architecture, 62.5-ns Instruction Cycle Time
  • Basic Clock Module Configurations
    • Internal Frequencies up to 16 MHz With Four Calibrated Frequencies to ±1%
    • Internal Very-Low-Power Low-Frequency Oscillator
    • 32-kHz Crystal
    • High-Frequency (HF) Crystal up to 16 MHz
    • Resonator
    • External Digital Clock Source
    • External Resistor
  • 16-Bit Timer0_A3 With Three Capture/Compare Registers
  • 16-Bit Timer1_A2 With Two Capture/Compare Registers
  • On-Chip Comparator for Analog Signal Compare Function or Slope Analog-to-Digital (A/D) Conversion
  • 10-Bit 200-ksps A/D Converter With Internal Reference, Sample-and-Hold, Autoscan, and Data Transfer Controller
  • Universal Serial Communication Interface
    • Enhanced UART Supporting Auto-Baudrate Detection (LIN)
    • IrDA Encoder and Decoder
    • Synchronous SPI
    • I2C™
  • Brownout Detector
  • Serial Onboard Programming, No External Programming Voltage Needed, Programmable Code Protection by Security Fuse
  • Bootstrap Loader
  • On-Chip Emulation Module
  • Family Members Include:
    • MSP430F2132: 8KB + 256B Flash Memory, 512B RAM
    • MSP430F2122: 4KB + 256B Flash Memory, 512B RAM
    • MSP430F2112: 2KB + 256B Flash Memory, 256B RAM
  • Available in 28-Pin TSSOP (PW) and 32-Pin QFN (RHB or RTV) Packages
  • For Complete Module Descriptions, See the MSP430x2xx Family User's Guide, Literature Number SLAU144

Description

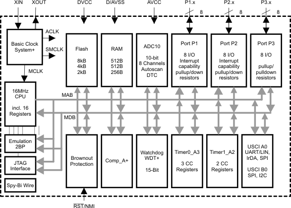
The Texas Instruments MSP430 family of ultra-low-power microcontrollers consists of several devices featuring different sets of peripherals targeted for various applications. The architecture, combined with five low-power modes, is optimized to achieve extended battery life in portable measurement applications. The device features a powerful 16-bit RISC CPU, 16-bit registers, and constant generators that contribute to maximum code efficiency. The digitally controlled oscillator (DCO) allows wake-up from low-power modes to active mode in less than 1 µs.

The MSP430F21x2 series is an ultra-low-power microcontroller with two built-in 16-bit timers, a fast 10-bit A/D converter with integrated reference and a data transfer controller (DTC), a comparator, built-in communication capability using the universal serial communication interface, and up to 24 I/O pins.

The Texas Instruments MSP430 family of ultra-low-power microcontrollers consists of several devices featuring different sets of peripherals targeted for various applications. The architecture, combined with five low-power modes, is optimized to achieve extended battery life in portable measurement applications. The device features a powerful 16-bit RISC CPU, 16-bit registers, and constant generators that contribute to maximum code efficiency. The digitally controlled oscillator (DCO) allows wake-up from low-power modes to active mode in less than 1 µs.

The MSP430F21x2 series is an ultra-low-power microcontroller with two built-in 16-bit timers, a fast 10-bit A/D converter with integrated reference and a data transfer controller (DTC), a comparator, built-in communication capability using the universal serial communication interface, and up to 24 I/O pins.