0
LP8556
  • LP8556
  • LP8556
  • LP8556
  • LP8556

LP8556

ACTIVE

6 channel high-efficiency/Efficacy LED backlight driver Linux Mainline Status

Texas Instruments LP8556 Product Info

1 April 2026 1

Parameters

Number of channels

6

Vin (min) (V)

2.7

Vin (max) (V)

20

Vout (min) (V)

7

Vout (max) (V)

48

Type

Inductive

Switching frequency (max) (kHz)

1250

Duty cycle (max) (%)

100

LED current per channel (mA)

50

Peak efficiency (%)

95

Topology

Boost

Features

I2C control

Operating temperature range (°C)

-30 to 85

Rating

Catalog

Package

DSBGA (YFQ)-20-3.96 mm² 2.2 x 1.8

Features

  • High-efficiency DC/DC boost converter with integrated 0.19-Ω power MOSFET and three switching frequency options: 312 kHz, 625 kHz, and 1250 kHz
  • 2.7-V to 36-V Boost switch input voltage range supports multi-cell Li-Ion batteries
    (2.7-V to 20-V VDD input range)
  • 7-V to 43-V Boost switch output voltage range supports as few as 3 WLEDs in series per channel and as many as 12
  • Configurable channel count (1 to 6)
  • Up to 50 mA per channel
  • PWM and / or I2C brightness control
  • Phase-shift PWM mode reduces audible noise
  • Adaptive dimming for higher LED drive optical efficiency
  • Programmable edge-rate control and spread spectrum scheme minimize switching noise and improve EMI performance
  • LED fault (short and open) detection, UVLO, TSD, OCP, and OVP (up to 6 threshold options)
  • Available in tiny 20-pin, 0.4-mm pitch DSBGA package and 24-pin, 0.5-mm pitch WQFN package
  • High-efficiency DC/DC boost converter with integrated 0.19-Ω power MOSFET and three switching frequency options: 312 kHz, 625 kHz, and 1250 kHz
  • 2.7-V to 36-V Boost switch input voltage range supports multi-cell Li-Ion batteries
    (2.7-V to 20-V VDD input range)
  • 7-V to 43-V Boost switch output voltage range supports as few as 3 WLEDs in series per channel and as many as 12
  • Configurable channel count (1 to 6)
  • Up to 50 mA per channel
  • PWM and / or I2C brightness control
  • Phase-shift PWM mode reduces audible noise
  • Adaptive dimming for higher LED drive optical efficiency
  • Programmable edge-rate control and spread spectrum scheme minimize switching noise and improve EMI performance
  • LED fault (short and open) detection, UVLO, TSD, OCP, and OVP (up to 6 threshold options)
  • Available in tiny 20-pin, 0.4-mm pitch DSBGA package and 24-pin, 0.5-mm pitch WQFN package

Description

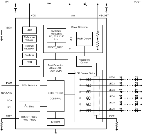
The LP8556 device is a white-LED driver featuring an asynchronous boost converter and six high precision current sinks that can be controlled by a PWM signal or an I2C master.

The boost converter uses adaptive output voltage control for setting the optimal LED driver voltages as low as 7 V and as high as 43 V. This feature minimizes the power consumption by adjusting the output voltage to the lowest sufficient level under all conditions. The converter can operate at three switching frequencies: 312 kHz, 625 kHz, and 1250 kHz, which can be set with an external resistor or pre-configured via EPROM. Programmable slew rate control and spread spectrum scheme minimize switching noise and improve EMI performance.

LED current sinks can be set with the PWM dimming resolution of up to 15 bits. Proprietary adaptive dimming mode allows higher system power saving. In addition, phase shifted LED PWM dimming allows reduced audible noise and smaller boost output capacitors.

The LP8556 device has a full set of fault-protection features that ensure robust operation of the device and external components. The set consists of input undervoltage lockout (UVLO), thermal shutdown (TSD), overcurrent protection (OCP), up to 6 levels of overvoltage protection (OVP), LED open and short detection.

The LP8556 device operates over the ambient temperature range of –30°C to +85°C. It is available in space-saving 20-pin DSBGA and 24-pad WQFN packages.

The LP8556 device is a white-LED driver featuring an asynchronous boost converter and six high precision current sinks that can be controlled by a PWM signal or an I2C master.

The boost converter uses adaptive output voltage control for setting the optimal LED driver voltages as low as 7 V and as high as 43 V. This feature minimizes the power consumption by adjusting the output voltage to the lowest sufficient level under all conditions. The converter can operate at three switching frequencies: 312 kHz, 625 kHz, and 1250 kHz, which can be set with an external resistor or pre-configured via EPROM. Programmable slew rate control and spread spectrum scheme minimize switching noise and improve EMI performance.

LED current sinks can be set with the PWM dimming resolution of up to 15 bits. Proprietary adaptive dimming mode allows higher system power saving. In addition, phase shifted LED PWM dimming allows reduced audible noise and smaller boost output capacitors.

The LP8556 device has a full set of fault-protection features that ensure robust operation of the device and external components. The set consists of input undervoltage lockout (UVLO), thermal shutdown (TSD), overcurrent protection (OCP), up to 6 levels of overvoltage protection (OVP), LED open and short detection.

The LP8556 device operates over the ambient temperature range of –30°C to +85°C. It is available in space-saving 20-pin DSBGA and 24-pad WQFN packages.

Subscribe to Welllinkchips !
Your Name
* Email
Submit a request