0
LMX2522
  • LMX2522
  • LMX2522

LMX2522

ACTIVE

PLLatinum dual frequency synthesizer system with integrated VCOs

Texas Instruments LMX2522 Product Info

1 April 2026 0

Parameters

Frequency (max) (MHz)

1649.62

Frequency (min) (MHz)

1619.62

Normalized PLL phase noise (dBc/Hz)

-138

Features

Integrated VCO

Current consumption (mA)

17

Integrated VCO

Yes

Operating temperature range (°C)

-30 to 85

Rating

Catalog

Lock time (µs) (typ) (s)

500

Package

WQFN (NJB)-28-25 mm² 5 x 5

Features

  • Small Size
    • Small 5.0 mm x 5.0 mm x 0.75 mm 28-Pin WQFN Package
  • RF/GPS Synthesizer System
    • Integrated RF VCO
    • Integrated GPS VCO
    • Integrated Loop Filter
    • Low Spurious, Low Phase Noise Fractional-N RF PLL Based on 11-bit Delta Sigma Modulator
    • 10 kHz Frequency Resolution
  • IF Synthesizer System
    • Integer-N IF PLL
    • Programmable Charge Pump Current Levels
    • Programmable Frequencies
  • Supports Various Reference Oscillator Frequencies
    • 19.20/19.68 MHz
  • Fast Lock Time: 500 µs
  • Low Current Consumption
    • 17 mA at 2.8 V
  • 2.7 V to 3.3 V Operation
  • Digital Filtered Lock Detect Output
  • Hardware and Software Power Down Control

All trademarks are the property of their respective owners.

  • Small Size
    • Small 5.0 mm x 5.0 mm x 0.75 mm 28-Pin WQFN Package
  • RF/GPS Synthesizer System
    • Integrated RF VCO
    • Integrated GPS VCO
    • Integrated Loop Filter
    • Low Spurious, Low Phase Noise Fractional-N RF PLL Based on 11-bit Delta Sigma Modulator
    • 10 kHz Frequency Resolution
  • IF Synthesizer System
    • Integer-N IF PLL
    • Programmable Charge Pump Current Levels
    • Programmable Frequencies
  • Supports Various Reference Oscillator Frequencies
    • 19.20/19.68 MHz
  • Fast Lock Time: 500 µs
  • Low Current Consumption
    • 17 mA at 2.8 V
  • 2.7 V to 3.3 V Operation
  • Digital Filtered Lock Detect Output
  • Hardware and Software Power Down Control

All trademarks are the property of their respective owners.

Description

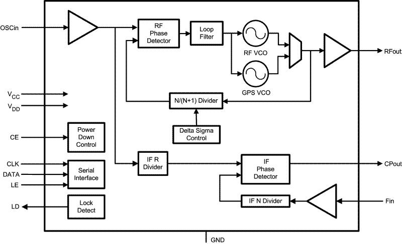
LMX2522 and LMX2532 are highly integrated, high performance, low power frequency synthesizer systems optimized for Korean PCS (K-PCS) with GPS and Korean Cellular (K-Cellular) with GPS, CDMA (1xRTT, IS-95) mobile handsets. Using a proprietary digital phase locked loop technique, LMX2522 and LMX2532 generate very stable, low noise local oscillator signals for up and down conversion in wireless communications devices.

LMX2522 and LMX2532 include a RF voltage controlled oscillator (VCO), a GPS VCO, a loop filter, and a fractional-N RF PLL based on a delta sigma modulator. In concert these blocks form a closed loop RF and GPS synthesizer system. LMX2522 supports the Korean PCS band with GPS and LMX2532 supports the Korean Cellular band with GPS.

LMX2522 and LMX2532 include an Integer-N IF PLL also. For more flexible loop filter designs, the IF PLL includes a 4-level programmable charge pump. Together with an external VCO and loop filter, LMX2522 and LMX2532 make a complete closed loop IF synthesizer system.

Serial data is transferred to the device via a three-wire MICROWIRE interface (DATA, LE, CLK).

Operating supply voltage ranges from 2.7 V to 3.3 V. LMX2502 and LMX2512 feature low current consumption: 17 mA at 2.8 V.

LMX2522 and LMX2532 are available in a 28-pin WQFN package.

LMX2522 and LMX2532 are highly integrated, high performance, low power frequency synthesizer systems optimized for Korean PCS (K-PCS) with GPS and Korean Cellular (K-Cellular) with GPS, CDMA (1xRTT, IS-95) mobile handsets. Using a proprietary digital phase locked loop technique, LMX2522 and LMX2532 generate very stable, low noise local oscillator signals for up and down conversion in wireless communications devices.

LMX2522 and LMX2532 include a RF voltage controlled oscillator (VCO), a GPS VCO, a loop filter, and a fractional-N RF PLL based on a delta sigma modulator. In concert these blocks form a closed loop RF and GPS synthesizer system. LMX2522 supports the Korean PCS band with GPS and LMX2532 supports the Korean Cellular band with GPS.

LMX2522 and LMX2532 include an Integer-N IF PLL also. For more flexible loop filter designs, the IF PLL includes a 4-level programmable charge pump. Together with an external VCO and loop filter, LMX2522 and LMX2532 make a complete closed loop IF synthesizer system.

Serial data is transferred to the device via a three-wire MICROWIRE interface (DATA, LE, CLK).

Operating supply voltage ranges from 2.7 V to 3.3 V. LMX2502 and LMX2512 feature low current consumption: 17 mA at 2.8 V.

LMX2522 and LMX2532 are available in a 28-pin WQFN package.

Subscribe to Welllinkchips !
Your Name
* Email
Submit a request