0
TLV197-Q1
  • TLV197-Q1
  • TLV197-Q1
  • TLV197-Q1

TLV197-Q1

ACTIVE

Automotive, single channel, high-voltage, precision, RRIO op amp

Texas Instruments TLV197-Q1 Product Info

1 April 2026 0

Parameters

Number of channels

1

Total supply voltage (+5 V = 5, ±5 V = 10) (max) (V)

36

Total supply voltage (+5 V = 5, ±5 V = 10) (min) (V)

4.5

Vos (offset voltage at 25°C) (max) (mV)

0.5

Offset drift (typ) (µV/°C)

1

Input bias current (max) (pA)

20

GBW (typ) (MHz)

10

Features

Cost Optimized, EMI Hardened, MUX Friendly, e-Trim™

Slew rate (typ) (V/µs)

20

Rail-to-rail

In, Out

Iq per channel (typ) (mA)

1

Vn at 1 kHz (typ) (nV√Hz)

5.5

CMRR (typ) (dB)

140

Rating

Automotive

Operating temperature range (°C)

-40 to 125

TI functional safety category

Functional Safety-Capable

Iout (typ) (A)

0.065

Architecture

CMOS

Input common mode headroom (to negative supply) (typ) (V)

-0.1

Input common mode headroom (to positive supply) (typ) (V)

0.1

Output swing headroom (to negative supply) (typ) (V)

0.095

Output swing headroom (to positive supply) (typ) (V)

0.095

THD + N at 1 kHz (typ) (%)

0.00008

Package

VSSOP (DGK)-8-14.7 mm² 3 x 4.9

Features

  • AEC-Q100 qualified for automotive applications:
    • Temperature grade 1: –40°C to +125°C, TA
  • Low offset voltage: ±500 µV (maximum)
  • Low noise: 5.5 nV/√Hz at 1 kHz
  • High common-mode rejection: 140 dB
  • Low bias current: ±5 pA
  • Rail-to-rail input and output
  • Wide bandwidth: 10-MHz GBW
  • High slew rate: 20 V/µs
  • Low quiescent current: 1 mA per amplifier
  • Wide supply: ±2.25 V to ±18 V, 4.5 V to 36 V
  • EMI/RFI filtered inputs
  • Differential input-voltage range to supply rail
  • High capacitive load drive capability: 1 nF
  • Industry-standard package:
    • Single channel in very small 8-pin VSSOP
    • Dual channel in 8-pin VSSOP
    • Quad channel in 14-pin TSSOP
  • AEC-Q100 qualified for automotive applications:
    • Temperature grade 1: –40°C to +125°C, TA
  • Low offset voltage: ±500 µV (maximum)
  • Low noise: 5.5 nV/√Hz at 1 kHz
  • High common-mode rejection: 140 dB
  • Low bias current: ±5 pA
  • Rail-to-rail input and output
  • Wide bandwidth: 10-MHz GBW
  • High slew rate: 20 V/µs
  • Low quiescent current: 1 mA per amplifier
  • Wide supply: ±2.25 V to ±18 V, 4.5 V to 36 V
  • EMI/RFI filtered inputs
  • Differential input-voltage range to supply rail
  • High capacitive load drive capability: 1 nF
  • Industry-standard package:
    • Single channel in very small 8-pin VSSOP
    • Dual channel in 8-pin VSSOP
    • Quad channel in 14-pin TSSOP

Description

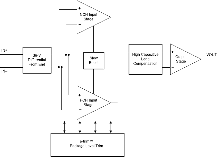
The TLV197-Q1, TLV2197-Q1 and TLV4197-Q1 (TLVx197-Q1) family of devices are part of a new generation, of low-cost, 36-V, automotive-qualified, operational amplifiers. The TLVx197-Q1 family uses a method of package-level trim for offset and offset temperature drift implemented during the final steps of manufacturing after the plastic molding process. This method minimizes the influence of inherent input transistor mismatch, as well as errors induced during package molding.

Good dc precision and ac performance including rail-to-rail input/output, an optimized cost structure, and AEC-Q100 grade 1 qualification, make this family an excellent choice for low-side current-sensing and signal-conditioning applications in the automotive space.

More unique features, such as a differential input-voltage range to the supply rail, a high output current (±65 mA), a heavy capacitive load drive of up to 1 nF, and a high slew rate (20 V/µs), make these devices a robust, high-performance operational amplifier family for high-voltage automotive applications.

The TLVx197-Q1 family of op amps is available in standard packages and is specified from –40°C to +125°C.

The TLV197-Q1, TLV2197-Q1 and TLV4197-Q1 (TLVx197-Q1) family of devices are part of a new generation, of low-cost, 36-V, automotive-qualified, operational amplifiers. The TLVx197-Q1 family uses a method of package-level trim for offset and offset temperature drift implemented during the final steps of manufacturing after the plastic molding process. This method minimizes the influence of inherent input transistor mismatch, as well as errors induced during package molding.

Good dc precision and ac performance including rail-to-rail input/output, an optimized cost structure, and AEC-Q100 grade 1 qualification, make this family an excellent choice for low-side current-sensing and signal-conditioning applications in the automotive space.

More unique features, such as a differential input-voltage range to the supply rail, a high output current (±65 mA), a heavy capacitive load drive of up to 1 nF, and a high slew rate (20 V/µs), make these devices a robust, high-performance operational amplifier family for high-voltage automotive applications.

The TLVx197-Q1 family of op amps is available in standard packages and is specified from –40°C to +125°C.

Subscribe to Welllinkchips !
Your Name
* Email
Submit a request