0
DS90UR124
  • DS90UR124
  • DS90UR124
  • DS90UR124

DS90UR124

ACTIVE

5-43MHz DC-Balanced 24-Bit FPD-Link II Deserializer

Texas Instruments DS90UR124 Product Info

1 April 2026 1

Parameters

Applications

In-vehicle Infotainment (IVI)

Input compatibility

FPD-Link LVDS

Function

Deserializer

Output compatibility

LVCMOS

Color depth (bpp)

18

Features

Low-EMI Point-to-Point Communication

EMI reduction

LVDS

Diagnostics

BIST

Rating

Catalog

Operating temperature range (°C)

-40 to 105

Package

TQFP (PAG)-64-144 mm² 12 x 12

Features

  • Supports displays with 18-bit color depth
  • 5MHz to 43MHz Pixel clock
  • Automotive-grade product AEC-Q100 grade 2 qualified
  • 24:1 Interface compression
  • Embedded clock with DC balancing supports AC-coupled data transmission
  • Capable to drive up to 10 meters shielded twisted-pair cable
  • No reference clock required (deserializer)
  • Meets ISO 10605 ESD – greater than 8kV HBM ESD structure
  • Hot plug support
  • EMI reduction – serializer accepts spread spectrum input; data randomization and shuffling on serial link; deserializer provides adjustable PTO (Progressive Turnon) LVCMOS outputs
  • @Speed BIST (Built-In Self-Test) to validate LVDS transmission path
  • Individual power-down controls for both transmitter and receiver
  • Power supply range 3.3V ±10%
  • 48-pin TQFP package for transmitter and 64-pin TQFP package for receiver
  • Temperature range: –40°C to 105°C
  • Backward-compatible mode with DS90C241/DS90C124
  • Supports displays with 18-bit color depth
  • 5MHz to 43MHz Pixel clock
  • Automotive-grade product AEC-Q100 grade 2 qualified
  • 24:1 Interface compression
  • Embedded clock with DC balancing supports AC-coupled data transmission
  • Capable to drive up to 10 meters shielded twisted-pair cable
  • No reference clock required (deserializer)
  • Meets ISO 10605 ESD – greater than 8kV HBM ESD structure
  • Hot plug support
  • EMI reduction – serializer accepts spread spectrum input; data randomization and shuffling on serial link; deserializer provides adjustable PTO (Progressive Turnon) LVCMOS outputs
  • @Speed BIST (Built-In Self-Test) to validate LVDS transmission path
  • Individual power-down controls for both transmitter and receiver
  • Power supply range 3.3V ±10%
  • 48-pin TQFP package for transmitter and 64-pin TQFP package for receiver
  • Temperature range: –40°C to 105°C
  • Backward-compatible mode with DS90C241/DS90C124

Description

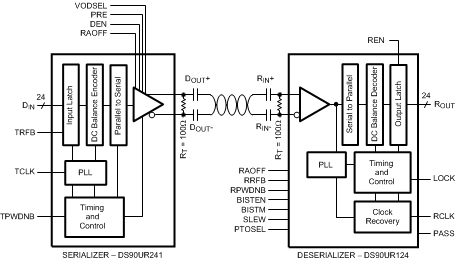
The DS90URxxx-Q1 chipset translates a 24-bit parallel bus into a fully transparent data/control FPD-Link II LVDS serial stream with embedded clock information. This chipset is designed for driving graphical data to displays requiring 18-bit color depth: RGB666 + HS, VS, DE + three additional general-purpose data channels. This single serial stream simplifies transferring a 24-bit bus over PCB traces and cable by eliminating the skew problems between parallel data and clock paths. The device saves system cost by narrowing data paths that in turn reduce PCB layers, cable width, and connector size and pins.

The DS90URxxx-Q1 incorporates FPD-Link II LVDS signaling on the high-speed I/O. FPD-Link II LVDS provides a low-power and low-noise environment for reliably transferring data over a serial transmission path. By optimizing the Serializer output edge rate for the operating frequency range, EMI is further reduced.

In addition, the device features pre-emphasis to boost signals over longer distances using lossy cables. Internal DC-balanced encoding and decoding is used to support AC-coupled interconnects. Using TI’s proprietary random lock, the parallel data of the Serializer are randomized to the Deserializer without the need of REFCLK.

The DS90URxxx-Q1 chipset translates a 24-bit parallel bus into a fully transparent data/control FPD-Link II LVDS serial stream with embedded clock information. This chipset is designed for driving graphical data to displays requiring 18-bit color depth: RGB666 + HS, VS, DE + three additional general-purpose data channels. This single serial stream simplifies transferring a 24-bit bus over PCB traces and cable by eliminating the skew problems between parallel data and clock paths. The device saves system cost by narrowing data paths that in turn reduce PCB layers, cable width, and connector size and pins.

The DS90URxxx-Q1 incorporates FPD-Link II LVDS signaling on the high-speed I/O. FPD-Link II LVDS provides a low-power and low-noise environment for reliably transferring data over a serial transmission path. By optimizing the Serializer output edge rate for the operating frequency range, EMI is further reduced.

In addition, the device features pre-emphasis to boost signals over longer distances using lossy cables. Internal DC-balanced encoding and decoding is used to support AC-coupled interconnects. Using TI’s proprietary random lock, the parallel data of the Serializer are randomized to the Deserializer without the need of REFCLK.

Subscribe to Welllinkchips !
Your Name
* Email
Submit a request