0
DS90UH949A-Q1
  • DS90UH949A-Q1
  • DS90UH949A-Q1

DS90UH949A-Q1

ACTIVE

2K DSI to FPD-Link III Serializer with HDCP

Texas Instruments DS90UH949A-Q1 Product Info

1 April 2026 0

Parameters

Applications

In-vehicle Infotainment (IVI)

Input compatibility

HDMI

Function

Serializer

Output compatibility

FPD-Link III LVDS

Color depth (bpp)

24

Features

HDCP

Signal conditioning

Adaptive Equalizer

EMI reduction

SSC Compatible

Diagnostics

BIST

Rating

Automotive

Operating temperature range (°C)

-40 to 105

Package

VQFN (RGC)-64-81 mm² 9 x 9

Features

  • AEC-Q100 Qualified For Automotive Applications:
    • Device Temperature Grade 2: –40°C to 105°C Ambient Operating Temperature Range
    • Device HBM ESD Classification Level 2
    • Device CDM ESD Classification Level C5
  • Supports TMDS Clock up to 210 MHz for 2K (2880x1080) Resolutions With 24-Bit Color Depth
  • Single and Dual FPD-Link III Outputs, Supports STP or STQ Cables
  • High-Definition Multimedia (HDMI) v1.4b Compatible Inputs
  • HDMI-Mode DisplayPort (DP++) Inputs
  • Integrated HDCP v1.4 Cipher Engine With On-Chip Key Storage
  • HDMI Audio Extraction for up to 8 Channels
  • High-Speed Back Channel Supporting GPIO up to 2 Mbps
  • Tracks Spread Spectrum Input Clock to Reduce EMI
  • I2C (Master/Slave) With 1-Mbps Fast-Mode Plus
  • SPI Pass-Through Interface
  • Backward Compatible With DS90UH926Q-Q1 and DS90UH928Q-Q1 FPD-Link III Deserializers
  • AEC-Q100 Qualified For Automotive Applications:
    • Device Temperature Grade 2: –40°C to 105°C Ambient Operating Temperature Range
    • Device HBM ESD Classification Level 2
    • Device CDM ESD Classification Level C5
  • Supports TMDS Clock up to 210 MHz for 2K (2880x1080) Resolutions With 24-Bit Color Depth
  • Single and Dual FPD-Link III Outputs, Supports STP or STQ Cables
  • High-Definition Multimedia (HDMI) v1.4b Compatible Inputs
  • HDMI-Mode DisplayPort (DP++) Inputs
  • Integrated HDCP v1.4 Cipher Engine With On-Chip Key Storage
  • HDMI Audio Extraction for up to 8 Channels
  • High-Speed Back Channel Supporting GPIO up to 2 Mbps
  • Tracks Spread Spectrum Input Clock to Reduce EMI
  • I2C (Master/Slave) With 1-Mbps Fast-Mode Plus
  • SPI Pass-Through Interface
  • Backward Compatible With DS90UH926Q-Q1 and DS90UH928Q-Q1 FPD-Link III Deserializers

Description

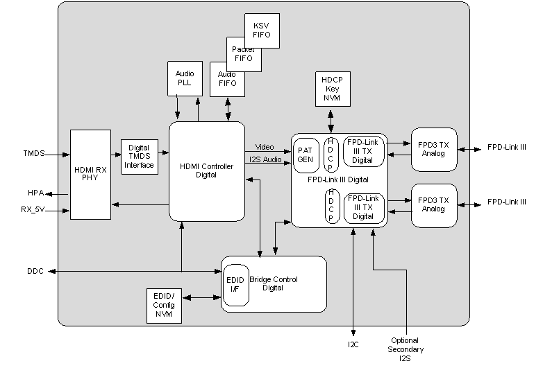
The DS90UH949A-Q1 is a HDMI-to-FPD-Link III bridge device which, paired with the FPD-Link III DS90UH940A-Q1/DS90UH948A-Q1 deserializers, supplies 1-lane or 2-lane high-speed serial streams over cost-effective 50-Ω single-ended coaxial, or 100-Ω differential shielded twisted-pair (STP) and shielded twisted quad (STQ) cables. The device can serialize a HDMI v1.4b input to support video resolutions up to 2K with 24-bit color depth.

The FPD-Link III interface supports video and audio data transmission and full duplex control, including I2C and SPI communication, over the same differential link. Consolidation of video data and control over two differential pairs can decrease the interconnect size and weight and simplifies system design. EMI is minimized by the use of low voltage differential signaling, data scrambling, and randomization. In backward-compatible mode, the device supports up to 1080p for 94x deserializers and 720p for 92x deserializers with 24-bit color depth over a single differential link.

The DS90UH949A-Q1 supports HDCP Repeater applications where all authentication and encryption functions are handled without the need for an external controller. HDMI audio and video data are decrypted at the input and re-encrypted before the data is sent to the FPD-Link III interface.

The DS90UH949A-Q1 supports multi-channel audio received through HDMI or an external I2S interface. The device also has an optional auxiliary audio interface.

The DS90UH949A-Q1 is a HDMI-to-FPD-Link III bridge device which, paired with the FPD-Link III DS90UH940A-Q1/DS90UH948A-Q1 deserializers, supplies 1-lane or 2-lane high-speed serial streams over cost-effective 50-Ω single-ended coaxial, or 100-Ω differential shielded twisted-pair (STP) and shielded twisted quad (STQ) cables. The device can serialize a HDMI v1.4b input to support video resolutions up to 2K with 24-bit color depth.

The FPD-Link III interface supports video and audio data transmission and full duplex control, including I2C and SPI communication, over the same differential link. Consolidation of video data and control over two differential pairs can decrease the interconnect size and weight and simplifies system design. EMI is minimized by the use of low voltage differential signaling, data scrambling, and randomization. In backward-compatible mode, the device supports up to 1080p for 94x deserializers and 720p for 92x deserializers with 24-bit color depth over a single differential link.

The DS90UH949A-Q1 supports HDCP Repeater applications where all authentication and encryption functions are handled without the need for an external controller. HDMI audio and video data are decrypted at the input and re-encrypted before the data is sent to the FPD-Link III interface.

The DS90UH949A-Q1 supports multi-channel audio received through HDMI or an external I2S interface. The device also has an optional auxiliary audio interface.

Subscribe to Welllinkchips !
Your Name
* Email
Submit a request