0
DS90UB953A-Q1
  • DS90UB953A-Q1
  • DS90UB953A-Q1
  • DS90UB953A-Q1

DS90UB953A-Q1

ACTIVE

FPD-Link III 4.16-Gbps serializer with CSI-2 interface

Texas Instruments DS90UB953A-Q1 Product Info

1 April 2026 0

Parameters

Applications

Advanced Driver Assistance Systems (ADAS)

Input compatibility

MIPI CSI-2

Function

Serializer

Output compatibility

FPD-Link III LVDS

Color depth (bpp)

12

Features

Dedicated GPIO

Signal conditioning

Adaptive Equalizer

EMI reduction

LVDS

Diagnostics

BIST

Rating

Automotive

Operating temperature range (°C)

-40 to 125

TI functional safety category

Functional Safety-Capable

Package

VQFN (RHB)-32-25 mm² 5 x 5

Features

  • AEC-Q100 (Grade 1) qualified for automotive applications:
    • Device temperature: –40°C to +125°C ambient operating temperature
  • ISO 10605 and IEC 61000-4-2 ESD compliant
  • Power-over-Coax (PoC) compatible transceiver
  • 4.16Gbps grade serializer supports high-speed sensors including full HD 1080p 2.3MP 60fps and 4MP 30fps imagers
  • D-PHY v1.2 and CSI-2 v1.3 compliant system interface
    • Up to 4 data lanes at 832Mbps per each lane
    • Supports up to four virtual channels
  • Precision multi-camera clocking and synchronization
  • Flexible programmable output clock generator
  • Advanced data protection and diagnostics including CRC data protection, sensor data integrity check, I2C write protection, voltage and temperature measurement, programmable alarm, and line fault detection
  • Supports Single-ended coaxial or shielded-twisted-pair (STP) cable
  • Ultra-low latency bidirectional I2C and GPIO control channel enables ISP control from ECU
  • Single 1.8V power supply
  • Low (0.28W typical) power consumption
  • Functional Safety-Capable
    • Documentation available to aid ISO 26262 system design

  • Compatible with DS90UB954-Q1, DS90UB964-Q1, DS90UB962-Q1, DS90UB936-Q1, DS90UB960-Q1, DS90UB934-Q1, and DS90UB914A-Q1 deserializers
  • Pin compatible with FPD-Link IV: DS90UB971-Q1 and FPD-Link III: DS90UB953-Q1, DS90UB935-Q1, DS90UB951-Q1 serializers
  • AEC-Q100 (Grade 1) qualified for automotive applications:
    • Device temperature: –40°C to +125°C ambient operating temperature
  • ISO 10605 and IEC 61000-4-2 ESD compliant
  • Power-over-Coax (PoC) compatible transceiver
  • 4.16Gbps grade serializer supports high-speed sensors including full HD 1080p 2.3MP 60fps and 4MP 30fps imagers
  • D-PHY v1.2 and CSI-2 v1.3 compliant system interface
    • Up to 4 data lanes at 832Mbps per each lane
    • Supports up to four virtual channels
  • Precision multi-camera clocking and synchronization
  • Flexible programmable output clock generator
  • Advanced data protection and diagnostics including CRC data protection, sensor data integrity check, I2C write protection, voltage and temperature measurement, programmable alarm, and line fault detection
  • Supports Single-ended coaxial or shielded-twisted-pair (STP) cable
  • Ultra-low latency bidirectional I2C and GPIO control channel enables ISP control from ECU
  • Single 1.8V power supply
  • Low (0.28W typical) power consumption
  • Functional Safety-Capable
    • Documentation available to aid ISO 26262 system design

  • Compatible with DS90UB954-Q1, DS90UB964-Q1, DS90UB962-Q1, DS90UB936-Q1, DS90UB960-Q1, DS90UB934-Q1, and DS90UB914A-Q1 deserializers
  • Pin compatible with FPD-Link IV: DS90UB971-Q1 and FPD-Link III: DS90UB953-Q1, DS90UB935-Q1, DS90UB951-Q1 serializers

Description

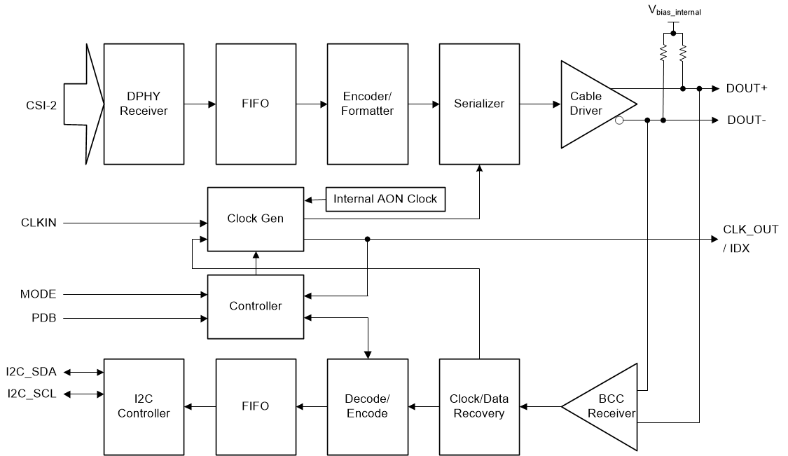
The DS90UB953A-Q1 serializer is part of TI’s FPD-Link III device family designed to support high-speed raw data sensors including 2.3MP imagers at 60fps and as well as 4MP, 30fps cameras, satellite RADAR, LIDAR, and Time-of-Flight (ToF) sensors. The device is fully AEC-Q100 (Grade 1) qualified with a –40°C to 125°C wide temperature range. The higher temperature enables more compact/flexible sensor module design for any small camera application. The chip delivers a 4.16Gbps forward channel and an ultra-low latency, 50Mbps bidirectional control channel and supports power over a single coax (PoC) or STP cable. The DS90UB953A-Q1 features advanced data protection and diagnostic features to support ADAS and autonomous driving. Together with a companion deserializer, the DS90UB953A-Q1 delivers precise multi-camera sensor clock and sensor synchronization.

The DS90UB953A-Q1 serializer is part of TI’s FPD-Link III device family designed to support high-speed raw data sensors including 2.3MP imagers at 60fps and as well as 4MP, 30fps cameras, satellite RADAR, LIDAR, and Time-of-Flight (ToF) sensors. The device is fully AEC-Q100 (Grade 1) qualified with a –40°C to 125°C wide temperature range. The higher temperature enables more compact/flexible sensor module design for any small camera application. The chip delivers a 4.16Gbps forward channel and an ultra-low latency, 50Mbps bidirectional control channel and supports power over a single coax (PoC) or STP cable. The DS90UB953A-Q1 features advanced data protection and diagnostic features to support ADAS and autonomous driving. Together with a companion deserializer, the DS90UB953A-Q1 delivers precise multi-camera sensor clock and sensor synchronization.

Subscribe to Welllinkchips !
Your Name
* Email
Submit a request