0
DP83640
  • DP83640
  • DP83640

DP83640

ACTIVE

IEEE 1588 precision-time protocol (PTP) Ethernet PHY transceiver

Texas Instruments DP83640 Product Info

1 April 2026 0

Parameters

Datarate (Mbps)

10/100

Interface type

MII, RMII

Rating

Catalog

Number of ports

Single

Features

Cable diagnostics, FX support, IEEE 1588 PTP, JTAG1149.1

Supply voltage (V)

3.3

I/O supply voltage (typ) (V)

2.5, 3.3

Operating temperature range (°C)

-40 to 85

Number of LEDs

3

ESD HBM (kV)

8

Package

LQFP (PT)-48-81 mm² 9 x 9

Features

  • IEEE 1588 V1 and V2 Supported
  • UDP/IPv4, UDP/IPv6, and Layer2 Ethernet
    Packets Supported
  • IEEE 1588 Clock Synchronization
  • Timestamp Resolution of 8 ns
  • Allows Sub 10-ns Synchronization to Master
    Reference
  • 12 IEEE 1588 GPIOs for Trigger or Capture
  • Deterministic, Low Transmit and Receive Latency
  • Selectable Frequency Synchronized Clock Output
  • Dynamic Link Quality Monitoring
  • TDR Based Cable Diagnostic and Cable Length
    Detection
  • 10/100 Mb/s Packet BIST (Built-in Self Test)
  • Error-Free Operation up to 150 Meters CAT5
    Cable
  • ESD Protection – 8 kV Human Body Model
  • 2.5-V and 3.3-V I/Os and MAC Interface
  • Auto-MDIX for 10/100 Mbps
  • RMII Rev. 1.2 and MII MAC Interface
  • 25-MHz MDC and MDIO Serial Management Interface
  • IEEE 802.3 100BASE-FX Fiber Interface
  • IEEE 1149.1 JTAG
  • Programmable LED Support for Link, 10/100 Mb/s
    Mode, Duplex, Activity, and Collision Detect
  • Optional 100BASE-TX Fast Link-loss Detection
  • Industrial Temperature Range
  • 48-pin LQFP Package (7 mm × 7 mm)
  • IEEE 1588 V1 and V2 Supported
  • UDP/IPv4, UDP/IPv6, and Layer2 Ethernet
    Packets Supported
  • IEEE 1588 Clock Synchronization
  • Timestamp Resolution of 8 ns
  • Allows Sub 10-ns Synchronization to Master
    Reference
  • 12 IEEE 1588 GPIOs for Trigger or Capture
  • Deterministic, Low Transmit and Receive Latency
  • Selectable Frequency Synchronized Clock Output
  • Dynamic Link Quality Monitoring
  • TDR Based Cable Diagnostic and Cable Length
    Detection
  • 10/100 Mb/s Packet BIST (Built-in Self Test)
  • Error-Free Operation up to 150 Meters CAT5
    Cable
  • ESD Protection – 8 kV Human Body Model
  • 2.5-V and 3.3-V I/Os and MAC Interface
  • Auto-MDIX for 10/100 Mbps
  • RMII Rev. 1.2 and MII MAC Interface
  • 25-MHz MDC and MDIO Serial Management Interface
  • IEEE 802.3 100BASE-FX Fiber Interface
  • IEEE 1149.1 JTAG
  • Programmable LED Support for Link, 10/100 Mb/s
    Mode, Duplex, Activity, and Collision Detect
  • Optional 100BASE-TX Fast Link-loss Detection
  • Industrial Temperature Range
  • 48-pin LQFP Package (7 mm × 7 mm)

Description

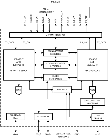
The DP83640 Precision PHYTER™ device delivers the highest level of precision clock synchronization for real time industrial connectivity based on the IEEE 1588 standard. The DP83640 has deterministic, low latency and allows choice of microcontroller with no hardware customization required. The integrated 1588 functionality allows system designers the flexibility and precision of a close to the wire timestamp. The three key 1588 features supported by the device are:

  • Packet time stamps for clock synchronization
  • Integrated IEEE 1588 synchronized clock generation
  • Synchronized event triggering and time stamping through GPIO

DP83640 offers innovative diagnostic features unique to Texas Instruments, including dynamic monitoring of link quality during standard operation for fault prediction. These advanced features allow the system designer to implement a fault prediction mechanism to detect and warn of deteriorating and changing link conditions. This single port fast Ethernet transceiver can support both copper and fiber media.

The DP83640 Precision PHYTER™ device delivers the highest level of precision clock synchronization for real time industrial connectivity based on the IEEE 1588 standard. The DP83640 has deterministic, low latency and allows choice of microcontroller with no hardware customization required. The integrated 1588 functionality allows system designers the flexibility and precision of a close to the wire timestamp. The three key 1588 features supported by the device are:

  • Packet time stamps for clock synchronization
  • Integrated IEEE 1588 synchronized clock generation
  • Synchronized event triggering and time stamping through GPIO

DP83640 offers innovative diagnostic features unique to Texas Instruments, including dynamic monitoring of link quality during standard operation for fault prediction. These advanced features allow the system designer to implement a fault prediction mechanism to detect and warn of deteriorating and changing link conditions. This single port fast Ethernet transceiver can support both copper and fiber media.

Subscribe to Welllinkchips !
Your Name
* Email
Submit a request