0
CDCP1803
  • CDCP1803
  • CDCP1803

CDCP1803

ACTIVE

1:3 LVPECL clock buffer with programable divider

Texas Instruments CDCP1803 Product Info

1 April 2026 0

Parameters

Number of outputs

3

Additive RMS jitter (typ) (fs)

150

Core supply voltage (V)

3.3

Output supply voltage (V)

3.3

Output skew (ps)

15

Operating temperature range (°C)

-40 to 85

Rating

Catalog

Output type

LVPECL

Input type

LVPECL

Package

VQFN (RGE)-24-16 mm² 4 x 4

Features

  • Distributes One Differential Clock Input to Three LVPECL Differential Clock Outputs
  • Programmable Output Divider for Two LVPECL Outputs
  • Low-Output Skew 15 ps (Typical)
  • VCC Range 3 V–3.6 V
  • Signaling Rate Up to 800-MHz LVPECL
  • Differential Input Stage for Wide Common-Mode Range
  • Provides VBB Bias Voltage Output for Single-Ended Input Signals
  • Receiver Input Threshold ±75 mV
  • 24-Terminal QFN Package (4 mm × 4 mm)
  • Accepts Any Differential Signaling:
    LVDS, HSTL, CML, VML, SSTL-2, and
    Single-Ended: LVTTL/LVCMOS

  • Distributes One Differential Clock Input to Three LVPECL Differential Clock Outputs
  • Programmable Output Divider for Two LVPECL Outputs
  • Low-Output Skew 15 ps (Typical)
  • VCC Range 3 V–3.6 V
  • Signaling Rate Up to 800-MHz LVPECL
  • Differential Input Stage for Wide Common-Mode Range
  • Provides VBB Bias Voltage Output for Single-Ended Input Signals
  • Receiver Input Threshold ±75 mV
  • 24-Terminal QFN Package (4 mm × 4 mm)
  • Accepts Any Differential Signaling:
    LVDS, HSTL, CML, VML, SSTL-2, and
    Single-Ended: LVTTL/LVCMOS

Description

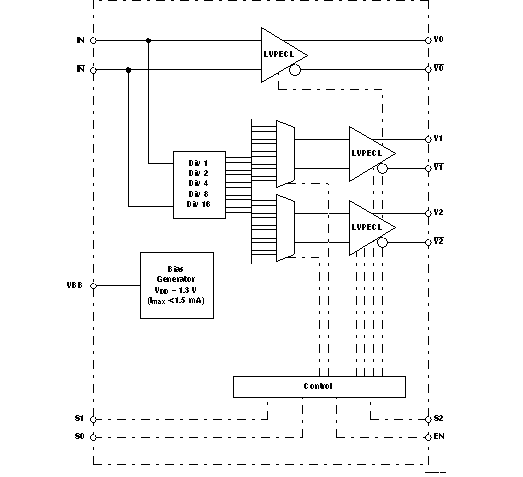
The CDCP1803 clock driver distributes one pair of differential clock inputs to three pairs of LVPECL differential clock outputs Y[2:0] and Y[2:0] with minimum skew for clock distribution. The CDCP1803 is specifically designed for driving 50-Ω transmission lines.

The CDCP1803 has three control terminals, S0, S1, and S2, to select different output mode settings; see for details. The CDCP1803 is characterized for operation from –40°C to 85°C. For use in single-ended driver applications, the CDCP1803 also provides a VBB output terminal that can be directly connected to the unused input as a common-mode voltage reference.

The CDCP1803 clock driver distributes one pair of differential clock inputs to three pairs of LVPECL differential clock outputs Y[2:0] and Y[2:0] with minimum skew for clock distribution. The CDCP1803 is specifically designed for driving 50-Ω transmission lines.

The CDCP1803 has three control terminals, S0, S1, and S2, to select different output mode settings; see for details. The CDCP1803 is characterized for operation from –40°C to 85°C. For use in single-ended driver applications, the CDCP1803 also provides a VBB output terminal that can be directly connected to the unused input as a common-mode voltage reference.