0
ALM2402F-Q1
  • ALM2402F-Q1
  • ALM2402F-Q1

ALM2402F-Q1

ACTIVE

High output current operational amplifier for automotive, dual channel

Texas Instruments ALM2402F-Q1 Product Info

1 April 2026 0

Parameters

Number of channels

2

Total supply voltage (+5 V = 5, ±5 V = 10) (min) (V)

4.5

Total supply voltage (+5 V = 5, ±5 V = 10) (max) (V)

16

Iout (typ) (A)

0.4

GBW (typ) (MHz)

2.1

Slew rate (typ) (V/µs)

3.4

Vos (offset voltage at 25°C) (max) (mV)

7

Offset drift (typ) (V/°C)

0.000065

Iq per channel (typ) (mA)

4

Features

Adj Current Limit, EMI Hardened, High Cload Drive, Shutdown

Rating

Automotive

Operating temperature range (°C)

-40 to 125

TI functional safety category

Functional Safety-Capable

Input bias current (max) (pA)

15

CMRR (typ) (dB)

97

Rail-to-rail

Out

Architecture

Bipolar

Package

HTSSOP (PWP)-14-32 mm² 5 x 6.4

Features

  • AEC-Q100 qualified for automotive applications:
    • Temperature grade 1: –40°C to +125°C, TA
  • Functional-Safety Capable
  • Low offset voltage: 1 mV (typical)
  • High output current drive: 400 mA, continuous (per channel)
    • Replaces discrete op amps and transistors
  • Wide supply range for both supplies (up to 16 V)
  • Overtemperature shutdown
  • Current limit
  • Shutdown pin for low IQ applications
  • Stable with large capacitive loads
  • 2-MHz gain bandwidth with 3.4-V/µs slew rate
  • Internal RF/EMI filter
  • Package: 14-pin HTSSOP (PWP)
  • AEC-Q100 qualified for automotive applications:
    • Temperature grade 1: –40°C to +125°C, TA
  • Functional-Safety Capable
  • Low offset voltage: 1 mV (typical)
  • High output current drive: 400 mA, continuous (per channel)
    • Replaces discrete op amps and transistors
  • Wide supply range for both supplies (up to 16 V)
  • Overtemperature shutdown
  • Current limit
  • Shutdown pin for low IQ applications
  • Stable with large capacitive loads
  • 2-MHz gain bandwidth with 3.4-V/µs slew rate
  • Internal RF/EMI filter
  • Package: 14-pin HTSSOP (PWP)

Description

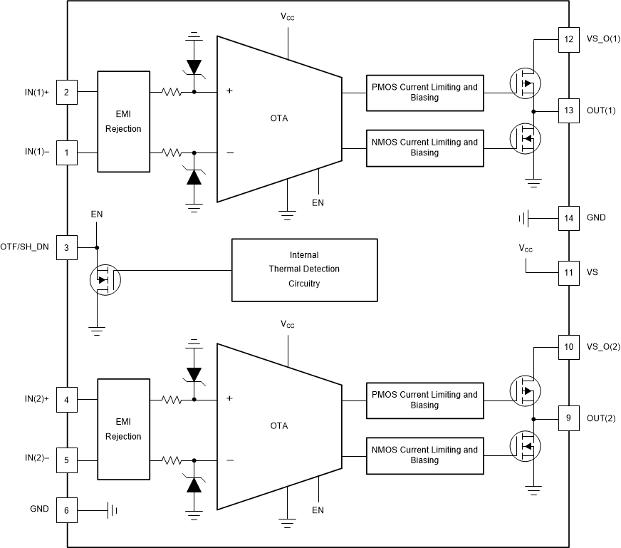
The ALM2402F-Q1 is a dual-power op amp with features and performance that make this device preferable for resolver-based automotive applications. The high gain bandwidth and slew rate of the device, along with a continuous high-output current-drive capability, make this device an excellent choice to provide a low distortion and differential high amplitude excitation required for modern resolvers. Current limiting and overtemperature detection enhance overall system robustness when driving analog signals over wires that are susceptible to faults.

The ALM2402F-Q1 rail-to-rail output, enabled by the low Rds(on) PMOS and NMOS transistors, keeps the power dissipation low. The small HTSSOP package with thermal pad and low RθJA allows users to deliver high currents to loads while minimizing board space. This minimized board space is one of the key advantages offered by the ALM2402F-Q1 when used in modern hybrid and electric vehicles.

The ALM2402F-Q1 maximum output voltage is determined using the Maximum Output Voltage vs Frequency plot at the bottom of this page.

The ALM2402F-Q1 is a dual-power op amp with features and performance that make this device preferable for resolver-based automotive applications. The high gain bandwidth and slew rate of the device, along with a continuous high-output current-drive capability, make this device an excellent choice to provide a low distortion and differential high amplitude excitation required for modern resolvers. Current limiting and overtemperature detection enhance overall system robustness when driving analog signals over wires that are susceptible to faults.

The ALM2402F-Q1 rail-to-rail output, enabled by the low Rds(on) PMOS and NMOS transistors, keeps the power dissipation low. The small HTSSOP package with thermal pad and low RθJA allows users to deliver high currents to loads while minimizing board space. This minimized board space is one of the key advantages offered by the ALM2402F-Q1 when used in modern hybrid and electric vehicles.

The ALM2402F-Q1 maximum output voltage is determined using the Maximum Output Voltage vs Frequency plot at the bottom of this page.

Subscribe to Welllinkchips !
Your Name
* Email
Submit a request