0
ADS4149
  • ADS4149
  • ADS4149

ADS4149

ACTIVE

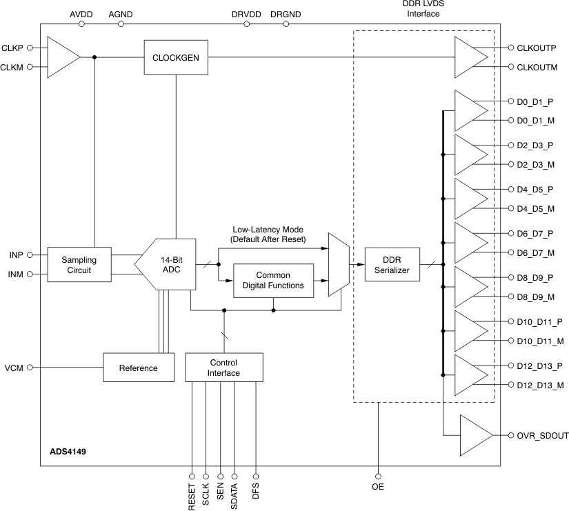
14-Bit, 250-MSPS Analog-to-Digital Converter (ADC)

Texas Instruments ADS4149 Product Info

1 April 2026 0

Parameters

Sample rate (max) (Msps)

250

Resolution (Bits)

14

Number of input channels

1

Interface type

DDR LVDS, Parallel CMOS

Analog input BW (MHz)

800

Features

Low Power

Rating

Catalog

Peak-to-peak input voltage range (V)

2

Power consumption (typ) (mW)

265

Architecture

Pipeline

SNR (dB)

72.2

ENOB (Bits)

11.5

SFDR (dB)

88

Operating temperature range (°C)

-40 to 85

Input buffer

No

Package

VQFN (RGZ)-48-49 mm² 7 x 7

Features

  • Maximum Sample Rate: 250MSPS
  • Ultralow Power with 1.8V Single Supply:
    • 201mW Total Power at 160MSPS
    • 265mW Total Power at 250MSPS
  • High Dynamic Performance:
    • SNR: 70.6dBFS at 170MHz
    • SFDR: 84dBc at 170MHz
  • Dynamic Power Scaling with Sample Rate
  • Output Interface:
    • Double Data Rate (DDR) LVDS with Programmable Swing and Strength
      • Standard Swing: 350mV
      • Low Swing: 200mV
      • Default Strength: 100Ω Termination
      • 2x Strength: 50Ω Termination
    • 1.8V Parallel CMOS Interface Also Supported
  • Programmable Gain up to 6dB for SNR/SFDR Trade-Off
  • DC Offset Correction
  • Supports Low Input Clock Amplitude Down To 200mVPP
  • Package: QFN-48 (7mm × 7mm)

PowerPAD is a trademark of Texas Instruments Incorporated.
All other trademarks are the property of their respective owners.

  • Maximum Sample Rate: 250MSPS
  • Ultralow Power with 1.8V Single Supply:
    • 201mW Total Power at 160MSPS
    • 265mW Total Power at 250MSPS
  • High Dynamic Performance:
    • SNR: 70.6dBFS at 170MHz
    • SFDR: 84dBc at 170MHz
  • Dynamic Power Scaling with Sample Rate
  • Output Interface:
    • Double Data Rate (DDR) LVDS with Programmable Swing and Strength
      • Standard Swing: 350mV
      • Low Swing: 200mV
      • Default Strength: 100Ω Termination
      • 2x Strength: 50Ω Termination
    • 1.8V Parallel CMOS Interface Also Supported
  • Programmable Gain up to 6dB for SNR/SFDR Trade-Off
  • DC Offset Correction
  • Supports Low Input Clock Amplitude Down To 200mVPP
  • Package: QFN-48 (7mm × 7mm)

PowerPAD is a trademark of Texas Instruments Incorporated.
All other trademarks are the property of their respective owners.

Description

The ADS412x/4x are a family of 12-bit/14-bit analog-to-digital converters (ADCs) with sampling rates up to 250MSPS. These devices use innovative design techniques to achieve high dynamic performance, while consuming extremely low power at 1.8V supply. The devices are well-suited for multi-carrier, wide bandwidth communications applications.

The ADS412x/4x have fine gain options that can be used to improve SFDR performance at lower full-scale input ranges, especially at high input frequencies. They include a dc offset correction loop that can be used to cancel the ADC offset. At lower sampling rates, the ADC automatically operates at scaled down power with no loss in performance.

The ADS412x/4x are available in a compact QFN-48 package and are specified over the industrial temperature range (–40°C to +85°C)

The ADS412x/4x are a family of 12-bit/14-bit analog-to-digital converters (ADCs) with sampling rates up to 250MSPS. These devices use innovative design techniques to achieve high dynamic performance, while consuming extremely low power at 1.8V supply. The devices are well-suited for multi-carrier, wide bandwidth communications applications.

The ADS412x/4x have fine gain options that can be used to improve SFDR performance at lower full-scale input ranges, especially at high input frequencies. They include a dc offset correction loop that can be used to cancel the ADC offset. At lower sampling rates, the ADC automatically operates at scaled down power with no loss in performance.

The ADS412x/4x are available in a compact QFN-48 package and are specified over the industrial temperature range (–40°C to +85°C)

Subscribe to Welllinkchips !
Your Name
* Email
Submit a request